TOP
|
特許
|
意匠
|
商標
特許ウォッチ
Twitter
他の特許を見る
公開番号
2025140813
公報種別
公開特許公報(A)
公開日
2025-09-29
出願番号
2024040404
出願日
2024-03-14
発明の名称
センサ一体型電磁誘導ケーブル及び電磁誘導システム
出願人
積水化学工業株式会社
代理人
個人
,
個人
,
個人
,
個人
主分類
G08C
17/00 20060101AFI20250919BHJP(信号)
要約
【課題】自動運転システムに供される電磁誘導ケーブルに、道路上の移動体検知能力を付加したセンサ一体型電磁誘導ケーブルを提供する。
【解決手段】長尺の本体と、1本以上の光ファイバと、1本以上の電磁誘導線と、1本以上のテンションメンバと、を有し、前記光ファイバ、前記電磁誘導線及びテンションメンバは、互いに離間して前記本体の内部に位置し、かつ前記本体の長手方向に延びていることよりなる。前記テンションメンバを2本以上有し、前記光ファイバと、前記電磁誘導線とは、任意のテンションメンバと他の任意のテンションメンバとの間に位置することが好ましい。
【選択図】図1
特許請求の範囲
【請求項1】
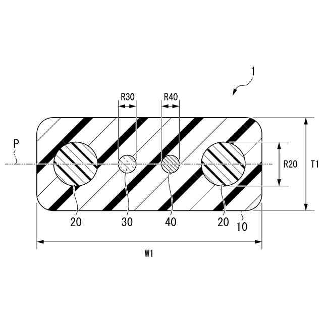
長尺の本体と、1本以上の光ファイバと、1本以上の電磁誘導線とを有し、
前記光ファイバ及び前記電磁誘導線は、互いに離間して前記本体の内部に位置し、かつ前記本体の長手方向に延びている、センサ一体型電磁誘導ケーブル。
続きを表示(約 490 文字)
【請求項2】
さらに、1本以上のテンションメンバを有し、
前記テンションメンバは、前記光ファイバ及び前記電磁誘導線と離間して、前記本体の内部に位置し、かつ前記本体の長手方向に延びている、請求項1に記載のセンサ一体型電磁誘導ケーブル。
【請求項3】
前記テンションメンバを2本以上有し、
前記光ファイバと、前記電磁誘導線とは、任意の前記テンションメンバと他の任意の前記テンションメンバとの間に位置する、請求項2に記載のセンサ一体型電磁誘導ケーブル。
【請求項4】
前記任意のテンションメンバと、前記他の任意のテンションメンバと、これらのテンションメンバの間に位置する前記光ファイバ及び前記電磁誘導線とは、断面視において直線上に並ぶ、請求項3に記載のセンサ一体型電磁誘導ケーブル。
【請求項5】
電磁誘導システム用である、請求項1~4いずれか一項に記載のセンサ一体型電磁誘導ケーブル。
【請求項6】
請求項1~4のいずれか一項に記載のセンサ一体型電磁誘導ケーブルを有する、電磁誘導システム。
発明の詳細な説明
【技術分野】
【0001】
本発明は、センサ一体型電磁誘導ケーブル及び電磁誘導システムに関する。
続きを表示(約 1,600 文字)
【背景技術】
【0002】
近年、光ファイバを使用する分布型振動/音響センシング(DAS)装置を用いたシステムが実用化されている。例えば、道路沿いに埋設された既設の通信用光ファイバを用いた道路監視や、新規に埋設する光ファイバを用いた敷地境界又は国境監視システムが挙げられる。
新規に敷設される光ファイバとしては、例えば、外被と、複数のテンションメンバと、歪み測定用タイト心線と、温度測定用ルース心線とが同一線上に並ぶように配置された光ファイバケーブルが提案されている(特許文献1)。
【0003】
公共移動手段の継続的な維持が難しい地域では、自動運転車の導入によるモビリティの確保が検討されている。自動運転技術には車載センサのみで完結するシステムと道路に埋設された電磁誘導線を併用するシステム等がある。
【先行技術文献】
【特許文献】
【0004】
特開2018-189566号公報
【発明の概要】
【発明が解決しようとする課題】
【0005】
電磁誘導線を用いた自動運転システムでは、経路情報を電磁誘導線から取得し、車載の各種センサを用いて障害物検知を行う。車載センサによる障害物検知は気象条件による性能低下や、先の見えないカーブ等で検知距離が限定される等の問題がある。
本発明は、上記事情に鑑みてなされたものであり、道路上の移動体検知能力を電磁誘導ケーブルに付加した、センサ一体型電磁誘導ケーブルを提供する。
【課題を解決するための手段】
【0006】
本発明は、以下の態様を有する。
<1>
長尺の本体と、1本以上の光ファイバと、1本以上の電磁誘導線とを有し、
前記光ファイバ及び前記電磁誘導線は、互いに離間して前記本体の内部に位置し、かつ前記本体の長手方向に延びている、センサ一体型電磁誘導ケーブル。
<2>
さらに、1本以上のテンションメンバを有し、
前記テンションメンバは、前記光ファイバ及び前記電磁誘導線と離間して、前記本体の内部に位置し、かつ前記本体の長手方向に延びている、<1>に記載のセンサ一体型電磁誘導ケーブル。
<3>
前記テンションメンバを2本以上有し、
前記光ファイバと、前記電磁誘導線とは、任意の前記テンションメンバと他の任意の前記テンションメンバとの間に位置する、<2>に記載のセンサ一体型電磁誘導ケーブル。
<4>
前記任意のテンションメンバと、前記他の任意のテンションメンバと、これらのテンションメンバの間に位置する前記光ファイバ及び前記電磁誘導線とは、断面視において直線上に並ぶ、<3>に記載のセンサ一体型電磁誘導ケーブル。
<5>
電磁誘導システム用である、<1>~<4>のいずれかに記載のセンサ一体型電磁誘導ケーブル。
【0007】
<6>
<1>~<4>のいずれかに記載のセンサ一体型電磁誘導ケーブルを有する、電磁誘導システム。
【発明の効果】
【0008】
本発明のセンサ一体型電磁誘導ケーブルによれば、道路上の移動体検知能力を電磁誘導ケーブルに付加できる。
【図面の簡単な説明】
【0009】
本発明の一実施形態に係るセンサ一体型電磁誘導ケーブルの断面図である。
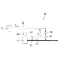
本発明の一実施形態に係る電磁誘導システムの模式図である。
【発明を実施するための形態】
【0010】
本明細書及び特許請求の範囲において、数値範囲を示す「~」は、その前後に記載した数値を下限値及び上限値として含むことを意味する。
なお、図面は、その構成をわかりやすく説明するための模式図であり、各構成要素の寸法比率等は、実際と異なる場合がある。
(【0011】以降は省略されています)
この特許をJ-PlatPat(特許庁公式サイト)で参照する
関連特許
積水化学工業株式会社
複層管
今日
積水化学工業株式会社
段ボール
8日前
積水化学工業株式会社
遺伝子導入方法
1日前
積水化学工業株式会社
熱伝導性樹脂組成物
今日
積水化学工業株式会社
区画貫通処理構造及び区画貫通処理材
1日前
積水化学工業株式会社
区画貫通処理構造及び区画貫通処理材
1日前
積水化学工業株式会社
区画貫通処理構造及び区画貫通処理材
1日前
積水化学工業株式会社
支持部材、蓄電設備及び蓄電設備付き建物
4日前
積水化学工業株式会社
センサ一体型電磁誘導ケーブル及び電磁誘導システム
4日前
積水化学工業株式会社
樹脂材料、積層フィルム、硬化物及び多層プリント配線板
8日前
積水化学工業株式会社
粘着テープ
今日
積水化学工業株式会社
還元剤およびガスの製造方法
8日前
積水化学工業株式会社
蓄電素子ユニットの設置方法、蓄電素子ユニット及び蓄電素子ユニット組合体
7日前
積水化学工業株式会社
蓄電素子ユニット、蓄電素子ユニット用の固定部材、及び蓄電素子ユニット付き建物
4日前
積水化学工業株式会社
ドレン部材、雨樋配管構造、及び建物
4日前
積水化学工業株式会社
合わせガラス用中間膜及び合わせガラス
今日
積水化学工業株式会社
有機物質の製造方法及び有機物質製造装置
4日前
積水化学工業株式会社
ドレン部材及び雨樋配管構造、建物、屋根
4日前
積水化学工業株式会社
発泡剤添加装置、吹付用発泡機、発泡剤添加方法及び発泡体製造方法
今日
積水化学工業株式会社
区画貫通処理構造、区画貫通処理材、及び区画貫通処理構造の施工方法
8日前
積水化学工業株式会社
ポリオール組成物、発泡性ポリウレタン組成物及びポリウレタンフォーム
今日
積水化学工業株式会社
ポリオール組成物、難燃性ウレタン樹脂組成物、及びポリウレタン発泡体
14日前
積水化学工業株式会社
蓄電素子ユニット組合体、蓄電素子ユニット組合体の設置方法、蓄電素子ユニット組合体付き建物、及び蓄電素子ユニット組合体付き建物の製造方法
1日前
日本精機株式会社
警報システム
1か月前
個人
自動電動車椅子
15日前
スズキ株式会社
運転支援装置
1か月前
エムケー精工株式会社
車両誘導装置
1か月前
ニッタン株式会社
検知器
1日前
ニッタン株式会社
発信機
1か月前
ニッタン株式会社
検知器
23日前
ニッタン株式会社
検知器
23日前
ニッタン株式会社
検知器
25日前
ニッタン株式会社
発信機
1か月前
個人
磁気路上での車両の路線離脱防御
4日前
株式会社国際電気
防災システム
1か月前
トヨタ自動車株式会社
車両
1か月前
続きを見る
他の特許を見る