TOP
|
特許
|
意匠
|
商標
特許ウォッチ
Twitter
他の特許を見る
10個以上の画像は省略されています。
公開番号
2025138717
公報種別
公開特許公報(A)
公開日
2025-09-25
出願番号
2025104939,2021208631
出願日
2025-06-20,2021-08-04
発明の名称
区画貫通処理構造、区画貫通処理材、及び区画貫通処理構造の施工方法
出願人
積水化学工業株式会社
代理人
個人
,
個人
主分類
F16L
5/04 20060101AFI20250917BHJP(機械要素または単位;機械または装置の効果的機能を生じ維持するための一般的手段)
要約
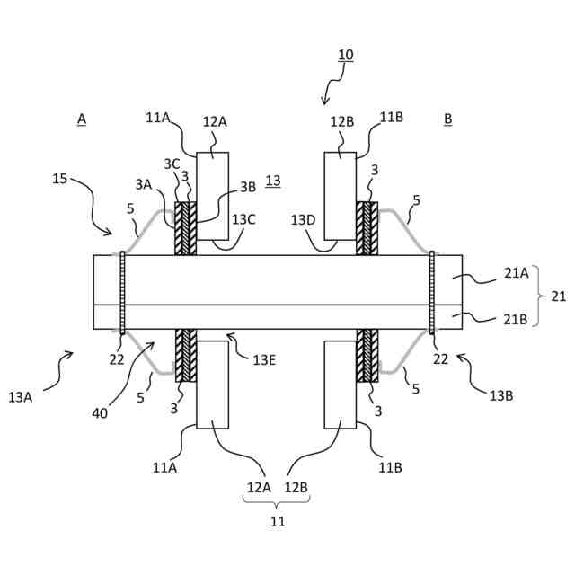
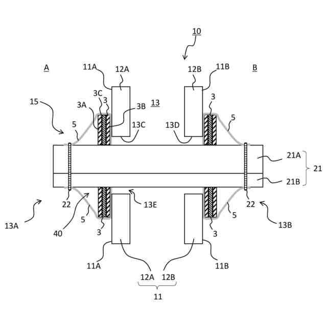
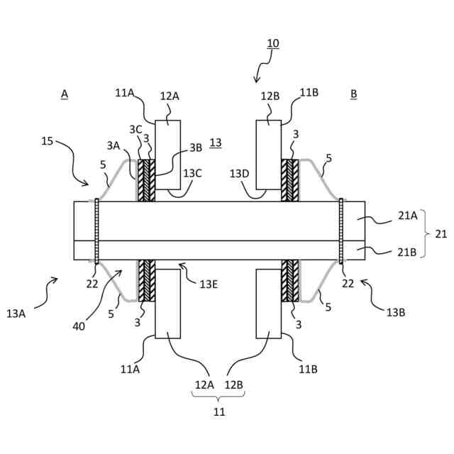
【課題】耐火性能のバラつきを低減し、かつ耐火性能を向上させることができる区画貫通処理構造、区画貫通処理構造の施工方法、及び区画貫通処理材を提供する。
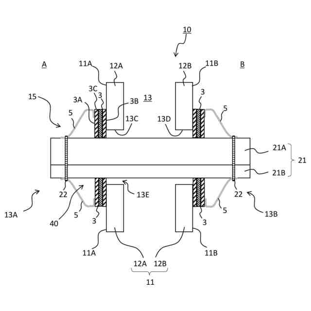
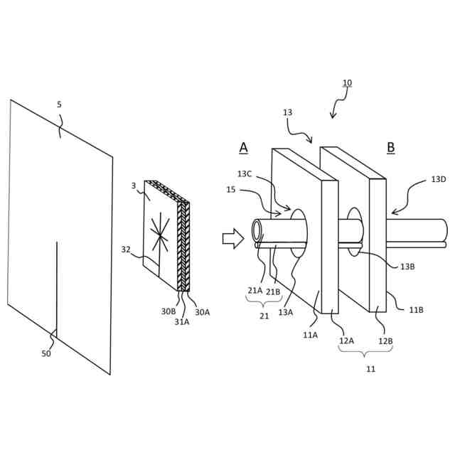
【解決手段】建築物の仕切り部11に形成され、かつ内部に長尺の挿通体21が挿通される区画貫通部15を耐火構造とする区画貫通処理構造10であって、仕切り部11に設けられる区画貫通部15の開口13Cと挿通体21との間の間隙の少なくとも一部を塞ぐシート状部材3を備え、シート状部材3は、基材30A,30B及び熱膨張性を有する耐火材層31Aが少なくとも3層積層されている。
【選択図】図1
特許請求の範囲
【請求項1】
建築物の仕切り部に形成され、かつ内部に長尺の挿通体が挿通される区画貫通部を耐火構造とする区画貫通処理構造であって、
前記仕切り部に設けられる前記区画貫通部の開口と前記挿通体との間の間隙の少なくとも一部を塞ぐシート状部材を備え、
前記シート状部材は、基材及び熱膨張性を有する耐火材層が少なくとも3層積層されている、区画貫通処理構造。
続きを表示(約 830 文字)
【請求項2】
前記シート状部材は、基材及び熱膨張性を有する耐火材層が少なくとも交互に3層積層されている、請求項1に記載の区画貫通処理構造。
【請求項3】
前記シート状部材は、複数の前記基材及び複数の前記耐火材層が積層されている、請求項1又は2に記載の区画貫通処理構造。
【請求項4】
粘着性を有する前記耐火材層又は粘着剤層を備える前記耐火材層が前記仕切り部に接して配置される、請求項1~3のいずれか1項に記載の区画貫通処理構造。
【請求項5】
前記基材が前記仕切り部とは反対側の位置にある最外層に配置されている、請求項1~3のいずれか1項に記載の区画貫通処理構造。
【請求項6】
前記区画貫通部の内部に挿通体以外に、何も設けられない、請求項1~5のいずれか1項に記載の区画貫通処理構造。
【請求項7】
前記シート状部材は、内側に配置された粘着性を有する前記耐火材層又は粘着剤層、及び、外側から設置された固定部材の少なくともいずれかによって前記仕切り部に固定される、請求項1~6のいずれか1項に記載の区画貫通処理構造。
【請求項8】
前記シート状部材を覆うカバー部材を備える、請求項1~7のいずれか1項に記載の区画貫通処理構造。
【請求項9】
前記カバー部材は、内側に配置された粘着性を有する前記耐火材層又は粘着剤層、外側から巻かれた紐状部材又は粘着テープ、及び、外側から設置された固定部材の少なくともいずれかによって前記挿通体及び前記シート状部材の少なくともいずれかに固定される、請求項8に記載の区画貫通処理構造。
【請求項10】
前記シート状部材が前記カバー部材で覆われ、前記シート状部材の端面及び表面の少なくともいずれかが外部から視認可能である、請求項8又は9に記載の区画貫通処理構造。
(【請求項11】以降は省略されています)
発明の詳細な説明
【技術分野】
【0001】
本発明は、建築物などの仕切り部において形成される区画貫通処理構造、区画貫通処理構造を形成するための区画貫通処理材、及び区画貫通処理構造の施工方法に関する。
続きを表示(約 3,400 文字)
【背景技術】
【0002】
集合住宅、オフィスビル、学校等の建築物において、壁等の仕切り部には、ケーブル類、配管類などの長尺の挿通体を通すために、区画貫通部が設けられることがある。区画貫通部は、いずれかの区画で火災が発生した際に、他の区画への延焼を防止するために、防火措置を施した構造(耐火構造)にすることが求められている。仕切り部は、2枚の壁部からなり、壁部間が中空部となっている中空壁が一般的である。
【0003】
区画貫通部を耐火構造とする方法は、例えば、長尺の挿通体と貫通孔の間隙に、耐火パテなどの不定形充填材を充填する方法が知られている。不定形充填材を使用する場合、各壁部の貫通孔内部と、挿通体の間には、耐火材よりなる筒状部材などが合わせて配設されることもある(例えば、特許文献1、2参照)。
【先行技術文献】
【特許文献】
【0004】
特許第6150933号公報
特許第6348320号公報
【発明の概要】
【発明が解決しようとする課題】
【0005】
しかしながら、区画貫通部の防火処理に不定形充填材を使用した場合、作業者によるバラつきがあり、十分な耐火性能が得られないことがある。また、躯体内に耐火材及びその付属品等を設置する場合、それらがどの程度(量や厚み、長さ等)設置されているか明確でなかったり、規定通りに設置されているか判断できなかったりすることがある。そのため、規定通りに耐火材などが設置されているか否かを確認するためには、区画貫通処理構造を破壊して、内部構造を確認する必要がある。
【0006】
また、作業者によるバラつきを低減するため、あらかじめ決められた量、及び大きさの部材が一体化されたキットがあったが、部材点数が多い傾向があり、部材紛失や設置し忘れが生じやすく、また、キットごとの梱包のため、発生するゴミが多いという問題もある。
【0007】
また、内部にケーブル類及び配管類等の長尺の挿通体が挿通される区画貫通構造においては、区画貫通処理構造を施した後に挿通体を動かした場合には、内部に設置された耐火材などが設置されていた適切な位置からずれてしまうことがある。また、地震等の外力によっても、耐火材などが設置されていた適切な位置からずれてしまうことがある。また、耐火材が均一に膨張せずに偏って膨張すると設置されていた適切な位置からずれたり、脱落したりすることがある。このように、耐火材などが設置されていた適切な位置からずれてしまうことによって、区画貫通部の耐火構造として望まれる耐火性能を発揮することが困難となる。
【0008】
そこで、本発明は、耐火性能のバラつきを低減し、かつ耐火性能を向上させることができる区画貫通処理構造、区画貫通処理構造の施工方法、及び区画貫通処理材を提供することを課題とする。
【課題を解決するための手段】
【0009】
本発明は、上記課題を解決するためになされたものであり、本発明の要旨は、以下のとおりである。
[1]建築物の仕切り部に形成され、かつ内部に長尺の挿通体が挿通される区画貫通部を耐火構造とする区画貫通処理構造であって、前記仕切り部に設けられる前記区画貫通部の開口と前記挿通体との間の間隙の少なくとも一部を塞ぐシート状部材を備え、前記シート状部材は、基材及び熱膨張性を有する耐火材層が少なくとも3層積層されている、区画貫通処理構造。
[2]前記シート状部材は、基材及び熱膨張性を有する耐火材層が少なくとも交互に3層積層されている、[1]に記載の区画貫通処理構造。
[3]前記シート状部材は、複数の前記基材及び複数の前記耐火材層が積層されている、[1]又は[2]に記載の区画貫通処理構造。
[4]粘着性を有する前記耐火材層又は粘着剤層を備える前記耐火材層が前記仕切り部に接して配置される、[1]~[3]のいずれかに記載の区画貫通処理構造。
[5]前記基材が前記仕切り部とは反対側の位置にある最外層に配置されている、[1]~[4]のいずれかに記載の区画貫通処理構造。
[6]前記区画貫通部の内部に挿通体以外に、何も設けられない、[1]~[5]のいずれかに記載の区画貫通処理構造。
[7]前記シート状部材は、内側に配置された粘着性を有する前記耐火材層又は粘着剤層、及び、外側から設置された固定部材の少なくともいずれかによって前記仕切り部に固定される、[1]~[6]のいずれかに記載の区画貫通処理構造。
[8]前記シート状部材を覆うカバー部材を備える、[1]~[7]のいずれかに記載の区画貫通処理構造。
[9]前記カバー部材は、内側に配置された粘着性を有する前記耐火材層又は粘着剤層、外側から巻かれた紐状部材又は粘着テープ、及び、外側から設置された固定部材の少なくともいずれかによって前記挿通体及び前記シート状部材の少なくともいずれかに固定される、[8]に記載の区画貫通処理構造。
[10]前記シート状部材が前記カバー部材で覆われ、前記シート状部材の端面及び表面の少なくともいずれかが外部から視認可能である、[8]又は[9]に記載の区画貫通処理構造。
[11]前記シート状部材と前記カバー部材との間に空隙がある、[8]~[10]のいずれかに記載の区画貫通処理構造。
[12]前記シート状部材を備える区画貫通処理材が、前記仕切り部の両側に設けられる[1]~[11]のいずれかに記載の区画貫通処理構造。
[13]前記シート状部材が、前記挿通体に接する、[1]~[12]のいずれかに記載の区画貫通処理構造。
[14]前記シート状部材が吸音層を有する、[1]~[13]のいずれかに記載の区画貫通処理構造。
[15]前記シート状部材が遮音層を有する、[1]~[14]のいずれかに記載の区画貫通処理構造。
[16]前記カバー部材が吸音層を有する、[8]~[15]のいずれかに記載の区画貫通処理構造。
[17]前記カバー部材が遮音層を有する、[8]~[16]のいずれかに記載の区画貫通処理構造。
[17]建築物の仕切り部に形成され、かつ内部に長尺の挿通体が挿通される区画貫通部を耐火構造とする区画貫通処理構造であって、
前記仕切り部に設けられる前記区画貫通部の開口と前記挿通体との間の間隙の少なくとも一部を塞ぐシート状部材を備え、
前記シート状部材は、基材及び熱膨張性を有する耐火材層が少なくとも3層積層されている、区画貫通処理構造。
[18]建築物の仕切り部に形成され、かつ内部に長尺の挿通体が挿通される区画貫通部を耐火構造とするために用いる区画貫通処理材であって、前記仕切り部に設けられる前記区画貫通部の開口と前記挿通体との間の間隙の少なくとも一部を塞ぐシート状部材を備え、前記シート状部材は、基材及び熱膨張性を有する耐火材層が少なくとも3層積層されている、区画貫通処理材。
[19]前記シート状部材は、基材及び熱膨張性を有する耐火材層が交互に少なくとも3層積層されている、[18]に記載の区画貫通処理材。
[20]建築物の仕切り部に形成され、かつ内部に長尺の挿通体が挿通される区画貫通部を耐火構造とする区画貫通処理構造の施工方法であって、前記仕切り部に設けられる前記区画貫通部の開口と前記挿通体との間の間隙の少なくとも一部を塞ぐようにシート状部材を設置する工程を含み、前記シート状部材は、基材及び熱膨張性を有する耐火材層が少なくとも3層積層されている、区画貫通処理構造の施工方法。
[21]前記シート状部材は、基材及び熱膨張性を有する耐火材層が交互に少なくとも3層積層されている、[20]に記載の区画貫通処理構造の施工方法。
【発明の効果】
【0010】
本発明によれば、耐火性能のバラつきを低減し、かつ耐火性能を向上させることができる区画貫通処理構造、区画貫通処理構造の施工方法、及び区画貫通処理材を提供することができる。
【図面の簡単な説明】
(【0011】以降は省略されています)
この特許をJ-PlatPat(特許庁公式サイト)で参照する
関連特許
積水化学工業株式会社
遺伝子導入方法
今日
積水化学工業株式会社
区画貫通処理構造及び区画貫通処理材
今日
積水化学工業株式会社
区画貫通処理構造及び区画貫通処理材
今日
積水化学工業株式会社
区画貫通処理構造及び区画貫通処理材
今日
積水化学工業株式会社
蓄電素子ユニット組合体、蓄電素子ユニット組合体の設置方法、蓄電素子ユニット組合体付き建物、及び蓄電素子ユニット組合体付き建物の製造方法
今日
個人
鍋虫ねじ
1か月前
個人
回転伝達機構
1か月前
個人
紛体用仕切弁
1か月前
個人
ホース保持具
5か月前
個人
トーションバー
6か月前
個人
差動歯車用歯形
3か月前
個人
ジョイント
13日前
個人
固着具と成形品部材
8か月前
個人
回転式配管用支持具
7か月前
株式会社不二工機
電磁弁
4か月前
株式会社不二工機
電磁弁
3か月前
個人
地震の揺れ回避装置
2か月前
個人
ボルトナットセット
6か月前
個人
ナット
14日前
個人
吐出量監視装置
1か月前
株式会社オンダ製作所
継手
7か月前
カヤバ株式会社
緩衝器
2か月前
カヤバ株式会社
ダンパ
3か月前
カヤバ株式会社
ダンパ
3か月前
カヤバ株式会社
緩衝器
2か月前
柿沼金属精機株式会社
分岐管
1か月前
株式会社三協丸筒
枠体
6か月前
株式会社ミクニ
弁装置
7か月前
個人
ベルトテンショナ
7か月前
株式会社ミクニ
弁装置
7か月前
カヤバ株式会社
緩衝器
6か月前
株式会社ノーリツ
分配弁
4か月前
協和工業株式会社
空気弁
7か月前
株式会社タカギ
水栓装置
1か月前
株式会社不二工機
逆止弁
8か月前
カヤバ株式会社
緩衝装置
7か月前
続きを見る
他の特許を見る