TOP
|
特許
|
意匠
|
商標
特許ウォッチ
Twitter
他の特許を見る
10個以上の画像は省略されています。
公開番号
2025133940
公報種別
公開特許公報(A)
公開日
2025-09-11
出願番号
2025117226,2024039619
出願日
2025-07-11,2019-09-26
発明の名称
樹脂管の接続装置
出願人
積水化学工業株式会社
代理人
弁理士法人湧泉特許事務所
主分類
F16L
23/04 20060101AFI20250904BHJP(機械要素または単位;機械または装置の効果的機能を生じ維持するための一般的手段)
要約
【課題】製造コストを低減できる樹脂管の接続装置を提供する。
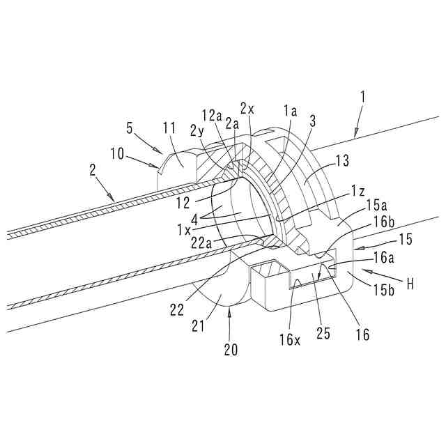
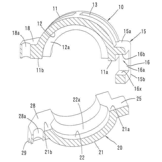
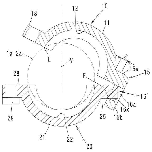
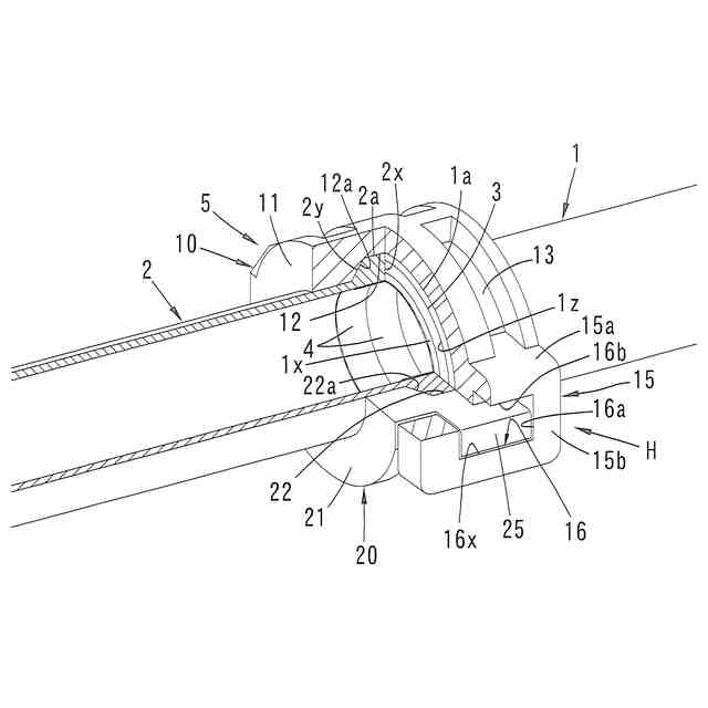
【解決手段】接続装置5は、上側分割体10と、下側分割体20と、分割体10,20の一端部を回動可能に連結するヒンジ手段Hと、分割体10,20の他端部同士を近付けるように締め付ける締結手段30とを備えている。分割体10,20の本体部11,21の内周には、嵌合溝12,22が形成されている。締め付け時に、嵌合溝12,22のテーパ面12a,22aが樹脂管1,2のフランジ部1a、2aのテーパ面1y、2yに当たることにより、樹脂管1,2のフランジ部1a,2aが突き合わされる。上側分割体10の本体部11の一端部には下方に延出された係合部15が設けられている。係合部15には係合穴16が形成されている。下側分割体20の本体部11の一端部には係合突起25が設けられている。係合穴16に係合突起25が挿入されることにより、ヒンジ手段Hが構成される。係合穴16は、主穴部16aと逃がし凹部16bを有している。
【選択図】図1
特許請求の範囲
【請求項1】
一端部に環状のフランジ部を有する2本の樹脂管同士を接続する装置であって、
第1、第2分割体と、上記第1、第2分割体の一端部を互いに上記樹脂管の軸線と直交する平面に沿って回動可能に連結するヒンジ手段と、上記第1、第2分割体が上記2本の樹脂管の上記フランジ部を挟んだ状態で上記第1、第2分割体の他端部同士を近付けるように締め付ける締結手段とを備え、
上記第1、第2分割体は、内周に円弧状に延びる嵌合溝が形成された本体部を有し、上記嵌合溝はその両側にテーパ面を有し、上記締結手段による締め付け時に、上記嵌合溝の上記テーパ面が上記2本の樹脂管の上記フランジ部に形成されたテーパ面に当たることにより、上記2本の樹脂管の上記フランジ部が互いに突き合わされるようになっており、
上記第1分割体の上記本体部の周方向一端部の径方向外側には、上記第2分割体側に延出された係合部が設けられ、上記係合部には係合穴が形成され、
上記第2分割体の上記本体部の周方向一端部には、径方向外側に向かって突出する係合突起が設けられ、
上記第1分割体の上記係合穴に上記第2分割体の上記係合突起が回動可能に挿入されることにより、上記ヒンジ手段が構成されることを特徴とする樹脂管の接続装置。
続きを表示(約 470 文字)
【請求項2】
上記係合穴は、上記締結手段により上記第1、第2分割体が締結された状態で上記係合突起を収容する主穴部を有するとともに、上記主穴部に連なり上記第2分割体の反対側に形成された逃がし凹部を有することを特徴とする請求項1に記載の樹脂管の接続装置。
【請求項3】
上記第1、第2分割体の他端部には、径方向外側に突出する支持部がそれぞれ形成されており、これら支持部を貫通するボルトとこのボルトに螺合されるナットにより、上記締結手段が構成され、いずれか一方の支持部には、上記ナットの回り止めのための凸部が形成されていることを特徴とする請求項1または2に記載の樹脂管の接続装置。
【請求項4】
上記2本の樹脂管の一端部の内周には、それぞれ短筒形状のインコアが配置されていることを特徴とする請求項1~3のいずれかに記載の樹脂管の接続装置。
【請求項5】
上記第1、第2分割体が、ガラス繊維入りの樹脂により形成されていることを特徴とする請求項1~4のいずれかに記載の樹脂管の接続装置。
発明の詳細な説明
【技術分野】
【0001】
本発明は、一端部にフランジ部を有する2本の樹脂管を接続する装置に関する。
続きを表示(約 2,400 文字)
【背景技術】
【0002】
施工現場で融着作業をせずに樹脂管同士を接続することが求められる場合には、工場でフランジ部付きの短管を樹脂管本体にバット融着することにより、端部にフランジ部を有する樹脂管を製造する。フランジ部は先端側に樹脂管の軸線と直交する突き合わせ面を有し、反対側にテーパ面を有している。施工現場では接続装置を用い、2本の樹脂管のフランジ部を突き合わせるようにして接続する。
【0003】
特許文献1に示す接続装置は、上下一対の分割体と、一対の分割体の一端部を互いに回動可能に連結するヒンジ手段と、一対の分割体の他端部同士を近付けるように締め付ける締結手段とを備えている。一対の分割体は、内周に半円をなして延びる嵌合溝が形成された本体部をそれぞれ有している。嵌合溝の両側には上記フランジ部のテーパ面と等しいテーパ角をなすテーパ面が形成されている。
一対の分割体はそれぞれ、本体部の一端部から径方向外側に突出する連結部を有するとともに、本体部の他端部から径方向外側に突出する支持部を有している。
ヒンジ手段は、両端が一対の分割体の支持部に回動可能に連結されたリンクを有している。
締付手段は、下側の分割体の支持部に設けられた軸部材と、この軸部材に挿通されるリング部を有するデンデンボルトと、このデンデンボルトに螺合するナットと、を有している。
【0004】
上記接続装置による樹脂管の接続工程を簡単に説明すると、一対の分割体を開き状態にし、2本の樹脂管のフランジ部を下側の分割体の嵌合溝に乗せる。次に、上側の分割体を閉じ方向に回動させて、嵌合溝に2本の樹脂管のフランジ部を緩く嵌合させる。最後に、下側の分割体に取り付けられたデンデンボルトを上側の分割体の支持部のスリットに挿入し、このデンデンボルトに螺合されたナットを上側の分割体の支持部に向かって締め付ける。これにより、嵌合溝の両側のテーパ面と2本の樹脂管のフランジ部のテーパ面が当たり、上記締め付け力が2本の樹脂管のフランジ部同士を近づける軸方向の力に変換される。その結果、フランジ部の突き合わせ面が当たった状態で2本の樹脂管が接続される。
【先行技術文献】
【特許文献】
【0005】
特許5740123号公報
【発明の概要】
【発明が解決しようとする課題】
【0006】
特許文献1では、一対の分割体同士を回動可能に連結するヒンジ手段がリンクを含み、このリンクが分割体に回動可能に連結される構造であるため、接続装置の製造コストが嵩む。
【課題を解決するための手段】
【0007】
上記課題を解決するために、本発明は、一端部に環状のフランジ部を有する2本の樹脂管同士を接続する装置であって、第1、第2分割体と、上記第1、第2分割体の一端部を互いに上記樹脂管の軸線と直交する平面に沿って回動可能に連結するヒンジ手段と、上記第1、第2分割体が上記2本の樹脂管の上記フランジ部を挟んだ状態で上記第1、第2分割体の他端部同士を近付けるように締め付ける締結手段とを備え、上記第1、第2分割体は、内周に円弧状に延びる嵌合溝が形成された本体部を有し、上記嵌合溝はその両側にテーパ面を有し、上記締結手段による締め付け時に、上記嵌合溝の上記テーパ面が上記2本の樹脂管の上記フランジ部に形成されたテーパ面に当たることにより、上記2本の樹脂管の上記フランジ部が互いに突き合わされるようになっており、上記第1分割体の上記本体部の周方向一端部の径方向外側には、上記第2分割体側に延出された係合部が設けられ、上記係合部には係合穴が形成され、上記第2分割体の上記本体部の周方向一端部には、径方向外側に向かって突出する係合突起が設けられ、上記第1分割体の上記係合穴に上記第2分割体の上記係合突起が回動可能に挿入されることにより、上記ヒンジ手段が構成されることを特徴とする。
【0008】
上記構成によれば、ヒンジ手段を第1分割体の係合部と第2分割体の係合突起で構成したので、構成が簡略化され、製造コストが低い。
【0009】
好ましくは、上記係合穴は、上記締結手段により上記第1、第2分割体が締結された状態で上記係合突起を収容する主穴部を有するとともに、上記主穴部に連なり上記第2分割体の反対側に形成された逃がし凹部を有する。
上記構成によれば、第1分割体の係合穴に第2分割体の係合突起を挿入させながら第1分割体をフランジ部に被せる段階で、係合突起の先端部を逃がし凹部に受け入れることができるので、第1分割体において係合穴と本体部の端部との間の距離を大きくせずに、第1分割体の係合部と第2分割体の係合突起の干渉を回避することができる。そのため、第1、第2分割体の締付力の作用点を本体部の端部および樹脂管に近づけることができるので、樹脂管の接続強度を高めることができる。また、地震等により大きな引張荷重や曲げ荷重が樹脂管に加わった時に、第1、第2分割体に生じる応力を低く抑えることができ、第1、第2分割体の破損を防止できる。
【0010】
好ましくは、上記第1、第2分割体の他端部には、径方向外側に突出する支持部がそれぞれ形成されており、これら支持部を貫通するボルトとこのボルトに螺合されるナットにより、上記締結手段が構成され、いずれか一方の支持部には、上記ナットの回り止めのための凸部が形成されている。
上記構成によれば、回り止めされたナットとボルトを用いて、効率良く第1、第2分割体の締結作業を行なうことができる。
(【0011】以降は省略されています)
この特許をJ-PlatPat(特許庁公式サイト)で参照する
関連特許
積水化学工業株式会社
樹脂管
2日前
積水化学工業株式会社
配管構造
2日前
積水化学工業株式会社
解析方法
2日前
積水化学工業株式会社
積層構造体
2日前
積水化学工業株式会社
耐火処理構造
3日前
積水化学工業株式会社
耐火処理構造
3日前
積水化学工業株式会社
両面粘着テープ
2日前
積水化学工業株式会社
両面粘着テープ
2日前
積水化学工業株式会社
更生管の製管方法
3日前
積水化学工業株式会社
樹脂組成物、放熱部材
2日前
積水化学工業株式会社
継手構造および接続構造
2日前
積水化学工業株式会社
床の施工方法及び建築物
2日前
積水化学工業株式会社
集合継手及び排水システム
2日前
積水化学工業株式会社
生産管理システムおよび方法
3日前
積水化学工業株式会社
生産管理システムおよび方法
3日前
積水化学工業株式会社
集合継手及び集合継手の製造方法
2日前
積水化学工業株式会社
継手、配管構造、配管の施工方法
3日前
積水化学工業株式会社
マスターバッチ、及びその製造方法
2日前
積水化学工業株式会社
防火区画貫通処理部材及び防火区画材
2日前
積水化学工業株式会社
防火区画貫通処理シート及び防火区画材
2日前
積水化学工業株式会社
鉄道用枕木、及び鉄道用枕木の製造方法
3日前
積水化学工業株式会社
樹脂材料、硬化物及び多層プリント配線板
3日前
積水化学工業株式会社
樹脂材料、硬化物及び多層プリント配線板
3日前
積水化学工業株式会社
光ファイバ担持樹脂成形体及びその製造方法
2日前
積水化学工業株式会社
硬化性樹脂組成物及び基板積層体の製造方法
2日前
積水化学工業株式会社
電気化学システム、及びカルボニル化合物の製造方法
2日前
積水化学工業株式会社
コンクリート試験体、及びコンクリート試験体の製造方法
2日前
積水化学工業株式会社
熱伝導性シート保持体、及び熱伝導性シートの貼り付け方法
2日前
積水化学工業株式会社
フラットデッキ、防火区画構造及びフラットデッキの製造方法
3日前
積水化学工業株式会社
ポリオール組成物、難燃性ウレタン樹脂組成物、及びポリウレタン発泡体
3日前
積水化学工業株式会社
ポリオール組成物、不燃性ウレタン樹脂組成物、及びポリウレタン発泡体
3日前
積水化学工業株式会社
ポリオール組成物、難燃性ウレタン樹脂組成物、及びポリウレタン発泡体
3日前
積水化学工業株式会社
ポリオール組成物、発泡性ウレタン樹脂組成物、及びポリウレタン発泡体
2日前
積水化学工業株式会社
ポリオール液剤、ウレタン組成物、ポリウレタンフォーム及び金属フレーム
3日前
積水化学工業株式会社
樹脂シート、車両及び車両部品並びに車両の製造方法及び車両部品の製造方法
4日前
積水化学工業株式会社
ポリオレフィン系樹脂発泡体、CMP研磨用発泡体及びCMP研磨用フォームテープ
3日前
続きを見る
他の特許を見る