TOP
|
特許
|
意匠
|
商標
特許ウォッチ
Twitter
他の特許を見る
公開番号
2025140654
公報種別
公開特許公報(A)
公開日
2025-09-29
出願番号
2024040183
出願日
2024-03-14
発明の名称
電力変換装置
出願人
株式会社TMEIC
代理人
弁理士法人iX
主分類
H02M
3/00 20060101AFI20250919BHJP(電力の発電,変換,配電)
要約
【課題】追加の保護機能や特殊な用品等によらずに、高精度に充放電制御する電力変換装置を提供する。
【解決手段】実施形態は、直流電源と蓄電要素との間に接続され、前記蓄電要素を充電し、前記蓄電要素からの放電された電力を前記直流電源に出力する変換器と、前記変換器の動作を制御する制御装置と、を備える。前記制御装置は、あらかじめ設定された電流指令値と、前記変換器と前記蓄電要素との間に流れる電流の大きさおよび方向を検出するように設けられ、検出した電流値に対するオフセットを有する電流検出器によって検出された電流検出値と、の差分について前記オフセットを相殺するように設定されたオフセット補償値を減算したオフセット補償された差分値にもとづいて、制御信号を生成し、前記変換器を制御する。
【選択図】図1
特許請求の範囲
【請求項1】
直流電源と蓄電要素との間に接続され、前記蓄電要素を充電し、前記蓄電要素からの放電された電力を前記直流電源に出力する変換器と、
前記変換器の動作を制御する制御装置と、
を備え、
前記制御装置は、あらかじめ設定された電流指令値と、前記変換器と前記蓄電要素との間に流れる電流の大きさおよび方向を検出するように設けられ、検出した電流値に対するオフセットを有する電流検出器によって検出された電流検出値と、の差分について前記オフセットを相殺するように設定されたオフセット補償値を減算したオフセット補償された差分値にもとづいて、制御信号を生成し、前記変換器を制御する電力変換装置。
続きを表示(約 990 文字)
【請求項2】
前記制御装置では、前記蓄電要素の両端の電圧にもとづいて、前記オフセット補償値が設定され、
前記オフセット補償値は、前記両端の電圧が所定の第1しきい値電圧よりも低い場合には、正の値を有し、前記両端の電圧が前記第1しきい値電圧以上の場合には、負の値を有し、または、前記両端の電圧が前記第1しきい値電圧よりも低い場合には、負の値を有し、前記両端の電圧が前記第1しきい値電圧以上の場合には、正の値を有する請求項1記載の電力変換装置。
【請求項3】
前記制御装置では、前記蓄電要素の両端の電圧にもとづいて、前記オフセット補償値が設定され、
前記オフセット補償値は、前記両端の電圧が所定の第2しきい値電圧以上の場合には、負の値を有し、前記両端の電圧が前記第2しきい値電圧よりも高い電圧値を有する所定の第3しきい値電圧よりも低い場合には、正の値を有し、または、前記両端の電圧が前記第2しきい値電圧以上の場合には、正の値を有し、前記両端の電圧が前記第2しきい値電圧よりも高い電圧値を有する所定の第3しきい値電圧よりも低い場合には、負の値を有する請求項1記載の電力変換装置。
【請求項4】
前記オフセット補償値は、前記両端の電圧が前記第1しきい値電圧よりも低い所定の第4しきい値電圧よりも低い場合には、正の一定値を有し、前記両端の電圧が前記第4しきい値電圧以上で前記第1しきい値電圧よりも低い場合には、前記両端の電圧の増加に応じて小さな値を正の値を有し、前記両端の電圧が前記第1しきい値電圧以上で前記第1しきい値電圧よりも高い値を有する第5しきい値電圧よりも低い場合には、前記両端の電圧の増加に応じて低い負の値を有し、前記両端の電圧が前記第5しきい値電圧以上の場合には、負の一定値を有し、または、前記両端の電圧が前記第4しきい値電圧よりも低い場合には、負の一定値を有し、前記両端の電圧が前記第4しきい値電圧以上で前記第1しきい値電圧よりも低い場合には、前記両端の電圧の増加に応じて大きな値を負の値を有し、前記両端の電圧が前記第1しきい値電圧以上で前記第5しきい値電圧よりも低い場合には、前記両端の電圧の増加に応じて高い正の値を有し、前記両端の電圧が前記第5しきい値電圧以上の場合には、正の一定の値を有する請求項2記載の電力変換装置。
発明の詳細な説明
【技術分野】
【0001】
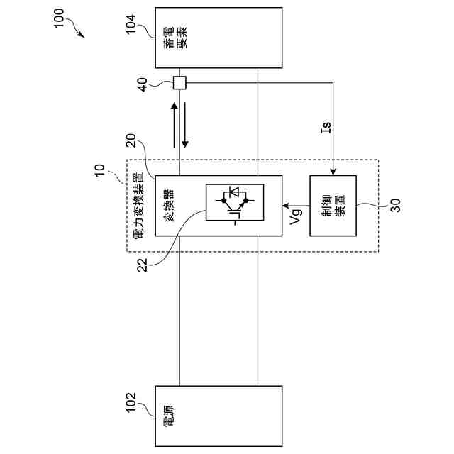
本発明の実施形態は、蓄電要素の充放電を制御する電力変換装置に関する。
続きを表示(約 1,200 文字)
【背景技術】
【0002】
大容量の蓄電要素に充電し、充電された蓄電要素から放電して系統に電力を供給する電力変換装置がある。
【0003】
このような充放電制御用の電力変換装置では、精度よく充電電流および放電電流を検出することが求められる。
【0004】
充放電電流を検出する電流検出器には、ホール素子を利用したもの等が知られているが、大容量の蓄電要素の充放電の場合には、検出する電流範囲が非常に広く、電流検出器にオフセットが存在すると、低電流時の検出精度が低下する。低電流での充電は、充電や放電の最終段階の場合が多いので、蓄電要素の過充電、過放電を防止するために、蓄電要素側や変換器側での保護が必要となったり、電流検出器にオフセットの少ない特定の用品を選定する必要があったりする。
【0005】
追加の保護機能や特殊な用品等によらずに、高精度に充放電制御を行いたいとの要求が強い。
【先行技術文献】
【特許文献】
【0006】
特開2012-209246号公報
【発明の概要】
【発明が解決しようとする課題】
【0007】
本発明の実施形態は、追加の保護機能や特殊な用品等によらずに、高精度に充放電制御する電力変換装置を提供することを目的とする。
【課題を解決するための手段】
【0008】
本発明の実施形態に係る電力変換装置は、直流電源と蓄電要素との間に接続され、前記蓄電要素を充電し、前記蓄電要素からの放電された電力を前記直流電源に出力する変換器と、前記変換器の動作を制御する制御装置と、を備える。前記制御装置は、あらかじめ設定された電流指令値と、前記変換器と前記蓄電要素との間に流れる電流の大きさおよび方向を検出するように設けられ、検出した電流値に対するオフセットを有する電流検出器によって検出された電流検出値と、の差分について前記オフセットを相殺するように設定されたオフセット補償値を減算したオフセット補償された差分値にもとづいて、制御信号を生成し、前記変換器を制御する。
【発明の効果】
【0009】
本発明の実施形態によれば追加の保護機能や特殊な用品等によらずに、高精度に充放電制御する電力変換装置を提供することができる。
【図面の簡単な説明】
【0010】
実施形態に係る電力変換装置を例示する模式的なブロック図である。
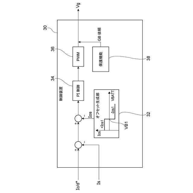
実施形態に係る制御装置を例示する模式的なブロック図である。
図3(a)および図3(b)は、実施形態に係る制御装置の一部であるオフセット生成部に設定される特性例を表す模式図である。
【発明を実施するための形態】
(【0011】以降は省略されています)
この特許をJ-PlatPat(特許庁公式サイト)で参照する
関連特許
株式会社TMEIC
通信伝文データ照合装置
今日
個人
電源装置
21日前
個人
バッテリ内蔵直流電源
20日前
株式会社FUJI
制御盤
10日前
日本精機株式会社
サージ保護回路
2日前
西部電機株式会社
充電装置
2日前
オムロン株式会社
電源回路
14日前
オムロン株式会社
電源回路
14日前
西部電機株式会社
充電装置
2日前
オムロン株式会社
電源回路
14日前
トヨタ自動車株式会社
固定子
今日
トヨタ自動車株式会社
回転子
21日前
トヨタ自動車株式会社
回転子
6日前
ミサワホーム株式会社
居住設備
10日前
東京応化工業株式会社
発電装置
14日前
大豊工業株式会社
モータ
20日前
トヨタ自動車株式会社
製造装置
今日
個人
連続ガウス加速器形磁力増幅装置
2日前
株式会社リコー
拡張アンテナ装置
13日前
個人
太陽エネルギー収集システム
今日
株式会社ミツバ
ブラシレスモータ
1日前
カヤバ株式会社
筒型リニアモータ
1日前
東京瓦斯株式会社
通信装置
1日前
トヨタ自動車株式会社
被膜形成装置
今日
トヨタ自動車株式会社
ロータ
8日前
ユタカ電業株式会社
ケーブルダクト
10日前
日産自動車株式会社
ステータ
7日前
ニチコン株式会社
AC入力検出回路
6日前
富士電子工業株式会社
電力変換装置
22日前
東京瓦斯株式会社
給電システム
1日前
株式会社ミツバ
巻線装置
13日前
株式会社正興電機製作所
地絡確認装置
13日前
株式会社ダイヘン
電力システム
2日前
株式会社ダイヘン
電力変換装置
2日前
ASTI株式会社
電力変換装置
今日
株式会社大林組
可搬式充電設備
7日前
続きを見る
他の特許を見る