TOP
|
特許
|
意匠
|
商標
特許ウォッチ
Twitter
他の特許を見る
10個以上の画像は省略されています。
公開番号
2025140134
公報種別
公開特許公報(A)
公開日
2025-09-29
出願番号
2024039321
出願日
2024-03-13
発明の名称
車両運転支援システム
出願人
マツダ株式会社
代理人
個人
,
個人
,
個人
,
個人
,
個人
主分類
B60W
50/08 20200101AFI20250919BHJP(車両一般)
要約
【課題】ドライバ以外の乗員が乗車していない場合でも同乗者効果を得られる車両運転支援システム10を提供することを目的とする。
【解決手段】車両運転支援システム10であって、三次元仮想空間Sに配置されたキャラクタVを表示する表示部14と、自車状況が回避を要する状況でない場合、三次元仮想空間Sを自律的に移動する第1動作パターンでキャラクタVの動作を制御する第1キャラクタ制御手段と、回避を要する自車状況をドライバの運転操作によって安全に回避できた場合、三次元仮想空間Sの手前側へ移動する第3動作パターンでキャラクタVの動作を制御する第2キャラクタ制御手段と、回避を要する自車状況を安全に回避できない場合、第1動作パターンよりも大きく形状変化する第4動作パターンでキャラクタVの動作を制御する第3キャラクタ制御手段とを備えたことを特徴とする。
【選択図】図7
特許請求の範囲
【請求項1】
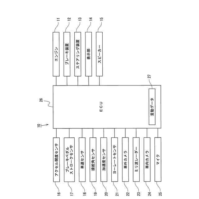
車両の走行挙動及び自車周辺の状況に基づいて自車状況を検出する自車状況検出手段と、該自車状況検出手段で検出した前記自車状況に基づく回避操作の音声案内を前記車両のドライバに報知する音声案内手段とを備えた車両運転支援システムであって、
前記ドライバの運転操作を検出する運転操作検出手段と、
前記自車状況に基づいて前記ドライバによる運転操作に介入して前記車両の走行挙動を制御する車両制御手段と、
三次元仮想空間に配置され、疑似的な心理状態を体現するキャラクタを表示する表示部と、
前記自車状況が回避を要する状況でない場合、前記三次元仮想空間を自律的に移動しながら、大きさ及び形状が繰り返し微小変化する第1感情表現動作で前記キャラクタの動作を制御する第1キャラクタ制御手段と、
回避を要する前記自車状況を前記回避操作の音声案内に基づく前記ドライバの運転操作によって安全に回避できた場合、前記三次元仮想空間の奥行方向における手前側へ移動する第2感情表現動作で前記キャラクタの動作を制御する第2キャラクタ制御手段と、
回避を要する前記自車状況を安全に回避できない場合、前記第1感情表現動作よりも大きく形状変化する第3感情表現動作で前記キャラクタの動作を制御する第3キャラクタ制御手段とを備えた
車両運転支援システム。
続きを表示(約 630 文字)
【請求項2】
緊急回避を要する前記自車状況を前記ドライバの運転操作によって回避できた場合、前記第3感情表現動作よりも速くかつ大きく形状変化する第4感情表現動作で前記キャラクタの動作を制御する第4キャラクタ制御手段を備えた
請求項1に記載の車両運転支援システム。
【請求項3】
前記第3キャラクタ制御手段は、
回避を要する前記自車状況を前記車両制御手段による前記車両の制御で安全に回避できない場合、前記第3感情表現動作で前記キャラクタの動作を制御する構成である
請求項1に記載の車両運転支援システム。
【請求項4】
前記第3キャラクタ制御手段は、
前記ドライバの運転操作によって回避を要する前記自車状況を安全に回避できなかった場合、前記第3感情表現動作で前記キャラクタの動作を制御する構成である
請求項1に記載の車両運転支援システム。
【請求項5】
前記自車状況検出手段で検出した前記自車状況に基づく音声情報を前記キャラクタの動作に関連付けて報知する音声情報出力手段を備えた
請求項1また請求項2に記載の車両運転支援システム。
【請求項6】
前記自車状況検出手段で検出した前記自車状況に基づく文字情報を前記キャラクタの動作に関連付けて前記表示部に出力する文字情報出力手段を備えた
請求項1また請求項2に記載の車両運転支援システム。
発明の詳細な説明
【技術分野】
【0001】
この発明は、例えば車両の走行挙動や自車周辺の状況に基づく音声案内をドライバに報知して、ドライバの運転操作を支援するような車両運転支援システムに関する。
続きを表示(約 1,700 文字)
【背景技術】
【0002】
自動車などの車両では、ドライバの運転操作を支援する車両運転支援システムとして、例えばドライバの運転操作に部分的に介入する先進運転支援システムや、所定条件下においてドライバから運転操作を譲受して自動運転を行う自動運転システムなどが知られている。
【0003】
このような車両運転支援システムでは、例えば車両の周囲の状況に応じた各種案内や、ドライバと車両との間で運転操作の受け渡しを行う案内を、音声や文字だけでなく車両の分身であるキャラクタを介して報知している。
【0004】
例えば特許文献1には、ドライバに対して注意喚起を促す情報を表示部に表示する際、表示部に表示された自律的に移動するキャラクタの動きを目立たせることでドライバの意識を表示部に向けさせている。
【0005】
ところで、自動車などの車両では、車両にドライバ以外の乗員が乗車している場合、ドライバ自身と他者の心理状態に注意を向け理解するドライバのメンタライジングによって、ドライバの運転が安全運転傾向となり、同乗者がいない場合に比べて事故率が低くなるという、所謂、同乗者効果が知られている。
【0006】
しかしながら、ドライバ以外の乗員が車両に常に乗車しているとは限らないため、同乗者不在の場合、同乗者効果が得られ難いという問題がある。
そこで、表示部に表示するキャラクタを同乗者として機能させることが考えられるが、例えば特許文献1のように表示部に表示した情報を目立たせることを目的としたキャラクタでは、ドライバに同乗者として十分に認知されず、同乗者効果を期待できないおそれがあった。
【先行技術文献】
【特許文献】
【0007】
特開2018-197054号公報
【発明の概要】
【発明が解決しようとする課題】
【0008】
本発明は、上述の問題に鑑み、ドライバ以外の乗員が乗車していない場合でも同乗者効果を得られる車両運転支援システムを提供することを目的とする。
【課題を解決するための手段】
【0009】
この発明は、車両の走行挙動及び自車周辺の状況に基づいて自車状況を検出する自車状況検出手段と、該自車状況検出手段で検出した前記自車状況に基づく回避操作の音声案内を前記車両のドライバに報知する音声案内手段とを備えた車両運転支援システムであって、前記ドライバの運転操作を検出する運転操作検出手段と、前記自車状況に基づいて前記ドライバによる運転操作に介入して前記車両の走行挙動を制御する車両制御手段と、三次元仮想空間に配置され、疑似的な心理状態を体現するキャラクタを表示する表示部と、前記自車状況が回避を要する状況でない場合、前記三次元仮想空間を自律的に移動しながら、大きさ及び形状が繰り返し微小変化する第1感情表現動作で前記キャラクタの動作を制御する第1キャラクタ制御手段と、回避を要する前記自車状況を前記回避操作の音声案内に基づく前記ドライバの運転操作によって安全に回避できた場合、前記三次元仮想空間の奥行方向における手前側へ移動する第2感情表現動作で前記キャラクタの動作を制御する第2キャラクタ制御手段と、回避を要する前記自車状況を安全に回避できない場合、前記第1感情表現動作よりも大きく形状変化する第3感情表現動作で前記キャラクタの動作を制御する第3キャラクタ制御手段とを備えたことを特徴とする。
【0010】
上記キャラクタは、表示部に表示される三次元立体形状または二次元画像の物体、車両の分身体であるアバター、あるいは擬人化キャラクタなどのことをいう。
上記自車状況が回避を要するとは、例えば前車との車間距離がつまって車間距離をとる回避操作が必要な状況、前車や走行車線に追従して走行する運転支援中に、幅員減少に伴う車線変更をドライバの運転操作によって行う必要がある状況、あるいは自車前方への他車の急な割り込みに対するドライバの緊急回避操作が必要な状況などのことをいう。
(【0011】以降は省略されています)
この特許をJ-PlatPat(特許庁公式サイト)で参照する
関連特許
マツダ株式会社
エンジン
20日前
マツダ株式会社
二次電池
19日前
マツダ株式会社
車載機器
19日前
マツダ株式会社
二次電池
19日前
マツダ株式会社
運転支援装置
19日前
マツダ株式会社
運転支援装置
19日前
マツダ株式会社
運転支援装置
19日前
マツダ株式会社
排気システム
21日前
マツダ株式会社
排気システム
21日前
マツダ株式会社
インバータ装置
20日前
マツダ株式会社
インバータ装置
20日前
マツダ株式会社
インバータ装置
20日前
マツダ株式会社
車両の前部構造
19日前
マツダ株式会社
インバータ装置
20日前
マツダ株式会社
車両の下部車体構造
22日前
マツダ株式会社
バッテリの制御装置
22日前
マツダ株式会社
エンジンの制御装置
20日前
マツダ株式会社
車両の下部車体構造
26日前
マツダ株式会社
車両の下部車体構造
26日前
マツダ株式会社
二次電池の制御装置
21日前
マツダ株式会社
車両の下部車体構造
26日前
マツダ株式会社
車両の下部車体構造
1か月前
マツダ株式会社
車両の下部車体構造
26日前
マツダ株式会社
二次電池の制御装置
19日前
マツダ株式会社
被覆金属材の試験方法
20日前
マツダ株式会社
自動変速機の油路構造
20日前
マツダ株式会社
車両運転支援システム
26日前
マツダ株式会社
バッテリ状態推定装置
22日前
マツダ株式会社
エンジンの燃焼室構造
20日前
マツダ株式会社
エンジンの燃焼室構造
20日前
マツダ株式会社
車両のパワートレイン構造
20日前
マツダ株式会社
車両のパワートレイン構造
20日前
マツダ株式会社
バッテリ温度制御システム
19日前
マツダ株式会社
車両のパワートレイン構造
19日前
マツダ株式会社
車両のパワートレイン構造
20日前
マツダ株式会社
電気自動車のバッテリ搭載構造
21日前
続きを見る
他の特許を見る