TOP
|
特許
|
意匠
|
商標
特許ウォッチ
Twitter
他の特許を見る
10個以上の画像は省略されています。
公開番号
2025139938
公報種別
公開特許公報(A)
公開日
2025-09-29
出願番号
2024039038
出願日
2024-03-13
発明の名称
スイッチング電源装置
出願人
株式会社デンソー
代理人
弁理士法人サトー
主分類
H02M
3/155 20060101AFI20250919BHJP(電力の発電,変換,配電)
要約
【課題】入力電圧Vinの範囲を拡げても素子の耐圧を最小限にできると共に、制御周波数のばらつきを抑制できるCOT制御のスイッチング電源装置を提供する。
【解決手段】Ton計算回路10は、FETのオン状態を維持する時間を生成する。電流源回路11は、入力電圧Vinを第1抵抗素子R1に印加する高耐圧のFET21を有し、第1抵抗素子R1によりV/I変換を行う。基準電圧回路12は、V/I変換された電流を、スイッチング制御信号Dに基づき断続する入力スイッチ16とグランドとの間に接続される第2抵抗素子R2及びコンデンサCの並列回路、及びローパスフィルタ回路17を有して基準電圧VCを生成する。ランプ波生成回路13は、電流源回路11より出力される電流が供給されるコンデンサC2を有し、ランプ波信号Vramp2を生成する。コンパレータ14は、基準電圧VCとランプ波信号Vramp2とを比較する。
【選択図】図3
特許請求の範囲
【請求項1】
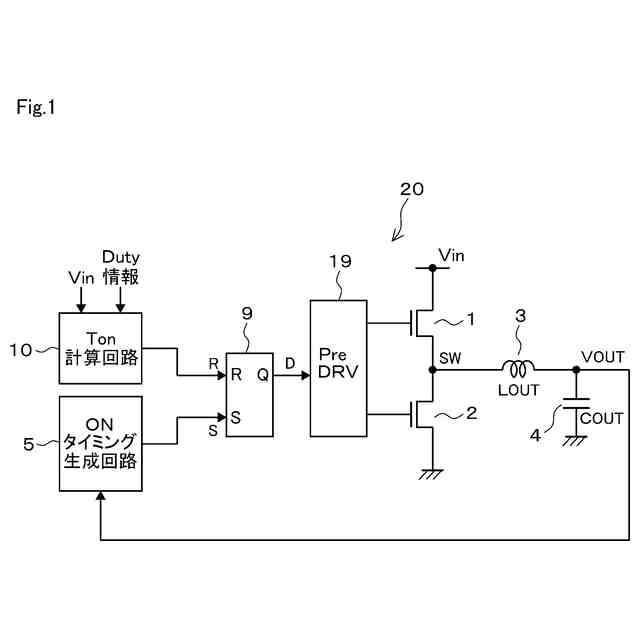
入力電圧をスイッチング素子(1,2)によりスイッチング制御して出力電圧を生成するもので、
前記スイッチング素子をオンさせるタイミングを生成するオンタイミング生成部(5)と、
前記スイッチング素子のオン状態を維持する時間を生成するオン時間生成部(10)と、を備え、
前記オン時間生成部は、前記入力電圧を第1抵抗素子(R1)に印加する高耐圧の入力スイッチング素子(21)を有し、前記第1抵抗素子によりV/I変換する電流源回路(11,41)と、
前記V/I変換された電流を、前記スイッチング制御の信号に基づいて断続的に供給するための入力スイッチ、この入力スイッチとグランドとの間に接続される、前記第1抵抗素子と同一の材質である第2抵抗素子(R2)及び第1容量素子(C)の並列回路、及びローパスフィルタ回路(17)を有してなる基準電圧回路(12)と、
前記電流源回路より出力される電流が供給される第2容量素子(C2)と、この第2容量素子を前記スイッチング制御の信号に基づいて充放電する充放電スイッチ(18)とを有し、ランプ波信号を生成するランプ波生成回路(13)と、
前記基準電圧と前記ランプ波信号とを比較する比較回路(14)と、を備えるスイッチング電源装置。
続きを表示(約 880 文字)
【請求項2】
前記電流源回路(11)は、第1抵抗素子とグランドとの間に接続され、前記第1抵抗素子に流れる電流をミラーさせる第1カレントミラー回路(24)と、
この第1カレントミラー回路を構成するトランジスタの閾値電圧を、前記第1抵抗素子に印加することで流れる誤差電流を生成する第2カレントミラー回路(35)と、
前記誤差電流を、前記第1抵抗素子と前記第1カレントミラー回路を構成する主トランジスタ(22)との共通接続点に流す誤差電流供給回路(30)と、
前記第1カレントミラー回路の主トランジスタとミラー対を構成する出力トランジスタ(38)に、前記V/I変換した電流を流すように構成されている請求項1記載のスイッチング電源装置。
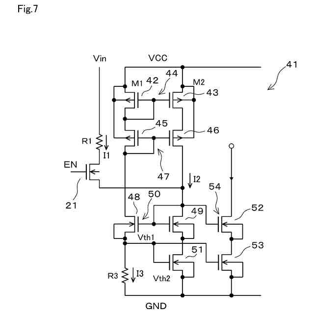
【請求項3】
前記電流源回路(41)は、電源側に接続され、ミラー電流経路に前記V/I変換した電流を流す第1カレントミラー回路(44)と、
グランド側と前記第1カレントミラー回路との間に接続され、前記ミラー電流経路が主電流経路となる第2カレントミラー回路(50)と、を備え、
グランドと、前記第2カレントミラー回路を構成する主トランジスタとの間に接続される、閾値電圧発生用トランジスタ(51)と、
グランドと、前記第2カレントミラー回路を構成する従トランジスタ(48)との間に接続され、抵抗値が前記第1抵抗素子に等しい第3抵抗素子(R3)と、
出力端子とグランドとの間に接続される、第1出力トランジスタ(52)及び第2出力トランジスタ(53)の直列回路と、を備え、
前記第1出力トランジスタは、前記第2カレントミラー回路の主トランジスタ(49)とミラー対を構成し、
前記閾値電圧発生用トランジスタ及び前記第2出力用トランジスタの導通制御端子は、前記第2カレントミラー回路の従トランジスタと前記第2抵抗素子との共通接続点に接続され、
前記第1カレントミラー回路のミラー比が、1:2である請求項1記載のスイッチング電源装置。
発明の詳細な説明
【技術分野】
【0001】
本発明は、入力電圧をスイッチング素子によりスイッチング制御して降圧した出力電圧を生成するスイッチング電源装置に関する。
続きを表示(約 2,200 文字)
【背景技術】
【0002】
スイッチング電源装置の制御方式であるCOT(Constant On Time)制御は、出力電圧の応答性は優れているが、入力電圧や負荷電流に応じて周波数が変動するという技術課題がある。この課題に対して、特許文献1では、入力電圧Vinに依存した参照電圧
Vref1-グランド間に接続されるインバータ回路をスイッチングさせ、ローパスフィルタを介して平滑化することで基準電圧を生成している。
【先行技術文献】
【特許文献】
【0003】
米国特許第8531166号
【発明の概要】
【発明が解決しようとする課題】
【0004】
上記の構成では、特許文献1の図7に示す電圧Vref1が高い場合には、スイッチング素子のゲートや容量素子の耐圧を上げる必要がある。一方、同電圧が低い場合には、ゲート電圧が不足するおそれがある。参照電圧Vref1は、入力電圧Vinに依存するため、その電圧範囲が狭くなると、スイッチング電源の動作可能範囲も狭くなるという課題がある。また、同図に示す電圧Vref2、電圧VCそれぞれにばらつきが発生すると、スイッチング素子のオン時間Tonがばらつくことになり、その結果としてCOT制御の周波数がばらつくという課題もある。
【0005】
本発明は上記事情に鑑みてなされたものであり、その目的は、入力電圧Vinの範囲を拡げても高耐圧の素子を最小限にできると共に、制御周波数のばらつきを抑制できるCOT制御のスイッチング電源装置を提供することにある。
【課題を解決するための手段】
【0006】
請求項1記載のスイッチング電源装置によれば、入力電圧をスイッチング素子(1,2)によりスイッチング制御して出力電圧を生成する。オンタイミング生成部(5)は、スイッチング素子をオンさせるタイミングを生成し、オン時間生成部(10)は、スイッチング素子のオン状態を維持する時間を生成する。オン時間生成部の電流源回路(11,41)は、入力電圧を第1抵抗素子(R1)に印加する高耐圧の入力スイッチング素子を有し、第1抵抗素子によりV/I変換を行う。
【0007】
基準電圧回路(12)は、V/I変換された電流を、前記スイッチング制御の信号に基づき断続的に供給するための入力スイッチ(16)、入力スイッチとグランドとの間に接続される第2抵抗素子(R2)及び第1容量素子(C)の並列回路、及びローパスフィルタ回路(17)を有する。ランプ波生成回路(13)は、電流源回路より出力される電流が供給される第2容量素子(C2)を、充放電スイッチ(18)により充放電させてランプ波信号を生成する。比較回路(14)は、基準電圧とランプ波信号とを比較する。
【0008】
電流源回路では、入力電圧を高耐圧の入力スイッチング素子で受けるので、この入力スイッチング素子に接続されるその他の回路素子に低耐圧の素子を使用できる。基準電圧回路では、入力スイッチにより電流源回路からの電流を断続的に供給することで、ローパスフィルタ回路より出力される基準電圧を調整できる。電流源回路より供給される入力電流は、第1抵抗素子でV/I変換された、入力電圧に依存した電流であり、第2抵抗素子の材質を第1抵抗素子と同一にすることで、ばらつきを抑えることができる。そして、基準電圧及びランプ波信号は、何れも前記入力電流に基づいて生成されるので、COT制御における周波数のばらつきを抑制できる。
【0009】
請求項2記載のスイッチング電源装置によれば、電流源回路を構成する第1カレントミラー回路(24)は、第1抵抗素子とグランドとの間に接続され、第1抵抗素子に流れる電流をミラーさせる。第2カレントミラー回路(35)は、第1カレントミラー回路を構成するトランジスタの閾値電圧を第1抵抗素子に印加することで流れる誤差電流を生成する。誤差電流供給回路(30)は、その誤差電流を、第1抵抗素子と第1カレントミラー回路を構成する主トランジスタ(22)との共通接続点に流す。そして、前記主トランジスタとミラー対を構成する出力トランジスタ(38)にV/I変換した電流を流す。尚、「主トランジスタ」とは、カレントミラー回路において主電流を流す経路に配置されているトランジスタであり、主電流をミラーさせた電流を流すミラー電流経路に配置されるトランジスタは「従トランジスタ」と称する。
【0010】
第1抵抗素子によりV/I変換される電流には、入力電圧に対して第1カレントミラー回路を構成する主トランジスタの閾値電圧分が誤差として含まれる。そこで、誤差電流供給回路により、第2カレントミラー回路で生成した誤差電流を、第1抵抗素子と第1カレントミラー回路を構成する主トランジスタとの共通接続点に流すことで、上記の閾値電圧分の誤差を打ち消す。第1カレントミラー回路を構成するトランジスタは、入力スイッチング素子と同一のトランジスタとする。誤差を打ち消した電流をミラーさせて、最終的な電流源回路の出力電流とする。
(【0011】以降は省略されています)
この特許をJ-PlatPat(特許庁公式サイト)で参照する
関連特許
株式会社デンソー
車載器
9日前
株式会社デンソーエレクトロニクス
発音装置
13日前
株式会社デンソー
反力装置
3日前
株式会社デンソー
ステータ
9日前
株式会社デンソー
ステータ
9日前
株式会社デンソー
電子装置
3日前
株式会社デンソー
ねじ部材
9日前
株式会社デンソー
電子装置
4日前
株式会社デンソー
電子装置
13日前
株式会社デンソー
半導体装置
9日前
株式会社デンソー
農業用装置
5日前
株式会社デンソー
レーダ装置
13日前
株式会社デンソー
レーダ装置
2日前
株式会社デンソーテン
インバータ
3日前
株式会社デンソー
電力変換装置
17日前
株式会社デンソー
フィルタ回路
17日前
株式会社デンソー
通信システム
13日前
株式会社デンソーテン
車載映像装置
9日前
株式会社デンソー
衝突予測装置
4日前
株式会社デンソー
運転支援装置
4日前
株式会社デンソー
衝突予測装置
4日前
株式会社デンソー
電力変換装置
9日前
株式会社デンソー
電力変換装置
5日前
株式会社デンソー
制御システム
16日前
株式会社デンソー
電圧検出回路
5日前
株式会社デンソー
電気化学セル
13日前
株式会社デンソー
電子制御装置
9日前
株式会社デンソー
ステータコア
16日前
株式会社デンソーエアクール
換気空調装置
10日前
株式会社デンソー
電子制御装置
13日前
株式会社デンソー
車載システム
3日前
株式会社デンソー
運航管理装置
2日前
株式会社デンソー
車載システム
3日前
株式会社デンソー
電波吸収装置
13日前
株式会社デンソー
車両制御装置
3日前
株式会社デンソー
移動体制御装置
10日前
続きを見る
他の特許を見る