TOP
|
特許
|
意匠
|
商標
特許ウォッチ
Twitter
他の特許を見る
10個以上の画像は省略されています。
公開番号
2025139825
公報種別
公開特許公報(A)
公開日
2025-09-29
出願番号
2024038874
出願日
2024-03-13
発明の名称
測定機の管理方法及び管理装置
出願人
株式会社東京精密
代理人
個人
,
個人
,
個人
,
個人
主分類
G01B
21/20 20060101AFI20250919BHJP(測定;試験)
要約
【課題】測定機による形状測定の測定結果に影響を与える要因を容易に特定可能な測定機の管理方法及び管理装置を提供する。
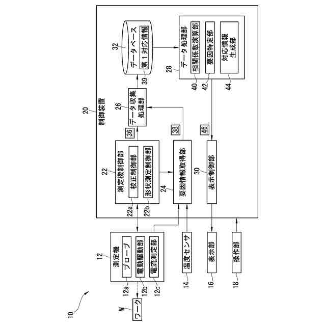
【解決手段】測定機12で測定した被測定物(ワーク)の形状実測値と、形状測定時間と、を含む形状測定結果36を繰り返し取得する測定結果取得部(形状測定制御部22b)と、複数種類の要因ごとに、要因の実測値である要因実測値と、要因実測値の測定時間である要因測定時間と、を含む要因情報38を繰り返し取得する要因情報取得部24と、形状測定結果36ごとに、形状測定結果36と、形状測定結果36の形状測定時間に対応した要因ごとの要因実測値と、を対応付けた第1対応情報39を生成する第1対応情報生成部(データ収集処理部26)と、第1対応情報39に基づいて、要因ごとに形状実測値との相関関係を演算する演算部(相関係数演算部40)と、を備える。
【選択図】図1
特許請求の範囲
【請求項1】
測定機で測定した被測定物の形状の実測値である形状実測値と、前記形状実測値の測定時間である形状測定時間と、を含む形状測定結果を繰り返し取得する測定結果取得ステップと、
前記測定機による前記形状実測値の測定に影響を与える可能性がある複数種類の要因ごとに、前記要因の実測値である要因実測値と、前記要因実測値の測定時間である要因測定時間と、を含む要因情報を繰り返し取得する要因情報取得ステップと、
前記測定結果取得ステップで繰り返し取得した前記形状測定結果と、前記要因情報取得ステップで繰り返し取得した前記要因情報と、に基づいて、前記形状測定結果ごとに、前記形状測定結果と、前記形状測定結果の前記形状測定時間に対応した前記要因ごとの前記要因実測値と、を対応付けた第1対応情報を生成する第1対応情報生成ステップと、
前記第1対応情報生成ステップで生成した前記第1対応情報に基づいて、前記要因ごとに前記形状実測値との相関関係を演算する演算ステップと、
を有する測定機の管理方法。
続きを表示(約 1,300 文字)
【請求項2】
前記形状実測値の測定に影響を与える前記要因を影響要因とした場合に、前記演算ステップの演算処理結果に基づいて、複数種類の前記要因の中から1又は複数の前記影響要因を特定する要因特定ステップを有する請求項1に記載の測定機の管理方法。
【請求項3】
前記要因特定ステップの特定結果を表示部に表示させる表示制御ステップを有する請求項2に記載の測定機の管理方法。
【請求項4】
前記特定結果に基づいて、前記形状測定結果ごとに、前記形状測定結果と、前記形状測定結果の前記形状測定時間に対応した1又は複数の前記影響要因の前記要因実測値と、を対応付けた第2対応情報を生成する第2対応情報生成ステップを有し、
前記表示制御ステップでは、前記特定結果として、前記形状実測値の時系列変化と、前記要因特定ステップで特定された1又は複数の前記影響要因の前記要因実測値の時系列変化と、を表す画像を前記表示部に表示させる請求項3に記載の測定機の管理方法。
【請求項5】
前記表示制御ステップでは、前記画像として、前記形状実測値の時系列変化を示す第1グラフと、1又は複数の前記影響要因の前記要因実測値の時系列変化を示す第2グラフと、を前記表示部に表示させる請求項4に記載の測定機の管理方法。
【請求項6】
前記第1グラフの前記形状実測値に対応する第1軸の目盛り数と、前記第2グラフの前記要因実測値に対応する第2軸の目盛り数と、が一致しており、
前記表示制御ステップでは、前記形状実測値の上限値及び下限値の差分を前記目盛り数で割った値を前記第1軸の1目盛り当たりの数値として決定して前記第1グラフの表示を行い、且つ前記要因実測値の上限値及び下限値の差分を前記目盛り数で割った値を前記第2軸の1目盛り当たりの数値として決定して前記第2グラフの表示を行う請求項5に記載の測定機の管理方法。
【請求項7】
前記表示制御ステップでは、前記第1グラフと前記第2グラフとを重畳して前記表示部に表示させる請求項6に記載の測定機の管理方法。
【請求項8】
前記測定結果取得ステップでは、複数種類の測定項目ごとに、前記形状測定結果を繰り返し取得し、
前記第1対応情報生成ステップでは、前記測定項目ごとに前記第1対応情報を生成し、
前記測定項目ごとに前記演算ステップを実行する請求項1に記載の測定機の管理方法。
【請求項9】
前記測定結果取得ステップでは、複数の前記測定機から前記形状測定結果を繰り返し取得し、
前記第1対応情報生成ステップでは、前記測定機ごとに前記第1対応情報を生成し、
前記演算ステップでは、前記測定機ごとに、前記要因ごとの前記相関関係を演算する請求項1に記載の測定機の管理方法。
【請求項10】
前記測定機がプローブを用いて前記被測定物の形状を測定する場合に、複数種類の前記要因には、前記測定機の設置環境温度、前記測定機に設けられている前記プローブの電動駆動部の駆動電流値及び前記プローブの先端部の半径が含まれる請求項1に記載の測定機の管理方法。
(【請求項11】以降は省略されています)
発明の詳細な説明
【技術分野】
【0001】
本発明は、測定機の管理方法及び管理装置に関する。
続きを表示(約 1,900 文字)
【背景技術】
【0002】
被測定物の形状(寸法を含む)を測定する三次元座標測定機など測定機が知られている。特許文献1に記載の測定機は、測定プログラムに従って被測定物の形状測定を実行する場合に、雰囲気温度(測定機が設置されている室内の温度)及び外部振動等の環境情報を繰り返し取得して、この環境情報を測定機の状態ログと関連付けて時系列で記録している。また、特許文献1に記載の測定機は、被測定物の形状測定中に取得した環境情報が所定の適正範囲から外れた場合には、測定プログラムの実行を中断、すなわち被測定物の形状測定を中断する。
【先行技術文献】
【特許文献】
【0003】
特開2020-71029号公報
【発明の概要】
【発明が解決しようとする課題】
【0004】
上記特許文献1に記載の測定機では、測定機の状態ログと環境情報とを関連付けて時系列で記録しているので、この記録情報に基づいて測定機による形状測定の測定結果に影響を及ぼす環境情報(要因)を特定可能である。しかしなから、この場合にはユーザが記録情報を分析する必要があるので、煩雑な作業が要求され且つ高度な知見が必要とされるという問題がある。具体的には、測定機による形状測定の測定結果とそれに影響を与える可能性のある要因の組み合わせは膨大な数が想定できるので、それらを特定する作業は煩雑となる。また、ユーザごとに測定機の測定環境及び測定方法などが異なるため、一般論的な分析がしづらく、いわゆる現地担当者の経験及び勘による分析が必要であるので、高度な知見が必要とされる。
【0005】
本発明はこのような事情に鑑みてなされたものであり、測定機による形状測定の測定結果に影響を与える要因を容易に特定可能な測定機の管理方法及び管理装置を提供することを目的とする。
【課題を解決するための手段】
【0006】
本発明の目的を達成するための測定機の管理方法は、測定機で測定した被測定物の形状の実測値である形状実測値と、形状実測値の測定時間である形状測定時間と、を含む形状測定結果を繰り返し取得する測定結果取得ステップと、測定機による形状実測値の測定に影響を与える可能性がある複数種類の要因ごとに、要因の実測値である要因実測値と、要因実測値の測定時間である要因測定時間と、を含む要因情報を繰り返し取得する要因情報取得ステップと、測定結果取得ステップで繰り返し取得した形状測定結果と、要因情報取得ステップで繰り返し取得した要因情報と、に基づいて、形状測定結果ごとに、形状測定結果と、形状測定結果の形状測定時間に対応した要因ごとの要因実測値と、を対応付けた第1対応情報を生成する第1対応情報生成ステップと、第1対応情報生成ステップで生成した第1対応情報に基づいて、要因ごとに形状実測値との相関関係を演算する演算ステップと、を有する。
【0007】
この測定機の管理方法によれば、形状実測値と複数種類の要因の要因実測値との相関関係を自動で求められる。
【0008】
本発明の他の態様に係る測定機の管理方法において、形状実測値の測定に影響を与える要因を影響要因とした場合に、演算ステップの演算処理結果に基づいて、複数種類の要因の中から1又は複数の影響要因を特定する要因特定ステップを有する。これにより、複数種類の要因の中から影響要因を自動で特定することができる。
【0009】
本発明の他の態様に係る測定機の管理方法において、要因特定ステップの特定結果を表示部に表示させる表示制御ステップを有する。これにより、形状実測値と影響要因の要因実測値との相関関係をユーザに理解させることができる。
【0010】
本発明の他の態様に係る測定機の管理方法において、特定結果に基づいて、形状測定結果ごとに、形状測定結果と、形状測定結果の形状測定時間に対応した1又は複数の影響要因の要因実測値と、を対応付けた第2対応情報を生成する第2対応情報生成ステップを有し、表示制御ステップでは、第2対応情報生成ステップで生成した第2対応情報に基づいて、特定結果として、形状実測値の時系列変化と、要因特定ステップで特定された1又は複数の影響要因の要因実測値の時系列変化と、を表す画像を表示部に表示させる。これにより、形状実測値と影響要因の要因実測値との相関関係をユーザに理解させることができる。
(【0011】以降は省略されています)
この特許をJ-PlatPat(特許庁公式サイト)で参照する
関連特許
株式会社東京精密
加工装置
10日前
株式会社東京精密
搬送装置
8日前
株式会社東京精密
加工装置
15日前
株式会社東京精密
プローバ
9日前
株式会社東京精密
加工装置
8日前
株式会社東京精密
プローバ
19日前
株式会社東京精密
プローバ
15日前
株式会社東京精密
プローバ
10日前
株式会社東京精密
加工装置
29日前
株式会社東京精密
加工装置
10日前
株式会社東京精密
プローバ
16日前
株式会社東京精密
加工装置
29日前
株式会社東京精密
研削装置
8日前
株式会社東京精密
プローバ
29日前
株式会社東京精密
加工方法
10日前
株式会社東京精密
研削装置
4日前
株式会社東京精密
亀裂測定器
8日前
株式会社東京精密
亀裂測定器
8日前
株式会社東京精密
電池検査装置
19日前
株式会社東京精密
半導体製造装置
8日前
株式会社東京精密
レーザ加工装置
8日前
株式会社東京精密
テープ貼付装置
8日前
株式会社東京精密
レーザ加工装置
8日前
株式会社東京精密
レーザ加工装置
8日前
株式会社東京精密
ダイシング装置
8日前
株式会社東京精密
ダイシング装置
4日前
株式会社東京精密
ハブレスブレード
10日前
株式会社東京精密
スラリー供給装置
1か月前
株式会社東京精密
加工装置及び加工方法
8日前
株式会社東京精密
ケーブルのガイド方法
8日前
株式会社東京精密
吸着装置及び研削装置
8日前
株式会社東京精密
収容ボックスシステム
9日前
株式会社東京精密
ウェーハの面取り装置
8日前
株式会社東京精密
校正方法及び校正装置
15日前
株式会社東京精密
ウェーハの面取り装置
8日前
株式会社東京精密
CMP装置及び研磨方法
9日前
続きを見る
他の特許を見る