TOP
|
特許
|
意匠
|
商標
特許ウォッチ
Twitter
他の特許を見る
10個以上の画像は省略されています。
公開番号
2025139622
公報種別
公開特許公報(A)
公開日
2025-09-29
出願番号
2024038560
出願日
2024-03-13
発明の名称
胚培養用ディッシュ
出願人
医療法人浅田レディースクリニック
,
株式会社アステック
代理人
弁理士法人明成国際特許事務所
主分類
C12M
1/22 20060101AFI20250919BHJP(生化学;ビール;酒精;ぶどう酒;酢;微生物学;酵素学;突然変異または遺伝子工学)
要約
【課題】複数個のウエルを備える胚培養用ディッシュを用いた作業の作業性を向上させる。
【解決手段】胚培養用ディッシュの底部には、平面視において予め定めた配列方向に配置され、胚を培養液と共に収容可能な複数個のウエルと、前記ウエルの各々と共に前記培養液を保持可能な第1凹部であって、前記複数個の前記ウエルの他の第1凹部とは独立に配置された第1凹部と、記底部の表面より低い位置に設けられ、前記ウエルと当該ウエルに対して配置された前記第1凹部とを連通する連通部と、前記第1凹部内の前記培養液の吸い出し作業を容易化する容易化構造とを備える。
【選択図】図5
特許請求の範囲
【請求項1】
胚培養用ディッシュであって、
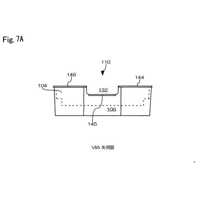
前記胚培養用ディッシュの底部に、平面視において予め定めた配列方向に配置され、胚を培養液と共に収容可能な複数個のウエルと、
前記ウエルの各々と共に前記培養液を保持可能な第1凹部であって、前記複数個の前記ウエルの他の第1凹部とは独立に配置された第1凹部と、
記底部の表面より低い位置に設けられ、前記ウエルと当該ウエルに対して配置された前記第1凹部とを連通する連通部と、
前記第1凹部内の前記培養液の吸い出し作業を容易化する容易化構造と、
を備える、胚培養用ディッシュ。
続きを表示(約 1,100 文字)
【請求項2】
前記容易化構造は、前記底部に設けられて前記培養液を保持可能な第2凹部であって、前記複数個のウエルの各々に対して、当該ウエルと連通し、他の第1凹部および他の第2凹部とは独立に設けられた第2凹部が、連通する前記ウエルを挟んで、前記第1凹部とは対向する位置に設けられた構造である、請求項1に記載の胚培養用ディッシュ。
【請求項3】
前記容易化構造は、前記第1凹部の底面を、前記ウエル側とは反対側に向けて徐々に浅くなるテーパとした構造である、請求項1に記載の胚培養用ディッシュ。
【請求項4】
当該胚培養用ディッシュは、平面視において、第1方向の最大寸法が、前記第1方向に直交する第2方向の最大寸法より大きく、
前記容易化構造は、前記第1凹部が、前記複数個の前記ウエルの各々に対して前記第2方向に離間して配置された構造である、請求項1に記載の胚培養用ディッシュ。
【請求項5】
前記容易化構造は、前記胚培養用ディッシュの前記底部の外周に、所定の高を有する外周壁を設け、前記第1凹部から前記第2方向に延長した位置に存在する前記外周壁の高さを、他の外周壁より低くした構造である、請求項4に記載の胚培養用ディッシュ。
【請求項6】
請求項1に記載の胚培養用ディッシュであって、
外周を、2×N(Nは2以上の整数)角形とする外周壁を備え、
前記外周壁の外側に、当該胚培養用ディッシュを把持する際に使用者の手指による把持を補助する把持補助構造を備える、胚培養用ディッシュ。
【請求項7】
前記胚培養用ディッシュは、前記底部の外周に、所定の高を有する外周壁を備え、
前記外周壁の上端外側には、把持補助構造としての突起または突条が形成されており、
前記突起または突条の高さは、前記外周壁の壁面から0.1~1.0mmである、
請求項6に記載の胚培養用ディッシュ。
【請求項8】
前記胚培養用ディッシュの開口部を覆う蓋体を備え、
前記蓋体の端部外側には、高さが0.1~1.0mmの突起または突条が形成されている、
請求項6に記載の胚培養用ディッシュ。
【請求項9】
更に、前記連通部における前記培養液の流動は許容し、前記ウエルに収容された前記胚の移動を阻害する移動阻害部を備える、請求項1から請求項8のいずれか一項に記載の胚培養用ディッシュ。
【請求項10】
前記移動阻害部は、前記連通部に設けられ、前記ウエルおよび前記第1凹部の最深部より高い隆起部として形成された、請求項9に記載の胚培養用ディッシュ。
(【請求項11】以降は省略されています)
発明の詳細な説明
【技術分野】
【0001】
本開示は、胚培養に用いられるディッシュおよびこのディッシュを用いた染色体解析用胚培養液の採取方法に関する。
続きを表示(約 2,700 文字)
【背景技術】
【0002】
不妊治療に対する社会的要請が高まっており、受精処置された処置卵や胚(以下、総称して胚という)を培養する技術およびこれに伴う検査などの手法が種々提案されている(例えば特許文献1)。特に近年、培養中の胚の染色体解析のニーズが高まっており、胚を培養している培養液中に存在する胚から遊離したDNAを解析し、胚の染色体異数性などを解析する手法も提案されてる。こうした検査には、所定量の培養液が必要となる。現状では、数μlから数十μl程度の培養液を吸い上げて検査に用いる。
【0003】
培養液の吸い上げを容易にする胚培養用ディッシュについて、出願人は、特許文献2に記載のものを提案している。
【先行技術文献】
【特許文献】
【0004】
特表2014-507664号公報
特開2023-25739号公報
【発明の概要】
【発明が解決しようとする課題】
【0005】
特許文献2記載のディッシュは、培養液の吸い上げを行なっても、培養中の胚に対する影響が小さい優れたものであるが、胚培養装置からディッシュを取り出して行なう操作は、できる限り短時間で、かつミス無く完了する必要があり、こうした作業性向上の観点からの更なる改善を検討した。また、同様の問題が、ディッシュ自体を取り扱う場合にも生じることがあった。これはディッシュそのものを作業者が指で挟んで持ち上げたり、蓋を外したり嵌めたりする場合、ディッシュを取り落としたり、持ち上げ損なったりして、培養液や処置卵、更には作業時間をロスすることに繋がりかねない、という問題であった。
【課題を解決するための手段】
【0006】
本開示は、以下の形態又は適用例として実現することが可能である。
【0007】
本開示の胚培養用ディッシュは、平面視において、第1方向の最大寸法が、前記第1方向に直交する第2方向の最大寸法より大きく、当該胚培養用ディッシュの底部に、胚を培養液と共に収容可能な複数個のウエルと、前記培養液を保持可能な第1凹部であって、前記複数個の前記ウエルの各々に対して前記第2方向に離間して、他の第1凹部とは独立に配置された第1凹部と、記底部の表面より低い位置に設けられ、前記ウエルと当該ウエルに対して配置された前記第1凹部とを連通する連通部と、を備える。この胚培養用ディッシュは、その培養液の補充、交換、胚の移動などの複数個のウエルを備えた胚培養用ディッシュを用いた作業の作業性を高める。
【図面の簡単な説明】
【0008】
第1実施形態としての胚培養装置の平面図。
培養室内に配置された胚培養用ディッシュを例示する平面図。
図2におけるIII-III矢視図。
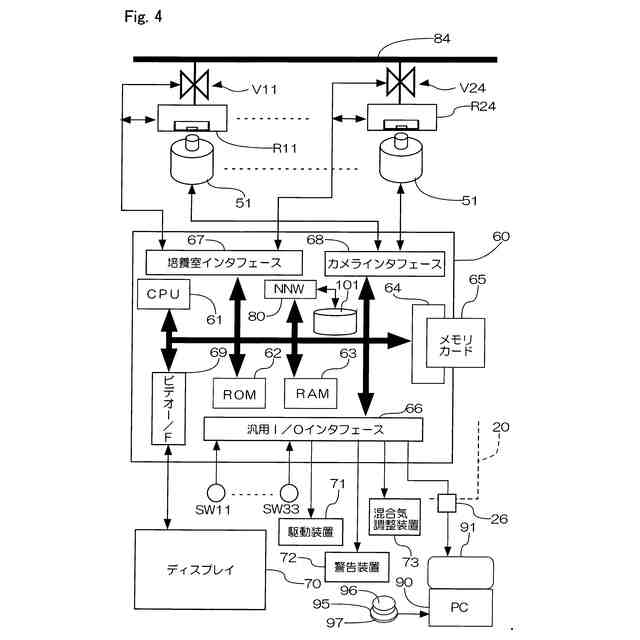
胚培養装置の電気的な構成を示す説明図。
胚培養用ディッシュを、蓋と共に例示する斜視図。
胚培養用ディッシュの一例を示す平面図。
同じくその正面図。
同じくその右側面図。
蓋体とディッシュとの嵌め合いを示す説明図。
胚培養用ディッシュの一部を拡大して示す説明図。
図9におけるX-X矢視図。
ウエルと第1および第2凹部に培養液が満たされた状態を示す説明図。
収容部に培養液を満たし、ライスオイルで覆った状態を示す説明図。
第1凹部から培養液を吸い出す様子を示す説明図。
第2実施形態の胚培養用ディッシュの一部を拡大して示す説明図。
第2実施形態の胚培養用ディッシュのウエルと第1凹部の形状を示す断面図。
第3実施形態のウエルの形状を示す説明図。
第4実施形態のウエルの形状を示す説明図。
第5実施形態のウエルの形状を示す説明図。
第6実施形態の胚培養用ディッシュを例示する平面図。
第6実施形態の胚培養用ディッシュの各部断面を示す説明図。
第6実施形態の胚培養用ディッシュに設けられたウエルの拡大平面図。
第7実施形態の胚培養用ディッシュを例示する三面図。
第7実施形態の胚培養用ディッシュで用いられる蓋体を例示する三面図。
第7実施形態の蓋体を上面斜視図および下面斜視図を組み合わせて示す説明図。
第8実施形態としての丸形のディッシュの一形態を示す斜視図。
第8実施形態のディッシュを中心を通る垂直面で切断した場合のXXVI-XXVI矢視端面図。
第9実施形態としての角形のディッシュの一形態を示す斜視図。
【発明を実施するための形態】
【0009】
A.第1実施形態:
(A-1)ハードウェア構成:
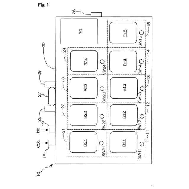
図1は、胚培養装置(インキュベータとも呼ぶ)10の平面図、図2は、胚培養装置10の1つの培養室内に配置された胚培養用ディッシュを模式的に示す説明図、である。この胚培養装置10は、体外受精の処置がなされた卵子(以下、処置卵という)を一定期間、所定の培養環境、即ち恒温・恒湿度で培養するためのものである。処置卵は、必ずしも受精卵とは限らないため、胚培養装置10において所定の期間培養される。なお、体外受精の処置は顕微鏡下で行なわれる顕微授精の場合もあれば、卵子と精子を所定の容器内で一緒にして行なわれる通常の体外受精の場合も有り得る。培養する処置卵の受精の手法は問わない。
【0010】
この胚培養装置10は、図1に示したように、胚培養を行なう合計9個の培養ユニットを備え、下段に培養ユニット11~15の5つ、上段に培養ユニット21~24の4つ、配列している。以下、培養ユニットに関連する部材については、まとめて呼ぶ場合は、培養ユニット11~24のように表記する。もとより、培養ユニットの数は問わない。各培養ユニット11~24は、培養室R11~R24と、各培養室R11~R24のそれぞれを密閉するカバー17と、スイッチSW11~SW24とを備える。スイッチSW11~SW24を操作することで、対応する培養ユニット11~24のカバー17が、図示しない駆動機構によって開閉される。もとより、培養ユニット11~24は、手動で開け閉めする構造であっても差し支えない。カバー17の培養室R11~R24側には、シリコンゴムのシール部が設けられており、カバー17が閉まると、培養室R11~R24内は、このシール部により、気密状態に保たれる。
(【0011】以降は省略されています)
この特許をJ-PlatPat(特許庁公式サイト)で参照する
関連特許
個人
抗遺伝子劣化装置
1か月前
個人
細胞内探査とその利用
1か月前
合同酒精株式会社
麦汁の製造方法
5か月前
雪国アグリ株式会社
単糖類の製造方法
今日
日本バイリーン株式会社
細胞用支持基材
3か月前
杏林製薬株式会社
核酸検出用PCR溶液
4か月前
個人
細胞培養容器
3か月前
株式会社タクマ
バイオマス処理装置
2か月前
東洋紡株式会社
改変型RNAポリメラーゼ
3か月前
株式会社タクマ
バイオマス処理装置
2か月前
株式会社東洋新薬
経口組成物
1か月前
テルモ株式会社
吐出デバイス
1か月前
学校法人近畿大学
培養肉の製造方法
4か月前
日油株式会社
蛋白質安定化剤
3か月前
サッポロビール株式会社
飲料
4か月前
宝酒造株式会社
アルコール飲料
9日前
テルモ株式会社
容器蓋デバイス
1か月前
東ソー株式会社
pH応答性マイクロキャリア
1か月前
大陽日酸株式会社
培養装置
1か月前
大陽日酸株式会社
培養装置
1か月前
JNC株式会社
アデノ随伴ウイルスの精製方法
4か月前
株式会社ファンケル
SEC12タンパク発現促進剤
2か月前
トヨタ自動車株式会社
バイオ燃料製造方法
27日前
セージ セラピューティクス, インコーポレイテッド
C7、C12、およびC16置換神経刺激性ステロイドおよびそれらの使用方法
6か月前
株式会社東海ヒット
灌流培養ユニット
3か月前
株式会社豊田中央研究所
細胞励起装置
7日前
アサヒビール株式会社
柑橘風味アルコール飲料
3か月前
アサヒビール株式会社
柑橘風味アルコール飲料
3か月前
個人
ナノ微粒子の製造方法
4か月前
オンキヨー株式会社
浸漬酒の製造方法、及び、浸漬酒
3か月前
ヤマト科学株式会社
インキュベータ
4か月前
日本特殊陶業株式会社
メタン発生抑制装置
5か月前
テルモ株式会社
採取組織細切補助デバイス
1か月前
個人
超音波機能着きウィスキー熟成ボトル用のキャップ
4か月前
株式会社シャローム
スフィンゴミエリン製造方法
1か月前
株式会社アテクト
培養シート
5か月前
続きを見る
他の特許を見る