TOP
|
特許
|
意匠
|
商標
特許ウォッチ
Twitter
他の特許を見る
公開番号
2025139376
公報種別
公開特許公報(A)
公開日
2025-09-26
出願番号
2024038285
出願日
2024-03-12
発明の名称
有機物を含む廃水の処理装置、及び処理方法
出願人
国立大学法人愛媛大学
,
積水アクアシステム株式会社
,
廣瀬製紙株式会社
,
個人
,
個人
,
チョウ ウァンニ
代理人
弁理士法人新樹グローバル・アイピー
主分類
C02F
1/72 20230101AFI20250918BHJP(水,廃水,下水または汚泥の処理)
要約
【課題】 水中の難分解性有機物を低コスト、低エネルギーコストで処理して、生態毒性を低減化する。
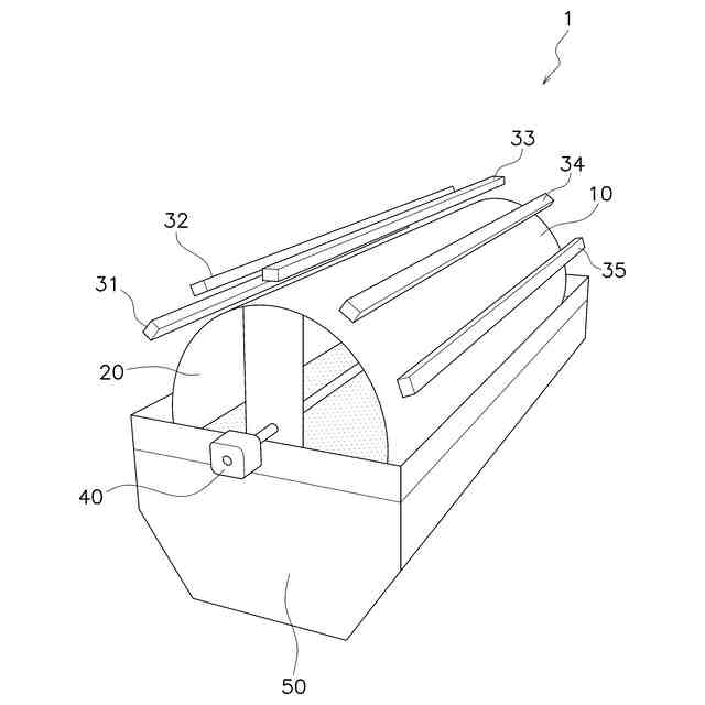
【解決手段】 本開示の廃水処理装置(1)は、廃水を貯留するタンク(50)と、酸化チタンとゼオライトを含む複合シート(10)と、前記複合シート(10)が表面に貼り付けられた回転ドラム(20)であって、前記タンク(50)に水を貯留した状態で、前記複合シートの表面の一部が水に浸漬し、一部が水面上にあるように配置されている回転ドラム(30)と、前記回転ドラム(30)を、前記タンク(50)に水を貯留した状態で、複合シート(10)の表面の一部が水に浸漬し、一部が水面上にある状態を保って、回転させるモーター(40)と、水面上にある前記複合シート(10)に対して、前記複合シート(10)の表面鉛直方向を含む方向から紫外線を照射する紫外線光源(30、31~35)とを備える。
【選択図】図1
特許請求の範囲
【請求項1】
有機物を含む廃水の処理装置であって、
廃水を貯留するタンクと、
酸化チタンとゼオライトを含む複合シートと、
前記複合シートが表面に貼り付けられた回転ドラムであって、前記タンクに水を貯留した状態で、前記複合シートの表面の一部が水に浸漬し、一部が水面上にあるように配置されている回転ドラムと、
前記回転ドラムを、前記タンクに水を貯留した状態で、複合シートの表面の一部が水に浸漬し、一部が水面上にある状態を保って、回転させるモーターと、
水面上にある前記複合シートに対して、前記複合シートの表面鉛直方向を含む方向から紫外線を照射する紫外線光源と
を備えた廃水処理装置。
続きを表示(約 720 文字)
【請求項2】
前記複合シートは、さらに、繊維を含む、請求項1に記載の廃水処理装置。
【請求項3】
前記複合シートに含まれるゼオライトは、SiO
2
/Al
2
O
3
の比が50以上200以下である、請求項1又は2に記載の廃水処理装置。
【請求項4】
酸化チタンとゼオライトを含む複合シートを用いて、有機物を含む廃水を処理する方法であって、
前記複合シートを、有機物を含む廃水に浸漬するステップ(a)と、
前記ステップ(a)の後で、大気中で、水分が付着した前記複合シートに、前記複合シートの表面鉛直方向を含む方向から紫外線を照射するステップ(b)と、
前記ステップ(b)の後で、前記複合シートを再び前記有機物を含む廃水に浸漬する前に、水分が付着した前記複合シートに、前記複合シートの表面鉛直方向を含む方向から紫外線を照射するステップ(c)と、
を含む、廃水処理方法。
【請求項5】
前記ステップ(a)~(c)を繰り返す、請求項4に記載の廃水処理方法。
【請求項6】
廃水処理装置を用いて、有機物を含む廃水を処理する方法であって、
回転ドラムの表面に貼り付けられた、酸化チタンとゼオライトを含む複合シートを、前記複合シートの表面の一部が前記廃水に浸漬し、一部が水面上にある状態を保って、連続的に回転させ、
前記複合シートの水面上にある部分の特定の部分が水面上にある間に、水分が付着した状態で、前記複合シートの表面鉛直方向を含む方向から紫外線を複数回照射する、
廃水処理方法。
発明の詳細な説明
【技術分野】
【0001】
本開示は、有機物を含む廃水の処理装置、及び、処理方法に関する。本開示の廃水の処理装置、及び処理方法は、特に、促進酸化法を利用した、難分解性有機物を含む廃水の処理に適する。
続きを表示(約 3,400 文字)
【背景技術】
【0002】
廃水中の難分解性有機物の除去技術として、促進酸化法が知られている。促進酸化法とは、酸化チタンなどの光触媒を用いて、廃水中の難分解性有機物を分解する方法である。酸化チタンなどの光触媒は、太陽光照射下で活性酸素種を生成し難分解性有機物を分解できることから、光触媒分解は省エネルギーな促進酸化法として期待されている。
【0003】
しかしながら、促進酸化法には課題も存在する。廃水中の共存物質による反応阻害、スケールアップにともなう水中での透過光減衰による処理性能の低下などである。それらを克服しうる光触媒装置の開発が求められている。これらの課題に対して、発明者らは、酸化チタンと高シリカ型ゼオライトを複合したシート触媒を開発し、促進酸化法で利用することを提案してきた(非特許文献1)。
【先行技術文献】
【非特許文献】
【0004】
Y. Nomura et al., J. Water Process Eng., 48 (2022) 102936.
【発明の概要】
【発明が解決しようとする課題】
【0005】
従来の促進酸化法では、廃水中の共存物質による反応阻害、光触媒に十分な光が供給されないことによる処理性能が十分でないなどの課題があった。
【課題を解決するための手段】
【0006】
本開示の第1の廃水処理装置は、有機物を含む廃水の処理装置であって、
廃水を貯留するタンクと、
酸化チタンとゼオライトを含む複合シートと、
前記複合シートが表面に貼り付けられた回転ドラムであって、前記タンクに水を貯留した状態で、シートの表面の一部が水に浸漬し、一部が水面上にあるように配置されている回転ドラムと、
前記回転ドラムを、前記タンクに水を貯留した状態で、複合シートの表面の一部が水に浸漬し、一部が水面上にある状態を保って、回転させるモーターと、
水面上にある前記複合シートに対して、前記複合シートの表面鉛直方向を含む方向から紫外線を照射する紫外線光源とを備える。
【0007】
また、本開示の廃水処理方法は、酸化チタンゼオライト複合シートを用いて、有機物を含む廃水を処理する方法であって、
(a)複合シートを、有機物を含む廃水に浸漬するステップと、
(b)ステップ(a)の後で、大気中で、水分が付着した前記複合シートに、複合シートの表面鉛直方向を含む方向から紫外線を照射し、
(c)前記ステップ(b)の後で、前記複合シートを再び前記有機物を含む廃水に浸漬する前に、水分が付着した前記複合シートに、前記複合シートの表面鉛直方向を含む方向から紫外線を照射するステップ(c)と、
を含む。
【発明の効果】
【0008】
本開示の廃水処理装置は、酸化チタンとゼオライトを含む複合シートを、回転ドラムの表面に貼り付け、複合シートが水中と大気中を移動し、複合シートが大気中において、複合シートの表面に垂直を含む方向から紫外線を照射するので、紫外線によって、効率よく複合シートの触媒機能を利用することができ、有機物を効率よく分解し、生態毒性を低減化することができる。
【図面の簡単な説明】
【0009】
本実施形態の廃水処理装置1(RAOC)の概略斜視図である。
参考例の廃水処理装置1aにおける紫外線照射効率を説明する模式側面図である。
本実施形態の廃水処理装置1における紫外線照射効率を説明する模式側面図である。
本実施形態の廃水処理装置1において、廃水中の疎水性医薬品が分解される様子を模式的に説明する図である。
実施例1において、サルファメタジン溶液(SMT溶液)を、酸化チタンゼオライト複合シート10を用いた廃水処理装置1(RAOC)によって処理したときの、処理水中のSMT量(mg)、複合シート中のSMT量(mg)、処理水中と複合シート中を合わせた系内のSMT量(mg)の処理時間依存性(h)を示す図である。横軸の上部には、紫外線照射量(UV Dose(MJ/cm
2
))を示している。
実施例1において、サルファメタジン溶液(SMT溶液)を、酸化チタンゼオライト複合シート10を用いた廃水処理装置1(RAOC)によって処理したときの、生分解阻害率(%)と、処理水中の全有機炭素濃度(TOC濃度(PPM))の処理時間依存性(h)を示す図である。横軸の上部には、UV照射による投入エネルギー(紫外線照射量(MJ/cm
2
)を示している。
実施例1(酸化チタンゼオライト複合シート使用、TiO
2
-Zeolite composite sheet)、比較例1(酸化チタンシート使用、TiO
2
-Only sheet)において、サルファメタジン溶液(SMT溶液)を、廃水処理装置1(RAOC)によって、107時間処理したとき、処理時点における試料(横軸において、Aは暗条件、Dは明条件、数字は各条件での処理時間を示す。)の増殖阻害率(%)を示す図である。
実施例1において、サルファメタジン溶液(SMT溶液)を、酸化チタンゼオライト複合シート10を用いた廃水処理装置1(RAOC)によって処理したときの、処理水中のSMT-OH量、複合シート中のSMT-OH量、処理水中と複合シート中を合わせた系内のSMT-OH量の処理時間(h)依存性を示す図である。処理時間依存性は、明条件処理の開始時間を0としている。SMT-OH量は、最大値で規格化した値(ピーク面積比)である。
実施例1において、サルファメタジン溶液(SMT溶液)を、酸化チタンゼオライト複合シート10を用いた廃水処理装置1(RAOC)によって処理したときの、処理水中のADMP量、複合シート中のADMP量、処理水中と複合シート中を合わせた系内のADMP量の処理時間(h)依存性を示す図である。処理時間依存性は、明条件処理の開始時間を0としている。ADMP量は、最大値で規格化した値(ピーク面積比)である。
実施例1において、サルファメタジン溶液(SMT溶液)を、酸化チタンゼオライト複合シート10を用いた廃水処理装置1(RAOC)によって処理したときの、処理水中のADMP-OH量、複合シート中のADMP-OH量、処理水中と複合シート中を合わせた系内のADMP-OH量の処理時間(h)依存性を示す図である。処理時間依存性は、明条件処理の開始時間を0としている。ADMP-OH量は、最大値で規格化した値(ピーク面積比)である。
実施例1において、サルファメタジン溶液(SMT溶液)を、酸化チタンゼオライト複合シート10を用いた廃水処理装置1(RAOC)によって処理したときの、処理水中のp-AP量、複合シート中のp-AP量、処理水中と複合シート中を合わせた系内のp-AP量の処理時間(h)依存性を示す図である。処理時間依存性は、明条件処理の開始時間を0としている。p-AP量は、最大値で規格化した値(ピーク面積比)である。
実施例1において、サルファメタジン溶液(SMT溶液)を、酸化チタンゼオライト複合シート10を用いた廃水処理装置1(RAOC)によって処理したときの、処理水中のADMP濃度とp-AP濃度(mg/L)の処理時間(h)依存性を示す図である。処理時間依存性は、明条件処理の開始時間を0としている。
サルファメタジン(SMT)の用量応答曲線である。
ADMPの用量応答曲線である。
【発明を実施するための形態】
【0010】
本開示は、促進酸化法を用いた、有機物を含む廃水の処理に関する。ここで、廃水とは、畜産業、養殖施設、医療施設などの廃水、都市の生活排水を含む。有機物としては、特に難分解性有機物、又は/及び、医薬品である。医薬品としては、特に抗生物質である。
(【0011】以降は省略されています)
特許ウォッチbot のツイートを見る
この特許をJ-PlatPat(特許庁公式サイト)で参照する
関連特許
AGC株式会社
ガラス
4か月前
国立大学法人愛媛大学
ASC欠損非ヒト哺乳動物
8か月前
国立大学法人愛媛大学
カイコガ科に属する昆虫由来の高分子化合物
2か月前
国立大学法人愛媛大学
有機物を含む廃水の処理装置、及び処理方法
2か月前
国立大学法人愛媛大学
骨孔作製制御装置、および、骨孔作製制御方法
3か月前
イトマン株式会社
検査用基材及びその製造方法
2か月前
イトマン株式会社
検査用基材及びその製造方法
2か月前
三浦工業株式会社
揮発性有機化合物群の捕集材
6か月前
国立大学法人愛媛大学
プラスチック用添加材、樹脂複合材及びこれらの製造方法
1か月前
国立大学法人愛媛大学
ダイヤモンド膜形成デバイスおよびダイヤモンド膜の形成方法
21日前
国立大学法人愛媛大学
枝葉年齢推定システム、枝葉年齢推定方法、およびコンピュータプログラム
8か月前
株式会社安藤・間
混和材料、セメント組成物、セメント硬化体およびセメント硬化体の製造方法
2か月前
公立大学法人大阪
被験者候補抽出システム、被験者候補抽出装置、被験者候補抽出方法及びプログラム
7か月前
国立大学法人愛媛大学
破骨細胞分化阻害剤、及びin vitroにおいて破骨細胞前駆細胞から破骨細胞への分化を抑制する方法
6か月前
国立大学法人愛媛大学
ダイヤモンド膜等を形成するためのデバイスおよびその形成方法
5か月前
国立大学法人愛媛大学
新規鉄酸化細菌、その鉄酸化細菌を含む資材、及びその鉄酸化細菌を用いたヒ素含有液体中におけるヒ素の除去方法
6か月前
清水建設株式会社
浮体構造物および洋上風力発電施設
7か月前
株式会社げんき
液体活性化装置
24日前
新・産業洗浄株式会社
曝気装置
今日
株式会社ウィズアクア
水質浄化装置
1か月前
三浦工業株式会社
汚泥乾燥加熱釜
1か月前
株式会社ライトアース
水循環式水質浄化システム
1か月前
名古屋メッキ工業株式会社
溶存金属析出装置
1か月前
スタンレー電気株式会社
流体除菌装置
29日前
三浦工業株式会社
精製水供給システム
1か月前
栗田工業株式会社
電気イオン濃縮装置
1か月前
栗田工業株式会社
逆浸透膜装置の運転方法
24日前
栗田工業株式会社
超純水製造装置の制御方法
1か月前
オルガノ株式会社
UV照射装置
23日前
WOTA株式会社
液性判定システム及び液性判定方法
1か月前
有限会社フリーウェー
浄水装置
23日前
株式会社神鋼環境ソリューション
貯留槽
1か月前
栗田工業株式会社
電気脱イオン装置の運転方法
1か月前
大成建設株式会社
中和処理システムと中和処理方法
今日
ジヤトコ株式会社
排水回収システム
8日前
個人
海水の塩分除去装置と淡水製造方法
9日前
続きを見る
他の特許を見る