TOP
|
特許
|
意匠
|
商標
特許ウォッチ
Twitter
他の特許を見る
10個以上の画像は省略されています。
公開番号
2025074035
公報種別
公開特許公報(A)
公開日
2025-05-13
出願番号
2024186466
出願日
2024-10-23
発明の名称
揮発性有機化合物群の捕集材
出願人
三浦工業株式会社
,
国立大学法人愛媛大学
代理人
個人
主分類
G01N
1/22 20060101AFI20250502BHJP(測定;試験)
要約
【課題】空間に含まれ得るカルボニル化合物を含む揮発性有機化合物群を同時に捕集し、同時に分析できるようにする。
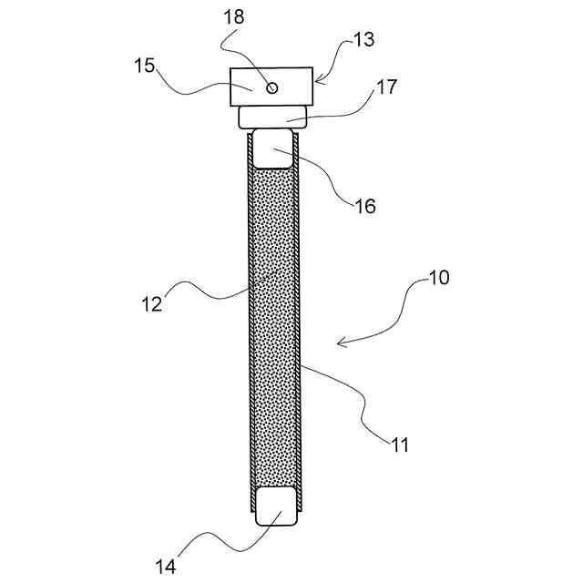
【解決手段】空間から揮発性有機化合物群を受動的に捕集可能な捕集器10は、通気性を有する容器11内に充填された捕集材12を備えており、容器11の両端の開口は第1栓体13および第2栓体14によりそれぞれ密封されている。捕集材12は、揮発性有機化合物群に対して不活性でありかつ揮発性有機化合物群を脱着可能に捕捉可能な粒状の第1多孔質材と、第1多孔質材と混合された、揮発性有機化合物群に対して不活性でありかつカルボニル化合物との反応により気化性の誘導体を生成可能な反応性化合物により処理された粒状の第2多孔質材とを含む。第1多孔質材の例は活性炭であり、第2多孔質材の例は反応性化合物であるオルト-(2,3,4,5,6-ペンタフルオロベンジル)ヒドロキシルアミンにより処理されたシリカゲルである。
【選択図】図1
特許請求の範囲
【請求項1】
空間に含まれ得るカルボニル化合物を含む揮発性有機化合物群を捕集可能な捕集材であって、
前記揮発性有機化合物群に対して不活性でありかつ前記揮発性有機化合物群を脱着可能に捕捉可能な粒状の第1多孔質材と、
第1多孔質材と混合された、前記揮発性有機化合物群に対して不活性でありかつ前記カルボニル化合物との反応により気化性の誘導体を生成可能な反応性化合物により処理された粒状の第2多孔質材と、
を含む揮発性有機化合物群の捕集材。
続きを表示(約 1,700 文字)
【請求項2】
前記反応性化合物がオルト-(2,3,4,5,6-ペンタフルオロベンジル)ヒドロキシルアミン若しくはその塩またはペンタフルオロフェニルヒドラジンである、請求項1に記載の揮発性有機化合物群の捕集材。
【請求項3】
前記揮発性有機化合物群がトルエン、キシレン、パラジクロロベンゼン、エチルベンゼン、スチレン、テトラデカン、ホルムアルデヒドおよびアセトアルデヒドを含む、請求項1または2に記載の揮発性有機化合物群の捕集材。
【請求項4】
前記揮発性有機化合物群が2-エチル-1-ヘキサノール、2,2,4-トリメチル-1,3-ペンタンジオールモノイソブチレートおよび2,2,4-トリメチル-1,3-ペンタンジオールジイソブチレートをさらに含む、請求項3に記載の揮発性有機化合物群の捕集材。
【請求項5】
空間に含まれ得るカルボニル化合物を含む揮発性有機化合物群を分析するために、前記空間から前記揮発性有機化合物群を受動的に捕集可能な捕集器であって、
通気性を有する容器と、
前記容器内に配置された請求項1または2に記載の捕集材と、
を備えた揮発性有機化合物群の捕集器。
【請求項6】
空間に含まれ得るカルボニル化合物を含む揮発性有機化合物群を分析するために、前記空間から前記揮発性有機化合物群を受動的に捕集可能な捕集器であって、
前記揮発性有機化合物群に対して不活性でありかつ前記揮発性有機化合物群を脱着可能に捕捉可能な粒状の第1多孔質材を含む、一端が閉鎖されかつ他端が開口した筒状の第1容器と、
前記揮発性有機化合物群に対して不活性でありかつ前記カルボニル化合物との反応により気化性の誘導体を生成可能な反応性化合物により処理された粒状の第2多孔質材を含む、一端が閉鎖されかつ他端が開口した筒状の第2容器と、
第1容器と第2容器とをそれぞれの開口側の端部間で連結する、第1容器または第2容器を内部において他方の容器方向へ移動させることのできる管体と、
前記管体の内部を第1容器側と第2容器側とに区画する、第1容器または第2容器を他方の容器方向へ移動したときに損壊して第1容器と第2容器とを通じさせる膜体と、
を備え、
第1容器または第2容器が通気性を有している、
揮発性有機化合物群の捕集器。
【請求項7】
前記反応性化合物がオルト-(2,3,4,5,6-ペンタフルオロベンジル)ヒドロキシルアミン若しくはその塩またはペンタフルオロフェニルヒドラジンである、請求項6に記載の揮発性有機化合物群の捕集器。
【請求項8】
第1容器、第2容器および前記管体の少なくとも一つは、内部空間において軸方向に垂直な断面積の変動部分を有する、請求項6または7に記載の揮発性有機化合物群の捕集器。
【請求項9】
空間に含まれ得るカルボニル化合物を含む揮発性有機化合物群を分析するために、前記空間から前記揮発性有機化合物群を受動的に捕集するためのキットであって、
容器と捕集材とを備えた請求項5に記載の揮発性有機化合物群の捕集器と、
前記容器を密封するとともに開封して取り出した前記容器を再密封可能な包装体と、
を備え、
開封前の前記包装体の内部が前記捕集材に対して不活性なガスにより充填されている、
揮発性有機化合物群の捕集キット。
【請求項10】
空間に含まれ得るカルボニル化合物を含む揮発性有機化合物群を分析するために、前記空間から前記揮発性有機化合物群を受動的に捕集するためのキットであって、
第1容器または第2容器が通気性を有している請求項6から8のいずれかに記載の揮発性有機化合物群の捕集器と、
第1容器および第2容器のうち、少なくとも通気性を有する方の容器を密封するとともに開封して取り出した当該容器を再密封可能な包装体と、
を備えた揮発性有機化合物群の捕集キット。
(【請求項11】以降は省略されています)
発明の詳細な説明
【技術分野】
【0001】
本発明は、捕集材、特に、空間に含まれ得るカルボニル化合物を含む揮発性有機化合物群を捕集可能な捕集材に関する。
続きを表示(約 2,300 文字)
【背景技術】
【0002】
屋外や屋内の空気は、各種の工場からの排出ガスや建材からの揮発ガスによる汚染を受けて微量の揮発性有機化合物を含むことがあり、そのような空気下での生活者は揮発性有機化合物に曝されることで体調不良にみまわれることがある。特に、学校や住宅等の建物は、建材や家具に接着剤、塗料および防腐剤等の化学製品や有機溶剤が用いられることが多く、しかも高気密化が進められていることから、その屋内空間において揮発性有機化合物が滞留しやすく、それを原因とする頭痛、呼吸器疾患、めまい、湿疹、倦怠感などの、いわゆるシックハウス症候群の発症が問題化している。
【0003】
この背景において文部科学省は、学校環境衛生基準において、ホルムアルデヒド、トルエン、キシレン、パラジクロロベンゼン、スチレンおよびエチルベンゼンの6種類の揮発性有機化合物を検査項目として指定し(非特許文献1)、また、国土交通省は、住宅の品質確保の促進等に関する法律に基づく住宅品質表示制度において、新築住宅に関して必須項目としてホルムアルデヒドを、また、選択項目としてトルエン、キシレン、スチレンおよびエチルベンゼンの4種類の揮発性有機化合物を検査項目として指定している(非特許文献2)。
【0004】
学校や住宅の屋内空間における揮発性有機化合物による汚染評価では、屋内空間から空気を採取し、それを分析する。しかし、屋内空間に含まれ得る揮発性有機化合物は一般にμg/m
3
レベルの極微量であることから、屋内空間から採取した空気中に含まれる室内濃度指針値(平成31年1月17日、薬生発0117第1号、厚生労働省医薬・生活衛生局長通知)レベルの揮発性有機化合物の直接的な分析はガスクロマトグラフィー法等の高感度分離分析法によっても極めて困難であるか、分析が可能であったとしても分析結果の信頼性に疑念が残る。
【0005】
そこで、屋内空間中の揮発性有機化合物の分析では、屋内空間中の揮発性有機化合物を捕集し、捕集した揮発性有機化合物を分析する手法が採られている。揮発性有機化合物の捕集方法としては、揮発性有機化合物を捕捉可能なフイルタを用いるのが一般的であり、空間内の空気をポンプにより吸引してフイルタに通過させることで揮発性有機化合物を能動的に捕集する方法(アクティブ法)、および、空間内にフイルタを静置し、空間内における物質の拡散原理を利用して当該フイルタに揮発性有機化合物を受動的に捕集する方法(パッシブ法)が知られている。アクティブ法は、分析のための必要量の揮発性有機化合物を短時間で捕集可能であるものの、屋内に吸引ポンプを設置する必要があることから作業が大がかりであるとともに専門的な技術を要し、しかも、吸引ポンプが電力を要することから適用可能な場所が限定的であって不経済である。これに対し、パッシブ法は、分析のための必要量の揮発性有機化合物の捕集に長時間を要するものの、屋内空間にフイルタを静置するだけでよいことから専門の技術者に頼る必要性に乏しく、適用可能な場所の制限が少なく経済的観点においてもアクティブ法より有利である。
【0006】
パッシブ法用のフイルタとして、特許文献1は、多孔性のカーボン系吸着剤を充填した第1のフイルタと2,4-ジニトロフェニルヒドラジンを含浸させたシリカゲルを充填した第2のフイルタとを連結したものを開示している。このフイルタは、第1のフイルタにおいて空間中のトルエン等を捕集可能であり、第2のフイルタにおいて空間中のホルムアルデヒド等のカルボニル化合物を捕集可能であることから、空間に含まれる多成分の揮発性有機化合物を同時に捕集可能である。しかし、このフイルタに捕捉された揮発性有機化合物は、第1のフイルタに捕捉されたトルエン等については二硫化炭素により抽出してGC/MS等のガスクロマトグラフを用いて分析し、第2のフイルタに捕捉されたホルムアルデヒド等についてはアセトニトリルにより抽出して高速液体クロマトグラフを用いて分析する必要がある。すなわち、このフイルタによる場合、第1のフイルタおよび第2のフイルタにおいてそれぞれ捕捉した揮発性有機化合物を個別に抽出および分析することとなり、揮発性有機化合物の捕集から分析までの過程が多数の器具、試薬、機器および工数を要する複雑かつ煩雑なものとなる。
【先行技術文献】
【非特許文献】
【0007】
文部科学省、学校環境衛生管理マニュアル 「学校環境衛生基準」の理論と実践、[平成30年度改訂版]
国土交通省住宅局住宅生産課監修、新築住宅の住宅性能表示制度ガイド
【特許文献】
【0008】
特開2003-294592号公報
【発明の概要】
【発明が解決しようとする課題】
【0009】
本発明は、空間に含まれ得るカルボニル化合物を含む揮発性有機化合物群を同時に捕集し、同時に分析できるようにしようとするものである。
【課題を解決するための手段】
【0010】
本発明は、空間に含まれ得るカルボニル化合物を含む揮発性有機化合物群を捕集可能な捕集材に関する。この捕集材は、揮発性有機化合物群に対して不活性でありかつ揮発性有機化合物群を脱着可能に捕捉可能な粒状の第1多孔質材と、第1多孔質材と混合された、揮発性有機化合物群に対して不活性でありかつカルボニル化合物との反応により気化性の誘導体を生成可能な反応性化合物により処理された粒状の第2多孔質材と、を含む。
(【0011】以降は省略されています)
この特許をJ-PlatPat(特許庁公式サイト)で参照する
関連特許
三浦工業株式会社
撹拌装置
今日
三浦工業株式会社
燃焼装置
19日前
三浦工業株式会社
貫流ボイラ
10日前
三浦工業株式会社
ガス化装置
13日前
三浦工業株式会社
汚泥減容方法
25日前
三浦工業株式会社
台数制御装置
24日前
三浦工業株式会社
劣化検出装置
24日前
三浦工業株式会社
燃焼システム
17日前
三浦工業株式会社
水蒸気発生装置
17日前
三浦工業株式会社
ウエスコポンプ
17日前
三浦工業株式会社
二重管接続構造
18日前
三浦工業株式会社
汚泥乾燥加熱釜
5日前
三浦工業株式会社
汚泥減容システム
17日前
三浦工業株式会社
水素貯蔵供給装置
13日前
三浦工業株式会社
熱媒供給システム
1か月前
三浦工業株式会社
精製水供給システム
5日前
三浦工業株式会社
船舶用発電システム
24日前
三浦工業株式会社
コンピュータプログラム
6日前
三浦工業株式会社
燃焼装置、アンモニア評価方法
10日前
東京瓦斯株式会社
電力供給システム
17日前
メタウォーター株式会社
焼却システム及び燃焼制御方法
1か月前
メタウォーター株式会社
焼却システム及び熱媒供給制御方法
1か月前
個人
メジャー文具
20日前
個人
アクセサリー型テスター
13日前
個人
高精度同時多点測定装置
12日前
ユニパルス株式会社
ロードセル
19日前
日本精機株式会社
位置検出装置
26日前
株式会社ミツトヨ
測定器
3日前
日本精機株式会社
位置検出装置
26日前
日本精機株式会社
位置検出装置
26日前
アズビル株式会社
電磁流量計
6日前
アズビル株式会社
圧力センサ
25日前
トヨタ自動車株式会社
監視装置
18日前
エイブリック株式会社
磁気センサ回路
25日前
株式会社ヨコオ
ソケット
19日前
トヨタ自動車株式会社
検査装置
28日前
続きを見る
他の特許を見る