TOP
|
特許
|
意匠
|
商標
特許ウォッチ
Twitter
他の特許を見る
10個以上の画像は省略されています。
公開番号
2025110786
公報種別
公開特許公報(A)
公開日
2025-07-29
出願番号
2024004825
出願日
2024-01-16
発明の名称
発電ユニット集合体
出願人
三浦工業株式会社
代理人
個人
,
個人
主分類
H01M
8/04 20160101AFI20250722BHJP(基本的電気素子)
要約
【課題】複数台の発電ユニットに対する据付工事の工期を短縮することが可能な発電ユニット集合体を提供する。
【解決手段】発電ユニット集合体1000は、左右方向に離間または密着した状態で並んで配置された複数N台の発電ユニット100と、据付床面に固定され、複数N台の発電ユニット100が載置される基礎ベッド70とを備える。また、発電ユニット集合体1000は、左右方向に離間した状態の複数台の発電ユニット100のうちの隣り合う発電ユニットの間に配置される連結ケーシング80を備えてもよい。
【選択図】図4
特許請求の範囲
【請求項1】
左右方向に離間または密着した状態で並んで配置された複数N台の発電ユニットと、
据付床面に固定され、前記複数N台の発電ユニットが載置される基礎ベッドと、を備える
発電ユニット集合体。
続きを表示(約 1,200 文字)
【請求項2】
前記基礎ベッドは、
前後方向に延在し、かつ左右方向に離間した状態で並んで配置され、前記複数N台の発電ユニットの各々の底面における左右方向の端部を支持可能な複数本の支持体と、
前記複数本の支持体のうちの隣り合う支持体どうしを左右方向に連結する複数本の梁体と、を含む
請求項1に記載の発電ユニット集合体。
【請求項3】
前記複数本の支持体は、
最左端に位置する発電ユニットの左端側の底面端部、または最右端に位置する発電ユニットの右端側の底面端部をそれぞれ支持可能な2本の第1支持体と、
隣り合う発電ユニットのうち、左側に位置する発電ユニットの右端側の底面端部と、右側に位置する発電ユニットの左端側の底面端部を同時に支持可能な(N-1)本の第2支持体と、を含み、
前記第2支持体は、左右方向において前記第1支持体よりも幅広であり、前後方向の中心線よりも左方部分で左側に位置する発電ユニットの右端側の底面端部を支持し、前記中心線よりも右方部分で右側に位置する発電ユニットの左端側の底面端部を支持する
請求項2に記載の発電ユニット集合体。
【請求項4】
前記複数本の梁体は、
隣り合う支持体の前方端部どうしを左右方向に連結する前側梁体と、
隣り合う支持体の後方端部どうしを左右方向に連結する後側梁体と、を含む
請求項2に記載の発電ユニット集合体。
【請求項5】
前記複数本の支持体の各々は、前後方向の端部においてアンカーボルトを介して据付床面に固定される
請求項2または3に記載の発電ユニット集合体。
【請求項6】
左右方向に離間した状態の前記複数台の発電ユニットのうちの隣り合う発電ユニットの間に配置される連結ケーシングを備え、
前記連結ケーシングの各々は、
前記発電ユニットの天面側に沿って前後方向に延在する第1ケーシングと、
前記発電ユニットの正面側に沿って上下方向に延在する第2ケーシングと、
前記発電ユニットの背面側に沿って上下方向に延在する第3ケーシングと、を含む
請求項1~4のいずれか1項に記載の発電ユニット集合体。
【請求項7】
前記発電ユニットは、
補機により作動される発電モジュールと、
前記発電モジュールおよび前記補機が載置されるユニットベースと、
前記発電モジュールおよび前記補機を囲うように前記ユニットベース上に設置された箱型の筐体と、を備え、
前記複数本の支持体は、前記ユニットベースの端部を支持し、
前記連結ケーシングは、隣り合う前記筐体の間に配置される
請求項6に記載の発電ユニット集合体。
発明の詳細な説明
【技術分野】
【0001】
本発明は、燃料電池等を用いた発電ユニット集合体に関する。
続きを表示(約 1,900 文字)
【背景技術】
【0002】
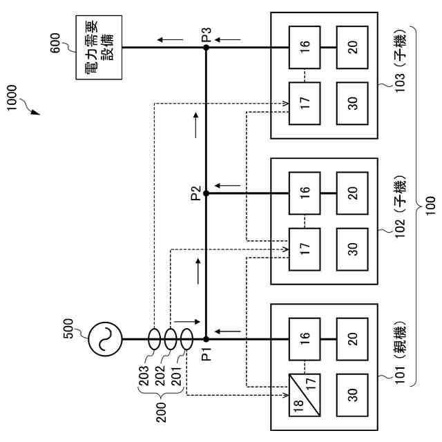
需要家が電力事業者から購入している商用電力の一部を自家発電電力に切り替えることで、二酸化炭素の排出量削減につながることが期待される。例えば、石炭やLNGを燃料とする火力発電の一次エネルギー効率は40%程度であるのに対し、メタンを主成分とする都市ガスを燃料改質して発電する固体酸化物形燃料電池(Solid Oxide Fuel Cell:SOFC)の一次エネルギー効率は50%~65%を見込める。そのため、自家発電電力の割合を増やすと、環境負荷の低減に貢献し得る。
【0003】
また、自然災害による停電発生時に自立して電力供給を維持するシステムを実現することで、社会生活や経済活動への悪影響を軽減できることが期待される。例えば、固体酸化物形燃料電池(SOFC)は、都市ガスの供給が遮断されなければ、自立して発電を行い、外部へ電力供給が可能である。地震の場合、規模によってはガスインフラが破損することがあるが、台風の場合、ガスインフラへの影響はほぼないと言えるので、電力供給を継続し得る。
【0004】
特許文献1および2には、商用電源系統に対して並列状態で運転され、電力需要設備に電力供給を行う電力供給システム(燃料電池システム)が開示されている。電力供給システムは、工場等の電力需要設備のように操業中のデマンドが多い場合には、複数台の発電ユニット(例えば、燃料電池ユニット)で構成される。
【先行技術文献】
【特許文献】
【0005】
特開2016-019430号公報
特開2016-019431号公報
【発明の概要】
【発明が解決しようとする課題】
【0006】
従来、発電ユニットは、ユニット毎に床スラブと鉄筋で緊結された鉄筋コンクリート基礎に据え付けることが推奨されてきた。コンクリート基礎を設置する場合、配筋、型枠設置、コンクリート打設、型枠解体等の複数の工程を経るため、数日間でコンクリート基礎の設置を完了することは困難である。そのため、複数台の発電ユニットの据付工事を終え、しかも試運転を実施したうえで需要家に電力供給システムの設備一式を引き渡すまでには、数週間もの期間を必要としていた。
【0007】
本発明は、上記課題に鑑みてなされたもので、複数台の発電ユニットに対する据付工事の工期を短縮することが可能な発電ユニット集合体を提供することを目的とする。
【課題を解決するための手段】
【0008】
本発明に係る発電ユニット集合体は、左右方向に離間または密着した状態で並んで配置された複数N台の発電ユニットと、据付床面に固定され、前記複数N台の発電ユニットが載置される基礎ベッドとを備える。
【発明の効果】
【0009】
本発明によれば、複数台の発電ユニットに対する据付工事の工期を短縮することが可能な発電ユニット集合体を提供することできる。
【図面の簡単な説明】
【0010】
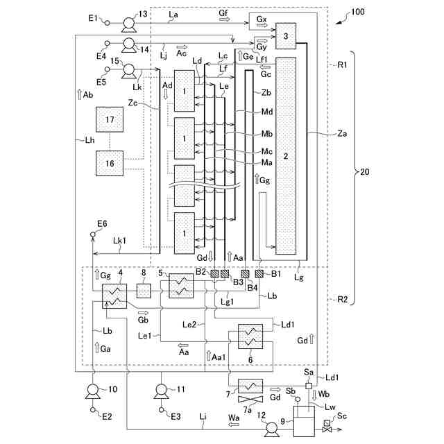
発電ユニットの構成を示す概要図である。
パワーコンディショナの構成を示す概要図である。
電力供給システムの構成を示す概要図である。
発電ユニット集合体の外観を示す斜視図である。
発電ユニット外観を示す斜視図である。
基礎ベッドの外観を示す斜視図である。
基礎ベッドの外観を示す斜視図である。
基礎ベッドの分解状態を示す斜視図である。
連結ケーシングの外観を示す斜視図である。
連結ケーシングの分解状態を示す斜視図である。
連結ケーシングの上方角部の部分拡大図である。
連結ケーシングの下方端部の部分拡大図である。
連結ケーシングの外観を示す斜視図である。
連結ケーシングの分解状態を示す斜視図である。
連結ケーシング上方角部の部分拡大図である。
発電ユニット集合体の据付手順に関する説明図である。
発電ユニット集合体の据付手順に関する説明図である。
発電ユニット集合体の据付手順に関する説明図である。
発電ユニット集合体の据付手順に関する説明図である。
発電ユニット集合体の据付手順に関する説明図である。
発電ユニット集合体の据付手順に関する説明図である。
発電ユニット集合体の据付手順に関する説明図である。
【発明を実施するための形態】
(【0011】以降は省略されています)
この特許をJ-PlatPat(特許庁公式サイト)で参照する
関連特許
三浦工業株式会社
燃焼装置
2日前
三浦工業株式会社
発電ユニット
2か月前
三浦工業株式会社
表示システム
2か月前
三浦工業株式会社
燃焼システム
今日
三浦工業株式会社
真空冷却装置
1か月前
三浦工業株式会社
真空冷却装置
1か月前
三浦工業株式会社
真空冷却装置
1か月前
三浦工業株式会社
劣化検出装置
7日前
三浦工業株式会社
台数制御装置
7日前
三浦工業株式会社
汚泥減容方法
8日前
三浦工業株式会社
流体供給装置
1か月前
三浦工業株式会社
洗浄システム
1か月前
三浦工業株式会社
水素燃焼ボイラ
22日前
三浦工業株式会社
水蒸気発生装置
今日
三浦工業株式会社
ウエスコポンプ
今日
三浦工業株式会社
二重管接続構造
1日前
三浦工業株式会社
熱媒供給システム
14日前
三浦工業株式会社
汚泥減容システム
今日
三浦工業株式会社
船舶用発電システム
7日前
三浦工業株式会社
発電ユニット集合体
2か月前
三浦工業株式会社
固液分離器及び濾過方法
1か月前
三浦工業株式会社
ヒータ装置及び貫流ボイラ
23日前
三浦工業株式会社
ダイオキシン類の分画方法
1か月前
東京瓦斯株式会社
電力供給システム
今日
メタウォーター株式会社
焼却システム及び燃焼制御方法
21日前
メタウォーター株式会社
焼却システム及び熱媒供給制御方法
21日前
国立大学法人九州大学
水電解装置、水素製造システム及び水電解方法
1か月前
日本発條株式会社
積層体
11日前
個人
フレキシブル電気化学素子
今日
東レ株式会社
多孔質炭素シート
1か月前
ローム株式会社
半導体装置
9日前
ローム株式会社
半導体装置
2日前
ローム株式会社
半導体装置
9日前
個人
防雪防塵カバー
11日前
ローム株式会社
半導体装置
7日前
株式会社ユーシン
操作装置
今日
続きを見る
他の特許を見る