TOP
|
特許
|
意匠
|
商標
特許ウォッチ
Twitter
他の特許を見る
公開番号
2025117095
公報種別
公開特許公報(A)
公開日
2025-08-12
出願番号
2024011778
出願日
2024-01-30
発明の名称
真空冷却装置
出願人
三浦工業株式会社
代理人
弁理士法人酒井国際特許事務所
主分類
F25D
7/00 20060101AFI20250804BHJP(冷凍または冷却;加熱と冷凍との組み合わせシステム;ヒートポンプシステム;氷の製造または貯蔵;気体の液化または固体化)
要約
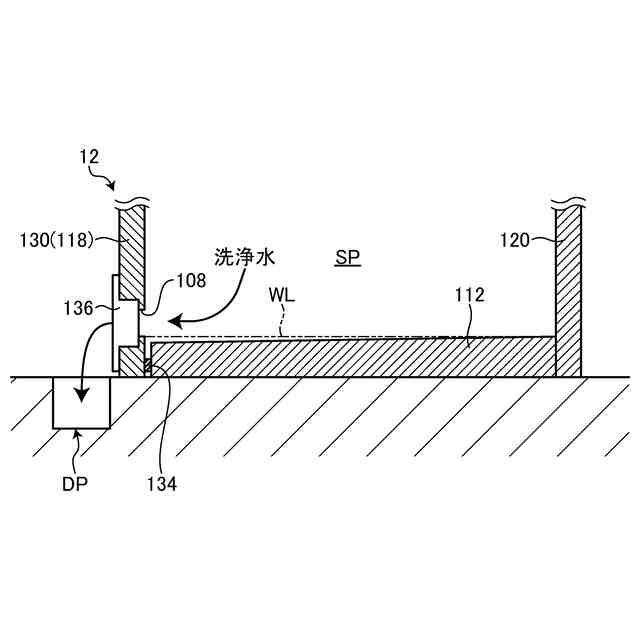
【課題】処理槽内の洗浄水を適切に排出できる技術を提供すること。
【解決手段】真空冷却装置10は、壁部100により区画され、冷却対象が配置される内部空間SPを有する処理槽12と、内部空間SPの気体を吸引する真空装置と、処理槽12に洗浄水を供給する洗浄装置18と、を備え、処理槽12は、内部空間SPと外部とを連通させる洗浄水の流入口102と、内部空間SPの周側面を構成する壁部100の下部に設けられ、洗浄水を処理槽12の外部へ排出する排出口108と、を有する。
【選択図】図1
特許請求の範囲
【請求項1】
壁部により区画され、冷却対象が配置される内部空間を有する処理槽と、
前記内部空間の気体を吸引する真空装置と、
前記処理槽に洗浄水を供給する洗浄装置と、を備え、
前記処理槽は、前記内部空間と外部とを連通させる前記洗浄水の流入口と、前記内部空間の周側面を構成する前記壁部の下部に設けられ、前記洗浄水を前記処理槽の外部へ排出する排出口と、を有する、
真空冷却装置。
続きを表示(約 530 文字)
【請求項2】
前記壁部は、上面部及び底面部と、一対の横側面部と、前側面部及び後側面部と、を含み、
前記前側面部及び前記後側面部の少なくとも一方が開閉可能な扉により構成され、
前記排出口は、前記扉の下部に配置されている、
請求項1に記載の真空冷却装置。
【請求項3】
前記一対の横側面部と前記底面部とは、曲面状の角部を介して接続され、
前記底面部から前記排出口までの高さは、前記底面部から前記角部の上端までの高さよりも小さい、
請求項2に記載の真空冷却装置。
【請求項4】
前記底面部は、前記扉が設けられた端縁に向けて下り傾斜となっている、
請求項2に記載の真空冷却装置。
【請求項5】
前記処理槽は、前記排出口を通って前記内部空間から流出する流体の流れを許容し、前記排出口を通って前記内部空間へ流入する流れを遮断する逆止弁を有する、
請求項1から3のいずれか1項に記載の真空冷却装置。
【請求項6】
前記流入口は、前記壁部に設けられ、前記洗浄水を吐出するノズルを着脱可能である、
請求項1から3のいずれか1項に記載の真空冷却装置。
発明の詳細な説明
【技術分野】
【0001】
本明細書で開示する技術は、真空冷却装置に関する。
続きを表示(約 1,600 文字)
【背景技術】
【0002】
真空冷却装置は、処理槽の空気を吸引して内部の圧力を低下させ、処理槽内の対象物の水分を気化させ、気化熱で対象物を急速冷却する。特許文献1には、食品を冷却するための真空冷却装置が記載されている。
【先行技術文献】
【特許文献】
【0003】
特開2001-221546号公報
【発明の概要】
【発明が解決しようとする課題】
【0004】
特許文献1には開示されていないが、処理槽の内部の洗浄は、従来、手作業で行われていた。処理槽内に洗浄水を供給して洗浄を自動化することが考えられる。しかし、処理槽の扉を閉めた状態で自動洗浄すると洗浄水が処理槽内に溜まり、扉を開けたときに多量の水が排出されることになる。通常、処理槽の設置場所には排水ピットが設けられるが、多量の水が一度に排出されると、排水ピットの排出能力を一時的に超えてしまう可能性がある。扉をわずかに開けた状態で自動洗浄すると、扉の隙間から洗浄水が飛散してしまう。
【0005】
本明細書で開示する技術は、処理槽内の洗浄水を適切に排出できる技術を提供することを目的とする。
【課題を解決するための手段】
【0006】
本明細書は、真空冷却装置を開示する。真空冷却装置は、壁部により区画され、冷却対象が配置される内部空間を有する処理槽と、前記内部空間の気体を吸引する真空装置と、前記処理槽に洗浄水を供給する洗浄装置と、を備え、前記処理槽は、前記内部空間と外部とを連通させる前記洗浄水の流入口と、前記内部空間の周側面を構成する前記壁部の下部に設けられ、前記洗浄水を前記処理槽の外部へ排出する排出口と、を有する。
【発明の効果】
【0007】
本明細書で開示する技術によれば、処理槽内の洗浄水を適切に排出できる技術が提供される。
【図面の簡単な説明】
【0008】
図1は、実施形態に係る真空冷却装置を模式的に示す図である。
図2は、実施形態に係る処理槽を模式的に示す正面図である。
図3は、実施形態に係る処理槽の排出口付近を拡大して示す説明図である。
図4は、処理槽からの洗浄水の排出を示した模式図である。
図5は、洗浄後に処理槽の扉を開けた状態を示した模式図である。
図6は、一方の横側面部に排出口を設けた変形例を示す図である。
【発明を実施するための形態】
【0009】
以下、本開示に係る実施形態について図面を参照しながら説明するが、本開示は実施形態に限定されない。以下で説明する実施形態の構成要素は、適宜組み合わせることができる。また、一部の構成要素を用いない場合もある。
【0010】
[真空冷却装置の概要]
図1は、実施形態に係る真空冷却装置10を模式的に示す図である。図2は、実施形態に係る処理槽12を模式的に示す正面図である。図1に示す真空冷却装置10は、処理槽12と、真空装置14と、復圧ユニット16と、洗浄装置18と、を含む。真空冷却装置10は、処理槽12に食品等の冷却対象を配置し、処理槽12を封止し、真空装置14で処理槽12内の流体を外部へ吸引して排出することで減圧する。処理槽12内に配置された冷却対象は、処理槽12の内部が減圧されることで、冷却対象の水分が気化する。冷却対象は、水分が蒸発する気化熱で温度が低下する。真空冷却装置10は、処理槽12内部を減圧した後、復圧ユニット16で、処理槽12の内部に外気を導入して、外気と略同じ圧力とし、処理槽12の内部から冷却対象を取り出し可能とする。洗浄装置18は、処理槽12に冷却対象が配置されていない状態の槽内洗浄時に、処理槽12に洗浄水を供給することで、処理槽12の内部を洗浄する。
(【0011】以降は省略されています)
この特許をJ-PlatPat(特許庁公式サイト)で参照する
関連特許
ダイキン工業株式会社
冷凍装置
5日前
ダイキン工業株式会社
冷媒充填方法
5日前
株式会社 E&E SYSTEM
二酸化炭素回収システム
1日前
ダイキン工業株式会社
冷凍装置、および臭気成分の供給方法
5日前
ダイキン工業株式会社
磁気冷凍ユニット及び冷凍装置
1日前
ダイキン工業株式会社
監視装置、監視システム、監視方法、監視プログラム
5日前
ダイキン工業株式会社
冷媒放出ユニット、冷凍サイクル装置及び冷媒放出方法
5日前
ダイキン工業株式会社
冷媒放出ユニット、冷凍サイクル装置、および冷媒放出方法
5日前
ダイキン工業株式会社
空調機
1日前
ダイキン工業株式会社
制御システムおよび冷凍システム
1日前
他の特許を見る