TOP
|
特許
|
意匠
|
商標
特許ウォッチ
Twitter
他の特許を見る
公開番号
2025120767
公報種別
公開特許公報(A)
公開日
2025-08-18
出願番号
2024015846
出願日
2024-02-05
発明の名称
流体供給装置
出願人
三浦工業株式会社
代理人
弁理士法人酒井国際特許事務所
主分類
G05D
7/06 20060101AFI20250808BHJP(制御;調整)
要約
【課題】容器に供給される流体の流量の変動を抑制すること。
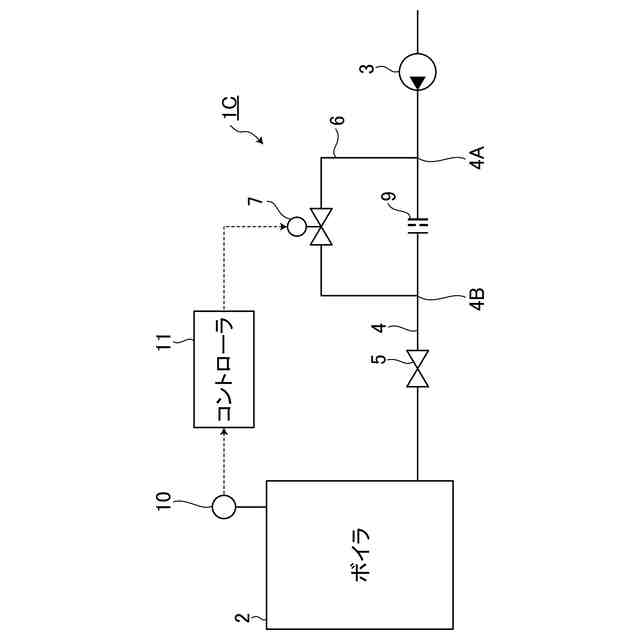
【解決手段】容器であるボイラ2に流体を供給する流体供給装置1Aは、ボイラ2に接続され、ポンプ3が配置される流体供給ライン4と、ポンプ3とボイラ2との間の流体供給ライン4に配置される定流量弁5と、定流量弁5の上流側において流体供給ライン4に接続されるバイパスライン6と、バイパスライン6に配置される流量調整弁7と、ボイラ2の圧力が所定値以下になると流量調整弁7を開又は閉とする圧力スイッチ8と、を備える。
【選択図】図1
特許請求の範囲
【請求項1】
容器に流体を供給する流体供給装置であって、
前記容器に接続され、ポンプが配置される流体供給ラインと、
前記ポンプと前記容器との間の前記流体供給ラインに配置される定流量弁と、
前記定流量弁の上流側において前記流体供給ラインに接続されるバイパスラインと、
前記バイパスラインに配置される流量調整弁と、
前記容器の圧力が所定値以下になると前記流量調整弁を開又は閉とする圧力スイッチと、を備える、
流体供給装置。
続きを表示(約 1,000 文字)
【請求項2】
前記バイパスラインは、前記流体供給ラインの第1部分と、前記第1部分よりも下流側の第2部分とを繋ぐように配置され、
前記ポンプは、前記第1部分よりも上流側に配置され、
前記第1部分と前記第2部分との間の前記流体供給ラインにオリフィスが配置され、
前記圧力スイッチは、前記容器の圧力が所定値以下になると、前記流量調整弁を閉にする、
請求項1に記載の流体供給装置。
【請求項3】
前記バイパスラインは、前記流体供給ラインの第1部分と、前記第1部分よりも下流側の第2部分とを繋ぐように配置され、
前記ポンプは、前記第1部分と前記第2部分との間に配置され、
前記圧力スイッチは、前記容器の圧力が所定値以下になると、前記流量調整弁を開にする、
請求項1に記載の流体供給装置。
【請求項4】
容器に流体を供給する流体供給装置であって、
前記容器に接続され、ポンプが配置される流体供給ラインと、
前記ポンプと前記容器との間の前記流体供給ラインに配置される定流量弁と、
前記定流量弁の上流側において前記流体供給ラインに接続されるバイパスラインと、
前記バイパスラインに配置される流量調整弁と、
前記容器の圧力に基づいて、前記定流量弁の上流側と下流側との圧力差が小さくなるように、前記流量調整弁を制御するコントローラと、を備える、
流体供給装置。
【請求項5】
前記バイパスラインは、前記流体供給ラインの第1部分と、前記第1部分よりも下流側の第2部分とを繋ぐように配置され、
前記ポンプは、前記第1部分よりも上流側に配置され、
前記第1部分と前記第2部分との間の前記流体供給ラインにオリフィスが配置され、
前記コントローラは、前記容器の圧力が低いほど、前記バイパスラインを流れる前記流体の流量が少なくなるように、前記流量調整弁を制御する、
請求項4に記載の流体供給装置。
【請求項6】
前記バイパスラインは、前記流体供給ラインの第1部分と、前記第1部分よりも下流側の第2部分とを繋ぐように配置され、
前記ポンプは、前記第1部分と前記第2部分との間に配置され、
前記コントローラは、前記容器の圧力が低いほど、前記バイパスラインを流れる前記流体の流量が多くなるように、前記流量調整弁を制御する、
請求項4に記載の流体供給装置。
発明の詳細な説明
【技術分野】
【0001】
本明細書で開示する技術は、流体供給装置に関する。
続きを表示(約 1,200 文字)
【背景技術】
【0002】
容器に流体を供給する場合、ポンプが使用される。特許文献1には、給水ポンプで原子炉に給水する技術が開示されている。
【先行技術文献】
【特許文献】
【0003】
実開昭62-204107号公報
【発明の概要】
【発明が解決しようとする課題】
【0004】
容器に供給される流体の流量の変動を抑制する場合、定流量弁が使用される場合がある。定流量弁は、1次側(上流側、流入側)又は2次側(下流側、流出側)の圧力変動がある流体供給ラインにおいて、流量を一定の値に維持する。しかしながら、1次側と2次側との圧力差が過大になると、定流量弁は流量を一定の値に維持することが困難となる可能性がある。
【0005】
本明細書で開示する技術は、容器に供給される流体の流量の変動を抑制することを目的とする。
【課題を解決するための手段】
【0006】
本明細書は、容器に流体を供給する流体供給装置を開示する。流体供給装置は、容器に接続され、ポンプが配置される流体供給ラインと、ポンプと容器との間の流体供給ラインに配置される定流量弁と、定流量弁の上流側において流体供給ラインに接続されるバイパスラインと、バイパスラインに配置される流量調整弁と、容器の圧力が所定値以下になると流量調整弁を開又は閉とする圧力スイッチと、を備える。
【発明の効果】
【0007】
本明細書で開示する技術によれば、容器に供給される流体の流量の変動が抑制される。
【図面の簡単な説明】
【0008】
図1は、第1実施形態に係る流体供給装置を模式的に示す図である。
図2は、第2実施形態に係る流体供給装置を模式的に示す図である。
図3は、第3実施形態に係る流体供給装置を模式的に示す図である。
図4は、第4実施形態に係る流体供給装置を模式的に示す図である。
【発明を実施するための形態】
【0009】
[第1実施形態]
第1実施形態について説明する。図1は、本実施形態に係る流体供給装置1Aを模式的に示す図である。流体供給装置1Aは、容器に流体を供給する。本実施形態において、流体供給装置1Aは、ボイラ2に水を供給する。ボイラ2は、容器の一例である。水は、流体の一例である。流体供給装置1Aは、流体供給ライン4と、定流量弁5と、バイパスライン6と、流量調整弁7と、圧力スイッチ8と、オリフィス9とを備える。
【0010】
流体供給ライン4は、ボイラ2に接続される。流体供給ライン4にポンプ3が配置される。ポンプ3は、流体供給ライン4を介してボイラ2に水が供給されるように駆動する。
(【0011】以降は省略されています)
この特許をJ-PlatPat(特許庁公式サイト)で参照する
関連特許
三浦工業株式会社
燃焼装置
17日前
三浦工業株式会社
貫流ボイラ
8日前
三浦工業株式会社
ガス化装置
11日前
三浦工業株式会社
燃焼システム
15日前
三浦工業株式会社
汚泥乾燥加熱釜
3日前
三浦工業株式会社
水蒸気発生装置
15日前
三浦工業株式会社
ウエスコポンプ
15日前
三浦工業株式会社
二重管接続構造
16日前
三浦工業株式会社
水素貯蔵供給装置
11日前
三浦工業株式会社
汚泥減容システム
15日前
三浦工業株式会社
精製水供給システム
3日前
三浦工業株式会社
コンピュータプログラム
4日前
三浦工業株式会社
燃焼装置、アンモニア評価方法
8日前
東京瓦斯株式会社
電力供給システム
15日前
株式会社カネカ
製造システム
1か月前
オムロン株式会社
スレーブ装置
26日前
ローム株式会社
基準電圧源
1か月前
愛知製鋼株式会社
車両用システム
1か月前
株式会社熊谷組
障害物の検出方法
17日前
新電元工業株式会社
作業用ロボット
15日前
豊田合成株式会社
機器制御装置
22日前
株式会社ダイフク
搬送設備
1か月前
株式会社ダイフク
搬送設備
1か月前
株式会社ダイフク
物品搬送設備
1か月前
トヨタ自動車株式会社
制御装置
26日前
カヤバ株式会社
減圧弁
24日前
エイブリック株式会社
電流補償回路及び半導体装置
11日前
キヤノン株式会社
配送システム
1か月前
愛知製鋼株式会社
マーカシステム及び制御方法
1か月前
株式会社TMEIC
安全性診断装置
1か月前
株式会社CAOS
移動体の制御システム
1か月前
日野自動車株式会社
自動運転装置
16日前
株式会社アマダ
工作機械制御装置
16日前
村田機械株式会社
搬送車システム
16日前
トヨタ自動車株式会社
情報処理装置
26日前
株式会社カーメイト
アクセルペダルカバー
22日前
続きを見る
他の特許を見る