TOP
|
特許
|
意匠
|
商標
特許ウォッチ
Twitter
他の特許を見る
10個以上の画像は省略されています。
公開番号
2025139017
公報種別
公開特許公報(A)
公開日
2025-09-26
出願番号
2024037715
出願日
2024-03-12
発明の名称
液体吐出ヘッド、液体吐出装置および液体吐出ヘッドの製造方法
出願人
セイコーエプソン株式会社
代理人
弁理士法人明成国際特許事務所
主分類
B41J
2/14 20060101AFI20250918BHJP(印刷;線画機;タイプライター;スタンプ)
要約
【課題】圧電体の一部を覆う電極の端部付近で、圧電体に焼損が発生する可能性を低減可能な技術を提供する。
【解決手段】液体吐出ヘッドは、圧電体と、圧電体が駆動されることで内部に貯留された液体に圧力が付与される圧力室が、圧力室の延在方向と交差する方向である配列方向に複数並んで設けられた圧力室基板と、圧電体に対して、延在方向および配列方向に交差する方向である積層方向の一方側に設けられた第1電極と、圧電体に対して、一方側とは逆側である積層方向の他方側に設けられた第2電極と、積層方向において圧電体と第2電極が重なる領域を第1領域、積層方向において圧電体が存在し第2電極が存在しない領域を第2領域とした場合に、延在方向における第1領域と第2領域との境界である境界領域において圧電体に対して他方側に設けられた保護層と、を備え、保護層は、圧電体と同じ材料から構成される。
【選択図】図12
特許請求の範囲
【請求項1】
液体吐出ヘッドであって、
圧電体と、
前記圧電体が駆動されることで内部に貯留された液体に圧力が付与される圧力室が、前記圧力室の延在方向と交差する方向である配列方向に複数並んで設けられた圧力室基板と、
前記圧電体に対して、前記延在方向および前記配列方向に交差する方向である積層方向の一方側に設けられた第1電極と、
前記圧電体に対して、前記一方側とは逆側である前記積層方向の他方側に設けられた第2電極と、
前記積層方向において前記圧電体と前記第2電極が重なる領域を第1領域、前記積層方向において前記圧電体が存在し前記第2電極が存在しない領域を第2領域とした場合に、前記延在方向における前記第1領域と前記第2領域との境界である境界領域において前記圧電体に対して前記他方側に設けられた保護層と、を備え、
前記保護層は、前記圧電体と同じ材料から構成される、
液体吐出ヘッド。
続きを表示(約 1,000 文字)
【請求項2】
請求項1に記載の液体吐出ヘッドであって、
前記圧電体および前記保護層は、チタン酸ジルコン酸鉛を含む、
液体吐出ヘッド。
【請求項3】
請求項1または2に記載の液体吐出ヘッドであって、
前記保護層の(100)配向度は、前記圧電体の(100)配向度よりも低い、
液体吐出ヘッド。
【請求項4】
請求項1または2に記載の液体吐出ヘッドであって、
前記保護層のヤング率は、前記圧電体のヤング率よりも高い、
液体吐出ヘッド。
【請求項5】
請求項1または2に記載の液体吐出ヘッドであって、
前記保護層の前記積層方向の厚みは、前記圧電体の前記積層方向の厚みよりも薄い、
液体吐出ヘッド。
【請求項6】
請求項1または2に記載の液体吐出ヘッドであって、
前記保護層の圧電定数は、前記圧電体の圧電定数よりも小さい、
液体吐出ヘッド。
【請求項7】
請求項1に記載の液体吐出ヘッドであって、
前記境界領域は、
第1境界領域と、
前記第1境界領域よりも前記延在方向において前記第1領域に近い第2境界領域と、
前記第1境界領域よりも前記延在方向において前記第2領域に近い第3境界領域と、を含む、
液体吐出ヘッド。
【請求項8】
請求項7に記載の液体吐出ヘッドであって、
前記第2電極は、
第1層と、
前記第1層の前記他方側に設けられた第2層と、を有する、
液体吐出ヘッド。
【請求項9】
請求項8に記載の液体吐出ヘッドであって、
前記保護層の少なくとも一部は、前記積層方向において前記第1層と前記第2層の間に挟まれる、
液体吐出ヘッド。
【請求項10】
請求項8に記載の液体吐出ヘッドであって、
前記第1境界領域には、前記積層方向において、前記第1層が存在し、前記第2層が存在せず、
前記第2境界領域には、前記積層方向において、前記第1層および前記第2層が存在し、
前記第3境界領域には、前記積層方向において、前記第1層と前記第2層のいずれも存在しない、
液体吐出ヘッド。
(【請求項11】以降は省略されています)
発明の詳細な説明
【技術分野】
【0001】
本開示は、液体吐出ヘッド、液体吐出装置および液体吐出ヘッドの製造方法に関する。
続きを表示(約 2,600 文字)
【背景技術】
【0002】
特許文献1には、圧電体層が上電極に覆われない領域と、圧電体層が上電極に覆われる領域と、の境界を含む領域を覆う保護膜を有する、液体噴射ヘッドが開示されている。
【先行技術文献】
【特許文献】
【0003】
特開2016-135611号公報
【発明の概要】
【発明が解決しようとする課題】
【0004】
一般的に、圧電体の一部を覆う電極を形成する場合、まず圧電体の全体を覆う電極を形成し、その後に電極の一部をエッチングにより除去する。このとき、除去されずに残る電極の端部付近で、圧電体にクラックが発生する場合がある。このクラックに対して水分が混入することで、圧電体を挟むように形成されている2つの電極が短絡し、圧電体に焼損が発生するという問題があった。そのため、圧電体の一部を覆う電極の端部付近で、圧電体に焼損が発生する可能性を低減可能な技術が望まれている。
【課題を解決するための手段】
【0005】
本開示の第1の形態によれば、液体吐出ヘッドが提供される。この液体吐出ヘッドは、圧電体と、前記圧電体が駆動されることで内部に貯留された液体に圧力が付与される圧力室が、前記圧力室の延在方向と交差する方向である配列方向に複数並んで設けられた圧力室基板と、前記圧電体に対して、前記延在方向および前記配列方向に交差する方向である積層方向の一方側に設けられた第1電極と、前記圧電体に対して、前記一方側とは逆側である前記積層方向の他方側に設けられた第2電極と、前記積層方向において前記圧電体と前記第2電極が重なる領域を第1領域、前記積層方向において前記圧電体が存在し前記第2電極が存在しない領域を第2領域とした場合に、前記延在方向における前記第1領域と前記第2領域との境界である境界領域において前記圧電体に対して前記他方側に設けられた保護層と、を備え、前記保護層は、前記圧電体と同じ材料から構成される。
【0006】
本開示の第2の形態によれば、液体吐出装置が提供される。この液体吐出装置は、上記第1の形態の液体吐出ヘッドと、前記液体吐出ヘッドから液体を吐出させる吐出動作を制御する制御部と、を備える。
【0007】
本開示の第3の形態によれば、液体吐出ヘッドの製造方法が提供される。前記液体吐出ヘッドは、圧電体と、前記圧電体に対して積層方向の一方側に設けられた第1電極と、を備え、この液体吐出ヘッドの製造方法は、前記圧電体の、前記一方側とは逆側である前記積層方向の他方側に、第2電極を形成する第1工程と、前記積層方向において前記圧電体と前記第2電極が重なる領域を第1領域、前記積層方向において前記圧電体が存在し前記第2電極が存在しない領域を第2領域、前記積層方向と交差する方向である延在方向における前記第1領域と前記第2領域との境界である領域を境界領域とした場合に、前記延在方向における前記第2電極の端部が前記境界領域に位置するように、前記第2領域の前記第2電極をエッチングにより除去する第2工程と、前記圧電体および前記第2電極の前記他方側に、前記圧電体と同じ材料から構成される保護層を形成する第3工程と、前記第1領域および前記第2領域の前記保護層をエッチングにより除去する第4工程と、を備える。
【図面の簡単な説明】
【0008】
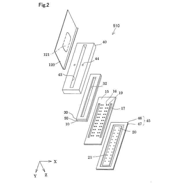
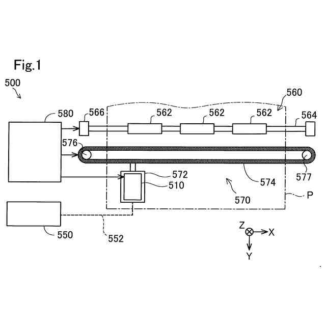
第1実施形態における液体吐出装置の概略構成を示す説明図。
液体吐出ヘッドの構成を示す分解斜視図。
液体吐出ヘッドの構成を平面視で示す説明図。
図3のIV-IV位置を示す断面図。
圧電素子の詳細な構成を模式的に示す断面図。
液体吐出ヘッドの製造方法を示すフローチャート。
圧電体の-Z方向側に第2電極の第1層が形成された状態を示す図。
第1層がエッチングされた状態を示す図。
圧電体および第1層の-Z方向側に保護層が形成された状態を示す図。
第1領域および第2領域の保護層が除去された状態を示す図。
圧電体、第1層、および保護層の-Z方向側に第2層が形成された状態を示す図。
第2層がエッチングされた状態を示す図。
【発明を実施するための形態】
【0009】
A.第1実施形態:
図1は、第1実施形態における液体吐出装置500の概略構成を示す説明図である。本実施形態において、液体吐出装置500は、液体の一例としてのインクを印刷用紙Pに吐出して画像を形成するインクジェット式プリンターである。なお、液体吐出装置500は、印刷用紙Pに代えて、樹脂フィルム、布帛等の任意の種類の媒体を、インクの吐出対象としてもよい。図1ならびに図1以降の各図に示すX、Y、Zは、互いに直交する3つの空間軸を表している。本明細書では、これらの軸に沿った方向をX軸方向、Y軸方向、及びZ軸方向とも呼ぶ。向きを特定する場合には、正の方向を「+」、負の方向を「-」として、方向表記に正負の符合を併用し、各図の矢印が向かう向きを+方向、その反対方向を-方向として説明する。本実施形態では、Z軸方向は、鉛直方向と一致しており、+Z方向は鉛直下向き、-Z方向は鉛直上向きを示す。さらに、正方向及び負方向を限定しない場合には、3つのX、Y、ZがX軸、Y軸、Z軸であるとして説明する。
【0010】
液体吐出装置500は、液体吐出ヘッド510と、インクタンク550と、搬送機構560と、移動機構570と、制御部580とを備えている。液体吐出ヘッド510には、複数のノズルが形成されており、例えば、ブラック、シアン、マゼンタ、イエローの合計4色のインクを+Z方向に吐出して、印刷用紙P上に画像を形成する。液体吐出ヘッド510は、キャリッジ572に搭載され、キャリッジ572の移動と共に主走査方向に往復移動する。本実施形態において、主走査方向は、+X方向および-X方向である。液体吐出ヘッド510は、4色に限らず、さらにライトシアン、ライトマゼンタ、クリア、ホワイトなど、任意のインクを吐出してもよい。
(【0011】以降は省略されています)
この特許をJ-PlatPat(特許庁公式サイト)で参照する
関連特許
個人
箔熱転写装置
1か月前
シヤチハタ株式会社
印判
4か月前
シヤチハタ株式会社
反転式印判
9か月前
キヤノン株式会社
記録装置
28日前
独立行政法人 国立印刷局
印刷物
7か月前
三光株式会社
感熱記録材料
6か月前
株式会社リコー
液体吐出装置
8か月前
株式会社リコー
画像形成装置
16日前
株式会社リコー
液体吐出装置
6か月前
株式会社リコー
液体吐出装置
2か月前
株式会社リコー
液体吐出装置
4か月前
株式会社リコー
印刷システム
16日前
独立行政法人 国立印刷局
記録媒体
8か月前
独立行政法人 国立印刷局
貼付装置
1か月前
独立行政法人 国立印刷局
貼付機構
2か月前
株式会社リコー
画像形成装置
12日前
株式会社リコー
液体吐出装置
5か月前
株式会社リコー
液体吐出装置
7か月前
日本製紙株式会社
感熱記録体
7か月前
株式会社リコー
液体吐出装置
7か月前
株式会社リコー
液体吐出装置
4か月前
株式会社リコー
画像形成装置
1か月前
キヤノン株式会社
画像形成装置
7か月前
キヤノン株式会社
印刷システム
7か月前
独立行政法人 国立印刷局
潜像形成体
12日前
キヤノン株式会社
画像処理装置
4か月前
キヤノン株式会社
画像形成装置
8か月前
ブラザー工業株式会社
プリンタ
2か月前
キヤノン株式会社
画像形成装置
8か月前
キヤノン株式会社
画像形成装置
5か月前
ブラザー工業株式会社
プリンタ
8か月前
ブラザー工業株式会社
プリンタ
2か月前
キヤノン株式会社
画像記録装置
28日前
理想科学工業株式会社
印刷装置
6か月前
ブラザー工業株式会社
液体吐出ヘッド
28日前
キヤノン株式会社
情報処理装置
9か月前
続きを見る
他の特許を見る