TOP
|
特許
|
意匠
|
商標
特許ウォッチ
Twitter
他の特許を見る
10個以上の画像は省略されています。
公開番号
2025138549
公報種別
公開特許公報(A)
公開日
2025-09-25
出願番号
2024156875
出願日
2024-09-10
発明の名称
3Dキャパシタンス構造およびその製造方法
出願人
華邦電子股ふん有限公司
,
Winbond Electronics Corp.
代理人
個人
,
個人
,
個人
,
個人
主分類
H01G
4/33 20060101AFI20250917BHJP(基本的電気素子)
要約
【課題】静電容量を増やし、構造崩壊しにくい3Dキャパシタンス構造及びその製造方法を提供する。
【解決手段】3Dキャパシタンス構造10は、複数のサブキャパシタンススタック構造SC及び複数の第1、第2電極コンタクトE1、E2を含む。各サブキャパシタンススタック構造は、誘電体スタックDS、下部、上部電極構造LE、UEを含む。誘電体スタックは、積層された誘電体層およびエッチングストップ層を含む。下部電極構造は下部誘電体層102内に配置された下部電極板112及び複数の下部電極延伸部114を含む。上部電極構造は、上部誘電体層110内に配置された上部電極板116及び複数の上部電極延伸部118を含む。第1、2電極コンタクトE1、E2は、サブキャパシタンススタック構造内の隣接する2層の下部電極板112及び上部電極板116に接続される。
【選択図】図1
特許請求の範囲
【請求項1】
基板と、
前記基板上に設置され、
積層された下部誘電体層、下部エッチングストップ層、中間誘電体層、上部エッチングストップ層、および上部誘電体層を含む誘電体スタックと、
前記下部誘電体層内に設置された下部電極板および前記下部電極板から上方に向かって前記中間誘電体層内まで前記下部エッチングストップ層を貫通する複数の下部電極延伸部を含む下部電極構造と、
前記上部誘電体層内に設置された上部電極板および前記上部電極板から下方に向かって前記下部エッチングストップ層上まで前記上部エッチングストップ層および前記中間誘電体層を貫通する複数の上部電極延伸部を含む上部電極構造と、
をそれぞれ含む複数のサブキャパシタンススタック構造と、
前記複数のサブキャパシタンススタック構造内の隣接する2層の前記下部電極板をそれぞれ接続する複数の第1電極コンタクトと、
前記複数のサブキャパシタンススタック構造内の隣接する2層の前記上部電極板をそれぞれ接続する複数の第2電極コンタクトと、
を含む3Dキャパシタンス構造。
続きを表示(約 2,100 文字)
【請求項2】
前記複数の下部電極延伸部および前記複数の上部電極延伸部の延伸方向が、前記基板の面方向に対して垂直である請求項1に記載の3Dキャパシタンス構造。
【請求項3】
前記下部電極板および前記上部電極板の面方向が、前記複数の第1電極コンタクトおよび前記複数の第2電極コンタクトの延伸方向に対して垂直である請求項1に記載の3Dキャパシタンス構造。
【請求項4】
前記複数の下部電極延伸部および前記複数の上部電極延伸部が、x方向に沿って交錯したストライプ構造である請求項1に記載の3Dキャパシタンス構造。
【請求項5】
前記複数の下部電極延伸部および前記複数の上部電極延伸部が、x方向およびy方向に沿って交錯した柱状構造である請求項1に記載の3Dキャパシタンス構造。
【請求項6】
前記下部誘電体層、前記中間誘電体層、および前記上部誘電体層が、酸化シリコンを含み、前記下部エッチングストップ層および前記上部エッチングストップ層が、窒化シリコンを含む請求項1に記載の3Dキャパシタンス構造。
【請求項7】
3Dキャパシタンス構造の製造方法であって、
基板上に第1下部電極板を形成するステップ(a)と、
前記第1下部電極板上に第1誘電体スタックを形成し、前記第1誘電体スタックが、積層された下部誘電体層、エッチングストップ層、および上部誘電体層を含むステップ(b)と、
前記第1誘電体スタック内に複数の第1下部電極延伸部を形成し、前記複数の第1下部電極延伸部が、前記第1下部電極板から上方に向かって前記上部誘電体層内まで前記エッチングストップ層を貫通するステップ(c)と、
第2誘電体スタックを形成し、前記第2誘電体スタックの構造が、前記第1誘電体スタックと同じであるステップ(d)と、
前記第2誘電体スタック内に複数の第1上部電極延伸部を形成し、前記複数の第1上部電極延伸部が、前記第2誘電体スタックのエッチングストップ層を貫通して前記第1誘電体スタックのエッチングストップ層上まで延伸するステップ(e)と、
前記第2誘電体スタックの前記上部誘電体層内に第1上部電極板を形成し、前記第1上部電極板が、前記複数の第1上部電極延伸部に接続されるステップ(f)と、
第3誘電体スタックを形成し、前記第3誘電体スタックの構造が、前記第1誘電体スタックと同じであるステップ(g)と、
前記第1下部電極板が露出するまで、前記第3誘電体スタック、前記第2誘電体スタック、および前記第1誘電体スタックを貫通する第1コンタクト開口を形成するステップ(h)と、
前記第3誘電体スタックの上部誘電体層内に下部電極板溝を形成し、前記下部電極板溝が、前記第1コンタクト開口と共に第1デュアルダマシン開口を構成するステップ(i)と、
前記第1デュアルダマシン開口内に導体材料を形成し、第1電極コンタクトおよび第2下部電極板を同時に形成するステップ(j)と、
ステップ(b)からステップ(d)までを繰り返して、第4誘電体スタック、複数の第2下部電極延伸部、および第5誘電体スタックを形成するステップ(k)と、
前記第1上部電極板が露出するまで、前記第5誘電体スタック、前記第4誘電体スタック、および前記第3誘電体スタックを貫通する第2コンタクト開口を形成するステップ(l)と、
前記第4誘電体スタックのエッチングストップ層が露出するまで、前記第5誘電体スタックおよび前記第4誘電体スタックの上部誘電体層を貫通する複数の延伸部開口を形成するステップ(m)と、
前記第5誘電体スタックの上部誘電体層に上部電極板溝を形成し、前記上部電極板溝、前記複数の延伸部開口、および前記第2コンタクト開口が、第2デュアルダマシン開口を構成するステップ(n)と、
前記第2デュアルダマシン開口内に導体材料を形成し、第2電極コンタクト、複数の第2上部電極延伸部、および第2上部電極板を同時に形成するステップ(o)と、
ステップ(g)からステップ(o)までを少なくとも1回繰り返すステップ(p)と、
を含む3Dキャパシタンス構造の製造方法。
【請求項8】
前記複数の第1下部電極延伸部および前記複数の第1上部電極延伸部の延伸方向が、前記基板の面方向に対して垂直である請求項7に記載の3Dキャパシタンス構造の製造方法。
【請求項9】
前記第1下部電極板および前記第1上部電極板の面方向が、前記第1電極コンタクトおよび前記第2電極コンタクトの延伸方向に対して垂直である請求項7に記載の3Dキャパシタンス構造の製造方法。
【請求項10】
前記複数の第1下部電極延伸部および前記複数の第1上部電極延伸部が、x方向に沿って交錯したストライプ構造である請求項7に記載の3Dキャパシタンス構造の製造方法。
(【請求項11】以降は省略されています)
発明の詳細な説明
【技術分野】
【0001】
本発明は、キャパシタンス構造に関するものであり、特に、3Dキャパシタンス構造およびその製造方法に関するものである。
続きを表示(約 3,600 文字)
【背景技術】
【0002】
チップの継続的な微細化による技術的ボトルネックのため、業界は、プロセスを改善してシリコンウェハ面積あたりのトランジスタ数を増やす方法から、コストを比較的制御可能な複雑なシステムレベルチップ設計へと転換して、全体的な性能を向上させている。その中でも「チップレット(chiplet)」が重視されており、比較的低いコストで高いトランジスタ密度と性能を実現することが可能となっている。
【0003】
チップレットは、元々単一のチップに含まれていた多くの素子を複数の小単位に分け、それぞれの機能を強化して再設計と再製造を行い、先進的なパッケージング技術によりシステムチップを形成するものである。
【0004】
しかしながら、チップレット内の単一のコンデンサは、シリコン基板上で製造されることに制限されるが、過大容量のコンデンサを作ることができないため、静電容量も制限され、増やすことができない。
【発明の概要】
【発明が解決しようとする課題】
【0005】
本発明は、密接に積み重ねられた3Dキャパシタンス構造を構成することにより、静電容量を増やし、構造を崩壊しにくくすることのできる3Dキャパシタンス構造およびその製造方法を提供する。
【課題を解決するための手段】
【0006】
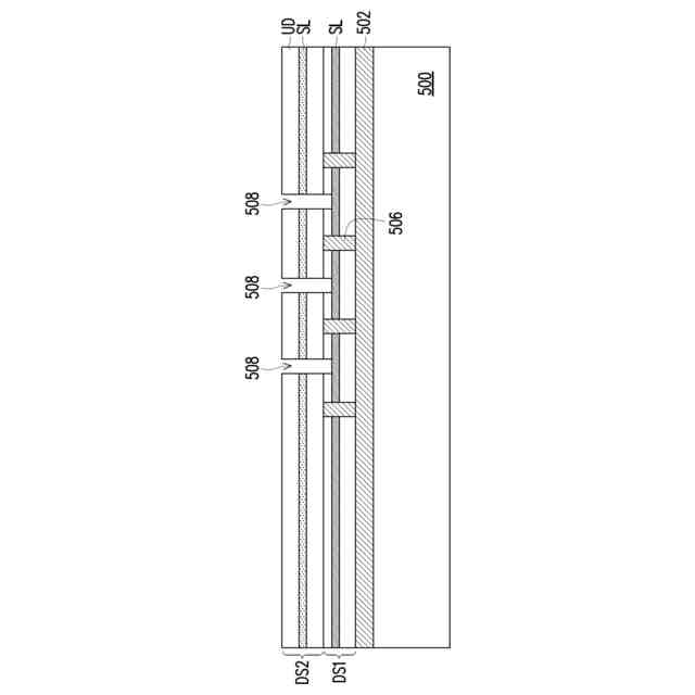
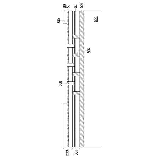
本発明の3Dキャパシタンス構造は、基板、複数のサブキャパシタンススタック構造、複数の第1電極コンタクト、および複数の第2電極コンタクトを含む。サブキャパシタンススタック構造は、前記基板上に設置され、各サブキャパシタンススタック構造は、誘電体スタック、下部電極構造、および上部電極構造を含む。誘電体スタックは、積層された下部誘電体層、下部エッチングストップ層、中間誘電体層、上部エッチングストップ層、および上部誘電体層を含む。下部電極構造は、前記下部誘電体層内に設置された下部電極板および下部電極板から上方に向かって前記中間誘電体層内まで前記下部エッチングストップ層を貫通する複数の下部電極延伸部を含む。上部電極構造は、前記上部誘電体層内に設置された上部電極板および上部電極板から下方に向かって前記下部エッチングストップ層上まで前記上部エッチングストップ層および中間誘電体層を貫通する複数の上部電極延伸部を含む。前記複数の第1電極コンタクトは、それぞれサブキャパシタンススタック構造内の隣接する2層の下部電極板に接続される。前記複数の第2電極コンタクトは、それぞれサブキャパシタンススタック構造内の隣接する2層の上部電極板に接続される。
【0007】
本発明の3Dキャパシタンス構造の製造方法は、基板上に第1下部電極板を形成するステップ(a)と、前記第1下部電極板上に第1誘電体スタックを形成し、前記第1誘電体スタックが、積層された下部誘電体層、エッチングストップ層、および上部誘電体層を含むステップ(b)と、前記第1誘電体スタック内に複数の第1下部電極延伸部を形成し、前記複数の下部電極延伸部が、前記第1下部電極板から上方に向かって前記上部誘電体層内まで前記エッチングストップ層を貫通するステップ(c)と、第2誘電体スタックを形成し、前記第2誘電体スタックの構造が、前記第1誘電体スタックと同じであるステップ(d)と、前記第2誘電体スタック内に複数の第1上部電極延伸部を形成し、前記複数の第1上部電極延伸部が、前記第2誘電体スタックのエッチングストップ層を貫通して前記第1誘電体スタックのエッチングストップ層上まで延伸するステップ(e)と、前記第2誘電体スタックの上部誘電体層内に第1上部電極板を形成し、前記第1上部電極板が、前記複数の第1上部電極延伸部に接続されるステップ(f)と、第3誘電体スタックを形成し、前記第3誘電体スタックの構造が、前記第1誘電体スタックと同じであるステップ(g)と、前記第1下部電極板が露出するまで、前記第3誘電体スタック、前記第2誘電体スタック、および前記第1誘電体スタックを貫通する第1コンタクト開口を形成するステップ(h)と、前記第3誘電体スタックの上部誘電体層に下部電極板溝を形成し、前記下部電極板溝が、前記第1コンタクト開口と共に第1デュアルダマシン開口を構成するステップ(i)と、前記第1デュアルダマシン開口内に導体材料を形成し、第1電極コンタクトおよび第2下部電極板を同時に形成するステップ(j)と、ステップ(b)からステップ(d)までを繰り返して、第4誘電体スタック、複数の第2下部電極延伸部、および第5誘電体スタックを形成するステップ(k)と、第1上部電極板が露出するまで、前記第5誘電体スタック、前記第4誘電体スタック、および前記第3誘電体スタックを貫通する第2コンタクト開口を形成するステップ(l)と、前記第4誘電体スタックのエッチングストップ層が露出するまで、前記第5誘電体スタックおよび前記第4誘電体スタックの上部誘電体層を貫通する複数の延伸部開口を形成するステップ(m)と、前記第5誘電体スタックの上部誘電体層に上部電極板溝を形成し、前記上部電極板溝、前記複数の延伸部開口、および前記第2コンタクト開口が、第2デュアルダマシン開口を構成するステップ(n)と、前記第2デュアルダマシン開口内に導体材料を形成し、第2電極コンタクト、複数の第2上部電極延伸部、および第2上部電極板を同時に形成するステップ(o)と、ステップ(g)からステップ(o)までを少なくとも1回繰り返すステップ(p)と、を含む。
【0008】
以上のように、本発明は、複数のサブキャパシタンススタック構造を積み重ねて、サブキャパシタンススタック構造の間を直接電極コンタクトで接続することにより、密接に積み重ねられた大容量3D構造を構成し、構造を崩壊しにくくすることができる。さらに、サブキャパシタンススタック構造内にエッチングストップ層を設置するため、各層の厚さを制御することができ、最適なスタックを得ることができる。つまり、必要に応じて最適な上限配置を得ることができる。
【発明の効果】
【0009】
本発明の上記の特徴をより明確に理解しやすくするため、実施形態および添付図面を用いて、以下に詳細に説明する。
【図面の簡単な説明】
【0010】
本発明の第1実施形態の3Dキャパシタンス構造の断面図である。
図1のI-I’線に沿った3Dキャパシタンス構造の断面図である。
図1のI-I’線に沿った別の3Dキャパシタンス構造の断面図である。
本発明の第2実施形態の3Dキャパシタンス構造の断面図である。
本発明の第3実施形態の3Dキャパシタンス構造の製造工程の一段階の断面概略図である。
第3実施形態の3Dキャパシタンス構造の製造工程の一段階の断面概略図である。
第3実施形態の3Dキャパシタンス構造の製造工程の一段階の断面概略図である。
第3実施形態の3Dキャパシタンス構造の製造工程の一段階の断面概略図である。
第3実施形態の3Dキャパシタンス構造の製造工程の一段階の断面概略図である。
第3実施形態の3Dキャパシタンス構造の製造工程の一段階の断面概略図である。
第3実施形態の3Dキャパシタンス構造の製造工程の一段階の断面概略図である。
第3実施形態の3Dキャパシタンス構造の製造工程の一段階の断面概略図である。
第3実施形態の3Dキャパシタンス構造の製造工程の一段階の断面概略図である。
第3実施形態の3Dキャパシタンス構造の製造工程の一段階の断面概略図である。
第3実施形態の3Dキャパシタンス構造の製造工程の一段階の断面概略図である。
第3実施形態の3Dキャパシタンス構造の製造工程の一段階の断面概略図である。
第3実施形態の3Dキャパシタンス構造の製造工程の一段階の断面概略図である。
第3実施形態の3Dキャパシタンス構造の製造工程の一段階の断面概略図である。
第3実施形態の3Dキャパシタンス構造の製造工程の一段階の断面概略図である。
第3実施形態の3Dキャパシタンス構造の製造工程の一段階の断面概略図である。
第3実施形態の3Dキャパシタンス構造の製造工程の一段階の断面概略図である。
第3実施形態の3Dキャパシタンス構造の製造工程の一段階の断面概略図である。
第3実施形態の3Dキャパシタンス構造の製造工程の一段階の断面概略図である。
【発明を実施するための形態】
(【0011】以降は省略されています)
この特許をJ-PlatPat(特許庁公式サイト)で参照する
関連特許
APB株式会社
蓄電セル
1か月前
東ソー株式会社
絶縁電線
1か月前
個人
フレキシブル電気化学素子
1か月前
株式会社東芝
端子台
1か月前
株式会社ユーシン
操作装置
1か月前
マクセル株式会社
電源装置
1か月前
日新イオン機器株式会社
イオン源
1か月前
ローム株式会社
半導体装置
1か月前
富士電機株式会社
電磁接触器
11日前
株式会社GSユアサ
蓄電設備
1か月前
株式会社GSユアサ
蓄電装置
25日前
株式会社GSユアサ
蓄電装置
1か月前
株式会社GSユアサ
蓄電装置
1か月前
株式会社GSユアサ
蓄電装置
11日前
太陽誘電株式会社
コイル部品
1か月前
オムロン株式会社
電磁継電器
1か月前
株式会社GSユアサ
蓄電設備
1か月前
株式会社ホロン
冷陰極電子源
1か月前
三菱電機株式会社
回路遮断器
19日前
日本特殊陶業株式会社
保持装置
24日前
トヨタ自動車株式会社
蓄電装置
1か月前
サクサ株式会社
電池の固定構造
1か月前
トヨタ自動車株式会社
冷却構造
1か月前
北道電設株式会社
配電具カバー
1か月前
トヨタ自動車株式会社
蓄電装置
3日前
日東電工株式会社
積層体
1か月前
日新イオン機器株式会社
基板処理装置
1か月前
ホシデン株式会社
複合コネクタ
5日前
トヨタ自動車株式会社
バッテリ
1か月前
トヨタ自動車株式会社
蓄電装置
1か月前
大電株式会社
電線又はケーブル
3日前
日本特殊陶業株式会社
保持装置
1か月前
ノリタケ株式会社
熱伝導シート
1か月前
株式会社レゾナック
冷却器
19日前
矢崎総業株式会社
コネクタ
11日前
トヨタ自動車株式会社
電池パック
1か月前
続きを見る
他の特許を見る