TOP
|
特許
|
意匠
|
商標
特許ウォッチ
Twitter
他の特許を見る
10個以上の画像は省略されています。
公開番号
2025138436
公報種別
公開特許公報(A)
公開日
2025-09-25
出願番号
2024037531
出願日
2024-03-11
発明の名称
空気調和機
出願人
シャープ株式会社
代理人
個人
,
個人
,
個人
主分類
F24F
13/22 20060101AFI20250917BHJP(加熱;レンジ;換気)
要約
【課題】ドレンパンと断熱材との間にドレン水が入り込みにくくする。
【解決手段】室内機5は、熱交換器52と、ドレンパン60とを備える。ドレンパン60は、水受面61Uと、導水面64Uとを有する。水受面61Uは、熱交換器52の下方に設けられ、熱交換器52の表面で発生したドレン水を受ける。導水面64Uは、ドレン水を排出する排出口63R、63Lと、水受面61Uと導水面64Uとをつなぎ、ドレン水を水受面61Uから排出口63R又は排出口63Lまで導く排出経路R1を形成する。排出経路R1は、傾斜部65R、65Lを含む。傾斜部65R、65Lには、それぞれ、排出口63R、63Lに近づくに従って下方に位置するように傾斜し、後方側の端部に排出口63R、63Lが設けられる。水受面61Uと導水面64Uとは、上方からみたときに露出しないように断熱材70で覆われている。
【選択図】図3
特許請求の範囲
【請求項1】
熱交換器と、
ドレンパンと
を備え、
前記ドレンパンは、
前記熱交換器の上下方向における下方に設けられ、前記熱交換器の下部と対向し前記熱交換器の表面で発生したドレン水を受ける水受面と、
前記ドレン水を排出する排出口と、前記水受面と前記排出口とをつなぎ、前記ドレン水を前記水受面から前記排出口まで導く排出経路を形成する導水面と
を有し、
前記排出経路は、
前記排出口に近づくに従って前記上下方向の下方に位置するように傾斜し、前記後方側の端部に前記排出口が設けられた傾斜部を含み、
前記水受面と前記水受面から前記傾斜部の少なくとも一部までの前記排出経路を形成する前記導水面とは、上方からみたときに露出しないように断熱材で覆われている、空気調和機。
続きを表示(約 800 文字)
【請求項2】
前記傾斜部の前記導水面を覆う前記断熱材の前記導水面と対向する対向面は、前記導水面と非水溶性の接着剤を介して接着される、請求項1に記載の空気調和機。
【請求項3】
前記対向面と前記導水面との間には、前記排出経路に直交する直交方向に長手の形状である第1空間が形成され、
前記接着剤は、前記第1空間に充填される、請求項2に記載の空気調和機。
【請求項4】
前記第1空間は、前記導水面の前記直交方向の一方端から他方端まで延びる、請求項3に記載の空気調和機。
【請求項5】
前記第1空間に繋がる注入口を更に備える、請求項3に記載の空気調和機。
【請求項6】
前記注入口は前記第1空間の前記直交方向における一方と他方の間にある、請求項5に記載の空気調和機。
【請求項7】
前記第1空間に繋がる第1排出口を更に備える、請求項5に記載の空気調和機。
【請求項8】
前記導水面の前記直交方向の一方側から前記上下方向における上方に延びる第1壁と、
前記導水面の前記直交方向の他方側から前記上下方向における上方に延びる第2壁と
を有し、
前記断熱材は、前記第1壁と対向する端面を有し、
前記第1排出口は、前記端面と前記第1壁との間に設けられ、前記上方に延びる第2空間を介して前記第1空間と繋がる、請求項7に記載の空気調和機。
【請求項9】
前記断熱材と前記第2壁との間に設けられ、前記上方に延びる第3空間を介して前記第1空間と繋がる第2排出口を有する、請求項8に記載の空気調和機。
【請求項10】
前記第1空間と繋がる第2排出口を有し、
前記注入口は、前記第1排出口と前記第2排出口との間に設けられる、請求項7に記載の空気調和機。
発明の詳細な説明
【技術分野】
【0001】
本開示は、空気調和機に関する。
続きを表示(約 1,600 文字)
【背景技術】
【0002】
特許文献1の空気調和機の室内機用ドレンパンには、ドレンパン本体の内壁に沿って配置されるドレンパン用断熱部材が含まれる。
【先行技術文献】
【特許文献】
【0003】
特開2006-300431号公報
【発明の概要】
【発明が解決しようとする課題】
【0004】
特許文献1の室内機用ドレンパンのように、ドレンパン本体の内壁を断熱材で覆う場合、断熱材の端部とドレンパン本体との継ぎ目に結露水が流れると、ドレンパンと断熱材との間に結露水が入り込んで滞留することがある。ドレンパンと断熱材との間に滞留した結露水によってドレンパンの外面が冷やされ、ドレンパン自体が結露することがある。
【0005】
本開示は上記課題に鑑みてなされたものであり、その目的は、ドレンパンの結露を抑制しうる空気調和機を提供することにある。
【課題を解決するための手段】
【0006】
本開示に係る空気調和機は、熱交換器と、ドレンパンとを備える。前記ドレンパンは、水受面と、導水面とを有する。前記水受面は、前記熱交換器の上下方向における下方に設けられ、前記熱交換器の下部と対向し前記熱交換器の表面で発生したドレン水を受ける。前記導水面は、前記ドレン水を排出する排出口と、前記水受面と前記排出口とをつなぎ、前記熱ドレン水を前記水受面から前記排出口まで導く排出経路を形成する。前記排出経路は、傾斜部を含む。前記傾斜部には、前記排出口に近づくに従って上下方向の下方に位置するように傾斜し、前記後方側の端部に前記排出口が設けられる。前記水受面と前記水受面から前記傾斜部の少なくとも一部までの前記排出経路を形成する前記導水面とは、上方からみたときに露出しないように断熱材で覆われている。
【発明の効果】
【0007】
本開示によれば、ドレンパンと断熱材との間にドレン水が入り込みにくくなる。
【図面の簡単な説明】
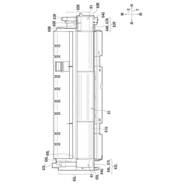
【0008】
室内機を示す斜視図である。
室内機の側面の断面図である。
ドレンパン及び断熱材を右斜め前から見た斜視図である。
ドレンパン及び断熱材を左斜め前から見た斜視図である。
ドレンパン及び断熱材を右斜め前から見た分解斜視図である。
ドレンパン及び断熱材を左斜め前から見た分解斜視図である。
断熱材が配置されたドレンパンを上方から見た上面図である。
ドレンパンのみを上方から見た上面図である。
図8のIX-IX線に沿った断面を示す。
図8のX-X線に沿った断面を示す。
断熱材の下面を示す下面図である。
図8のXII-XII線に沿った断面を示す。
図8のXIII-XIII線に沿った断面を示す。
【発明を実施するための形態】
【0009】
以下、本開示の実施形態について、図面を参照しながら説明する。なお、図中、同一又は相当部分については同一の参照符号を付して説明を繰り返さない。
【0010】
図1及び図2を参照して、本開示の実施形態に係る空気調和機の室内機5の構成について説明する。図1は、室内機5を示す斜視図である。図2は、室内機5の側面の断面図である。本実施形態では、図中に、互いに直交するX軸、Y軸及びZ軸を示す。X軸は、室内機5の背面50Bに垂直な方向である。Y軸は、室内機5の本体部50の長手方向であり、X軸に対して直交する。Z軸は、X軸及びY軸に対して直交する方向である。以下、X軸を前後方向又は縦方向、Y軸を横方向又は左右方向、及びZ軸を上下方向又は鉛直方向とも呼ぶ。
(【0011】以降は省略されています)
この特許をJ-PlatPat(特許庁公式サイト)で参照する
関連特許
シャープ株式会社
筐体構造
2日前
シャープ株式会社
端末装置
9日前
シャープ株式会社
通信端末
11日前
シャープ株式会社
表示装置
17日前
シャープ株式会社
加湿装置
27日前
シャープ株式会社
端末装置
4日前
シャープ株式会社
表示装置
3日前
シャープ株式会社
走行装置
9日前
シャープ株式会社
加熱機器
2日前
シャープ株式会社
空気調和機
1か月前
シャープ株式会社
空気調和機
1か月前
シャープ株式会社
空気調和機
1か月前
シャープ株式会社
加熱調理器
1か月前
シャープ株式会社
画像形成装置
1か月前
シャープ株式会社
画像形成装置
1か月前
シャープ株式会社
画像形成装置
1か月前
シャープ株式会社
画像形成装置
16日前
シャープ株式会社
画像形成装置
1か月前
シャープ株式会社
駐車制御装置
1か月前
シャープ株式会社
画像形成装置
1か月前
シャープ株式会社
アンテナ装置
3日前
シャープ株式会社
画像形成装置
4日前
シャープ株式会社
イオン発生装置
9日前
シャープ株式会社
緩衝材及び梱包体
4日前
シャープ株式会社
回収装置及び清掃具
24日前
シャープ株式会社
回収装置及び清掃具
24日前
シャープ株式会社
回収装置及び清掃具
24日前
シャープ株式会社
室外機及び空気調和機
1か月前
シャープ株式会社
通信装置および制御方法
18日前
シャープ株式会社
断熱箱体、および冷蔵庫
1か月前
シャープ株式会社
断熱箱体、および冷蔵庫
1か月前
シャープ株式会社
端末装置および通信方法
10日前
シャープ株式会社
トナー及びその製造方法
16日前
シャープ株式会社
決済システム及び決済方法
5日前
シャープ株式会社
画像形成装置及び現像装置
1か月前
シャープ株式会社
端末および端末の制御方法
16日前
続きを見る
他の特許を見る