TOP
|
特許
|
意匠
|
商標
特許ウォッチ
Twitter
他の特許を見る
10個以上の画像は省略されています。
公開番号
2025137065
公報種別
公開特許公報(A)
公開日
2025-09-19
出願番号
2024036056
出願日
2024-03-08
発明の名称
加熱調理器
出願人
シャープ株式会社
代理人
個人
,
個人
,
個人
主分類
F24C
15/02 20060101AFI20250911BHJP(加熱;レンジ;換気)
要約
【課題】ラック歯部の歯先が破損することを抑制することができる加熱調理器を提供する。
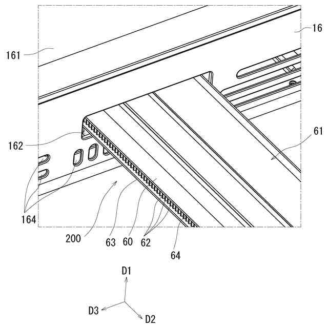
【解決手段】加熱調理器100は、加熱調理室50と、筐体10と、引出し体20と、ラック部60と、ピニオン70とを備える。筐体10の前壁16には、第2開口162が形成される。引出し体20は、加熱調理室50に対して第2方向D2に沿って引出し可能である。ラック部60は、第2開口162に挿通され、引出し体20とともに第2方向D2に沿って移動する。ピニオン70は、第1方向D1に沿う軸74回りに回転してラック歯部62に噛み合う。ラック歯部62は、ラック部60の第3方向D3の端部に配置される。ラック部60は、ラック歯部62よりも第1方向D1の一方に配置される第1壁部63を有する。第1壁部63の第3方向D3の一方の端部63aは、ラック歯部62の第3方向D3の一方の端部62aよりも第3方向D3の一方に位置する。
【選択図】図9
特許請求の範囲
【請求項1】
被加熱物が収容される加熱調理室と、
前記加熱調理室が収容され、開口が形成された壁部を有する筐体と、
前記加熱調理室に対して第1方向に沿って引出し可能な引出し体と、
ラック歯部を有し、前記第1方向に延びて前記開口に挿通されると共に前記引出し体に連結され、前記引出し体とともに前記第1方向に沿って移動するラック部と、
前記第1方向に交差する第2方向に沿う軸回りに回転して前記ラック歯部に噛み合うピニオンと
を備え、
前記ラック歯部は、前記ラック部の前記第1方向および前記第2方向に交差する第3方向の端部に配置され、
前記ラック部は、前記ラック歯部よりも前記第2方向の一方又は他方に配置される第1壁部を有し、
前記第1壁部の前記第3方向の一方の端部は、前記ラック歯部の前記第3方向の一方の端部よりも前記第3方向の一方に位置する、加熱調理器。
続きを表示(約 1,100 文字)
【請求項2】
前記ラック部は、前記ラック歯部に対して前記第1壁部と反対の位置に配置される第2壁部を有し、
前記第2壁部の前記第3方向の一方の端部は、前記ラック歯部の前記第3方向の一方の端部よりも前記第3方向の一方に位置する、請求項1に記載の加熱調理器。
【請求項3】
前記ピニオンは、
軸部と、
前記軸部から径方向外側に延びて前記ラック歯部に噛み合うピニオン歯部と
を有し、
前記軸部の前記第2方向の一方の端部は、前記ラック歯部の前記第2方向の一方の端部よりも前記第2方向の一方に位置し、
前記軸部の前記第2方向の他方の端部は、前記ラック歯部の前記第2方向の他方の端部よりも前記第2方向の他方に位置し、
前記ピニオン歯部の前記第2方向の一方の端部は、前記ラック歯部の前記第2方向の一方の端部よりも前記第2方向の他方に位置し、
前記ピニオン歯部の前記第2方向の他方の端部は、前記ラック歯部の前記第2方向の他方の端部よりも前記第2方向の一方に位置する、請求項2に記載の加熱調理器。
【請求項4】
前記壁部は、前記開口とは異なる別の開口をさらに有し、
前記引出し体は、
前記別の開口を開閉可能な扉と、
前記被加熱物を載置する載置部と
を有し、
前記ラック部は、前記載置部の下方に配置される、請求項1から請求項3の何れか1項に記載の加熱調理器。
【請求項5】
前記引出し体は、
前記被加熱物を載置する載置部と、
前記載置部の下方に配置されるスライド部と
を有し、
前記ラック歯部は、前記スライド部の水平方向の端部に配置される、請求項2に記載の加熱調理器。
【請求項6】
前記第2方向は、鉛直方向に沿う方向を示し、
前記第1壁部は、前記ラック歯部よりも下方に配置される、請求項4に記載の加熱調理器。
【請求項7】
前記ラック部は、前記ラック歯部に対して前記第1壁部と反対に配置される第2壁部を有し、
前記第2壁部の前記第3方向の一方の端部は、前記ラック歯部の前記第3方向の一方の端部よりも前記第3方向の一方に位置し、
前記第1壁部と前記第2壁部とのうち下方に配置される一方の壁部の前記第3方向の一方の端部が、他方の壁部の前記第3方向の一方の端部よりも前記第3方向の一方に位置する、請求項4に記載の加熱調理器。
【請求項8】
前記ピニオンは、金属で構成され、
前記ラック部は、合成樹脂で構成される、請求項1から請求項3の何れか1項に記載の加熱調理器。
発明の詳細な説明
【技術分野】
【0001】
本発明は、加熱調理器に関する。
続きを表示(約 1,600 文字)
【背景技術】
【0002】
特許文献1には、引出し式加熱調理器が開示されている。特許文献1に開示の引出し式加熱調理器は、マイクロ波を発生するマグネトロンと、加熱調理室と、この加熱調理室内に対して出し入れ可能な引出し体と、引出し体を駆動する駆動機構とを備える。駆動機構は、ピニオンギアと、このピニオンギアに噛み合うラック歯部(ラックギア)とを有する。
【先行技術文献】
【特許文献】
【0003】
特開2008-8562号公報
【発明の概要】
【発明が解決しようとする課題】
【0004】
特許文献1の引出し体は、ラック歯部の歯先が突出しているため、ラック歯部の歯先が破損する虞がある。
【0005】
本発明は、上記課題に鑑み、ラック歯部の歯先が破損することを抑制できる加熱調理器を提供することを目的とする。
【課題を解決するための手段】
【0006】
本発明の一局面によれば、加熱調理器は、加熱調理室と、筐体と、引出し体と、ラック部と、ピニオンとを備える。前記加熱調理室には、被加熱物が収容される。前記筐体には、前記加熱調理室が収容される。前記筐体は、壁部を有する。前記壁部には、開口が形成される。前記引出し体は、前記加熱調理室に対して第1方向に沿って引出し可能である。前記ラック部は、ラック歯部を有し、前記第1方向に延びて前記開口に挿通されると共に前記引出し体に連結され、前記引出し体とともに前記第1方向に沿って移動する。前記ピニオンは、前記第1方向に交差する第2方向に沿う軸回りに回転して前記ラック歯部に噛み合う。前記ラック歯部は、前記ラック部の前記第1方向および前記第2方向に交差する第3方向の端部に配置される。前記ラック部は、前記ラック歯部よりも前記第2方向の一方又は他方に配置される第1壁部を有する。前記第1壁部の前記第3方向の一方の端部は、前記ラック歯部の前記第3方向の一方の端部よりも前記第3方向の一方に位置する。
【発明の効果】
【0007】
本発明の加熱調理器によれば、ラック歯部の歯先が破損することを抑制することができる。
【図面の簡単な説明】
【0008】
本発明の実施形態に係る加熱調理器の斜視図である。
本実施形態に係る加熱調理器の斜視図である。
本実施形態に係る加熱調理器の左側面を示す図である。
本実施形態に係る筐体が取り除かれた状態の加熱調理器を示す斜視図である。
本実施形態に係る筐体が取り除かれた状態の加熱調理器を示す斜視図である。
本実施形態に係る筐体が取り除かれた状態の加熱調理器の左側面を示す図である。
駆動モーターとラック部とピニオンとを示す斜視図である。
第2開口の周辺を示す斜視図である。
ラック歯部とピニオン歯部とを示す正面図である。
ラック部の変形例を示す図である。
【発明を実施するための形態】
【0009】
以下、図面を参照して、本発明に係る加熱調理器の実施形態について説明する。なお、図中、同一又は相当部分については同一の参照符号を付して説明を繰り返さない。
【0010】
図1および図2を参照して、本実施形態に係る加熱調理器100について説明する。図1および図2は、本発明の実施形態に係る加熱調理器の斜視図である。詳しくは、図1は、加熱調理器100を左斜め前の下方から観た外観を示す。図2は、加熱調理器100を右斜め後の上方から観た外観を示す。図1および図2に示すように、加熱調理器100は、引出し式加熱調理器である。加熱調理器100は、被加熱物を加熱調理する。被加熱物は、例えば、食品である。加熱調理器100は、筐体10と、引出し体20と、操作パネル30とを備える。
(【0011】以降は省略されています)
この特許をJ-PlatPat(特許庁公式サイト)で参照する
関連特許
シャープ株式会社
加湿装置
15日前
シャープ株式会社
表示装置
5日前
シャープ株式会社
画像形成装置
4日前
シャープ株式会社
回収装置及び清掃具
12日前
シャープ株式会社
回収装置及び清掃具
12日前
シャープ株式会社
回収装置及び清掃具
12日前
シャープ株式会社
トナー及びその製造方法
4日前
シャープ株式会社
通信装置および制御方法
6日前
シャープ株式会社
端末および端末の制御方法
4日前
シャープ株式会社
補助電源回路および電源装置
7日前
シャープ株式会社
端末装置、方法、および集積回路
11日前
シャープ株式会社
端末装置、方法、および集積回路
11日前
シャープ株式会社
端末装置、方法、および集積回路
11日前
シャープ株式会社
端末装置、方法、および集積回路
15日前
シャープ株式会社
電子機器および電子機器の制御方法
5日前
シャープ株式会社
通信装置および通信装置の設置方法
6日前
シャープ株式会社
端末装置、方法、および、集積回路
14日前
シャープ株式会社
端末装置、方法、および、集積回路
14日前
シャープ株式会社
トナーおよびそれを含む二成分現像剤
12日前
シャープ株式会社
画像形成装置及び画像形成装置の制御方法
5日前
シャープ株式会社
画像処理装置及び画像処理装置の制御方法
11日前
シャープ株式会社
画像処理装置、プログラム及び画像処理方法
12日前
シャープ株式会社
機器梱包セットおよびそれに用いられる緩衝材
4日前
シャープ株式会社
電源装置、照明装置および電源装置の製造方法
7日前
シャープ株式会社
表示装置、画像形成装置、及び付加表示の表示制御方法
12日前
シャープ株式会社
画像処理装置及び画像処理装置における暗号化設定方法
12日前
シャープ株式会社
物品管理システム、物品管理方法、及び物品管理プログラム
11日前
シャープ株式会社
アクセスポイント装置、無線通信装置及び無線通信システム
5日前
シャープ株式会社
UAV(Uncrewed Aerial Vehicle)
11日前
シャープ株式会社
保管棚管理システム、保管棚管理方法、及び保管棚管理プログラム
11日前
シャープ株式会社
受信装置及び受信方法
14日前
シャープ株式会社
受信装置及び受信方法
14日前
シャープ株式会社
案内システム、案内方法、案内サーバ、案内プログラム、および案内記録媒体
11日前
シャープ株式会社
情報処理システム、情報処理装置、情報処理方法、及び音声入力制御プログラム
15日前
シャープ株式会社
情報処理システム、情報処理装置、情報処理方法、及び音声入力制御プログラム
15日前
シャープ株式会社
情報処理装置および情報処理システム
13日前
続きを見る
他の特許を見る