TOP
|
特許
|
意匠
|
商標
特許ウォッチ
Twitter
他の特許を見る
10個以上の画像は省略されています。
公開番号
2025138237
公報種別
公開特許公報(A)
公開日
2025-09-25
出願番号
2024037211
出願日
2024-03-11
発明の名称
空気調和機
出願人
シャープ株式会社
代理人
弁理士法人WisePlus
主分類
F24F
13/20 20060101AFI20250917BHJP(加熱;レンジ;換気)
要約
【課題】本開示は、ショートサーキットを効果的に抑制するとともに、吹出口から吹き出す空気を安定化させることのできる空気調和機を提供する。
【解決手段】空気調和機は、吸込口、吹出口、及び、吸込口と吹出口とを結ぶ空気通路を有し、左右方向を長手方向とする室内機筐体と、ファンと、吹出口に配置され、吹出口から吹き出す空気の向きを上下方向に変更する上下風向板と、を備え、ファンと吹出口との間の空気通路は、上下方向の上方側に位置する上壁を含み、上壁は、前後方向の後方側から前方側に向かうにつれて上下方向の下方側に位置するように延びる第1壁と、第1壁よりも前側に位置し、前後方向の後方側から前方側に向かうにつれて上下方向の上方側に位置するように延びる第2壁と、第1壁と第2壁との間に位置する凸部と、を有し、凸部は、第1壁の前方側端部及び第2壁の後方側端部よりも上下方向の下方に突出する。
【選択図】図1
特許請求の範囲
【請求項1】
吸込口、吹出口、及び、前記吸込口と前記吹出口とを結ぶ空気通路を有し、左右方向を長手方向とする室内機筐体と、
前記空気通路に配置され、前記吸込口から吸い込まれた空気を前記吹出口に向かって流通させるファンと、
前記吹出口に配置され、前記吹出口から吹き出す空気の向きを上下方向に変更する上下風向板と、を備え、
前記ファンと前記吹出口との間の前記空気通路は、前記上下方向の上方側に位置する上壁を含み、
前記上壁は、前後方向の後方側から前方側に向かうにつれて前記上下方向の下方側に位置するように延びる第1壁と、前記第1壁よりも前記前側に位置し、前記前後方向の前記後方側から前記前方側に向かうにつれて前記上下方向の上方側に位置するように延びる第2壁と、前記第1壁と前記第2壁との間に位置する凸部と、を有し、
前記凸部は、前記第1壁の前記前方側端部及び前記第2壁の前記後方側端部よりも前記上下方向の下方に突出する、空気調和機。
続きを表示(約 870 文字)
【請求項2】
前記凸部は、前記第1壁の前記前方側端部から前記凸部の頂部に向かって前記下方側に延びる第1面と、前記第2壁の前記後方側端部から前記凸部の頂部に向かって前記下方側に延びる第2面と、を備え、
前記第2面が前記前後方向となす鋭角は、前記第1面が前記前後方向となす鋭角よりも大きい、請求項1に記載の空気調和機。
【請求項3】
前記第2壁の前記後方側端部は、前記第1壁の前記前方側端部よりも、前記上下方向の上方側に位置する、請求項1に記載の空気調和機。
【請求項4】
前記凸部は、前記第1壁の前記前方側端部から前記凸部の頂部に向かって前記下方側に延びる第1面と、前記第2壁の前記後方側端部から前記凸部の頂部に向かって前記下方側に延びる第2面と、前記第1面と前記第2面とを繋ぐ第3面と、を有し、
前記第3面は、前記前後方向の後方側から前方側に向かうにつれて前記上下方向の下方側に位置するように延びる面である、請求項1に記載の空気調和機。
【請求項5】
前記第3面が前記前後方向となす鋭角は、前記第1面が前記前後方向となす鋭角よりも小さい、請求項4に記載の空気調和機。
【請求項6】
前記第3面が前記前後方向となす鋭角は、前記第1壁が前記前後方向となす鋭角に等しい、請求項4に記載の空気調和機。
【請求項7】
前記凸部の左右方向中央部における前記第1面が前記上下方向となす鋭角は、前記凸部の左右方向側部の少なくとも一方における前記第1面が前記上下方向となす鋭角よりも小さい、請求項1に記載の空気調和機。
【請求項8】
前記上下風向板は、前記左右方向に延在するサブルーバを備え、
前記凸部のうち、前記サブルーバが設けられた領域に対応する領域の前記第1面が前記上下方向となす鋭角は、前記サブルーバが設けられていない領域に対応する領域の前記第1面が前記上下方向となす鋭角よりも大きい、請求項1~7のいずれかに記載の空気調和機。
発明の詳細な説明
【技術分野】
【0001】
以下の開示は、空気調和機に関する。
続きを表示(約 2,000 文字)
【背景技術】
【0002】
空気調和機は一般に、室内機筐体の前面上部に空気の吸込口を備え、前面下部に吹出口を備えるが、吹出口から吹き出された空気をすぐに吸込口が吸い込むショートサーキットと呼ばれる現象が生じることがある。ショートサーキットが発生すると、空気調和のために吹き出された空気が戻ってきてしまうため、ショートサーキットを抑制するための手法が種々開発されている(例えば特許文献1参照)。
【先行技術文献】
【特許文献】
【0003】
特開2014-055684号公報
【発明の概要】
【発明が解決しようとする課題】
【0004】
ところで、空気調和機の空気通路には、吹出口から吹き出す空気を安定化させる役割がある。しかしながら、特許文献1の空気調和機では、突出部よりも前側(下流側)の空気通路が有効に活用できない。そのため、ショートサーキットを効果的に抑制しつつ、吹出口から吹き出す空気を安定化させるための工夫の余地があった。
【0005】
本開示は、ショートサーキットを効果的に抑制するとともに、吹出口から吹き出す空気を安定化させることのできる空気調和機を提供することを目的とする。
【課題を解決するための手段】
【0006】
本開示の空気調和機は、吸込口、吹出口、及び、前記吸込口と前記吹出口とを結ぶ空気通路を有し、左右方向を長手方向とする室内機筐体と、前記空気通路に配置され、前記吸込口から吸い込まれた空気を前記吹出口に向かって流通させるファンと、前記吹出口に配置され、前記吹出口から吹き出す空気の向きを上下方向に変更する上下風向板と、を備え、前記ファンと前記吹出口との間の前記空気通路は、前記上下方向の上方側に位置する上壁を含み、前記上壁は、前後方向の後方側から前方側に向かうにつれて前記上下方向の下方側に位置するように延びる第1壁と、前記第1壁よりも前記前側に位置し、前記前後方向の前記後方側から前記前方側に向かうにつれて前記上下方向の上方側に位置するように延びる第2壁と、前記第1壁と前記第2壁との間に位置する凸部と、を有し、前記凸部は、前記第1壁の前記前方側端部及び前記第2壁の前記後方側端部よりも前記上下方向の下方に突出する。
【発明の効果】
【0007】
本開示によれば、ショートサーキットを効果的に抑制するとともに、吹出口から吹き出す空気を安定化させることのできる空気調和機を提供することができる。
【図面の簡単な説明】
【0008】
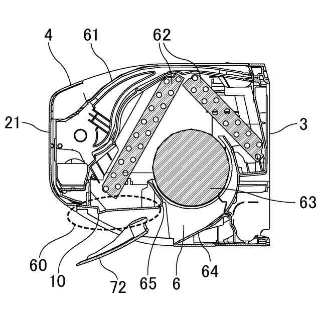
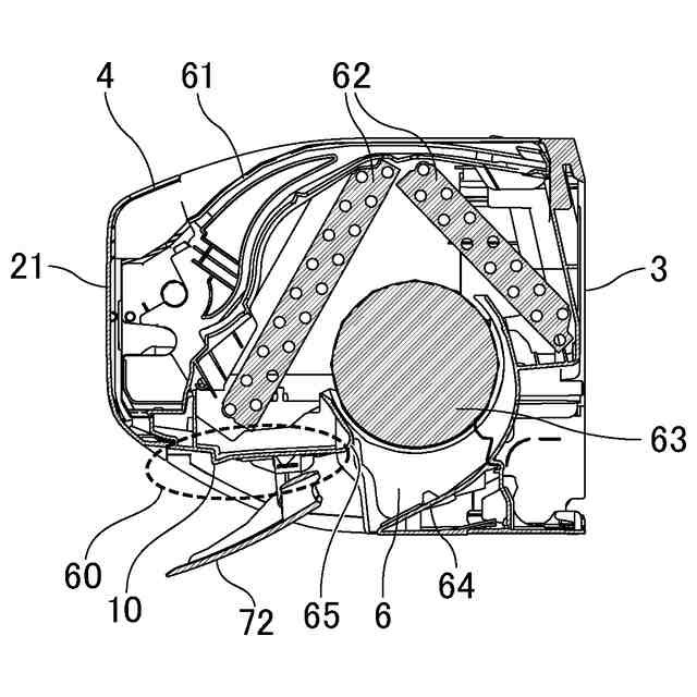
空気調和機1の外観を略示した斜視図である。
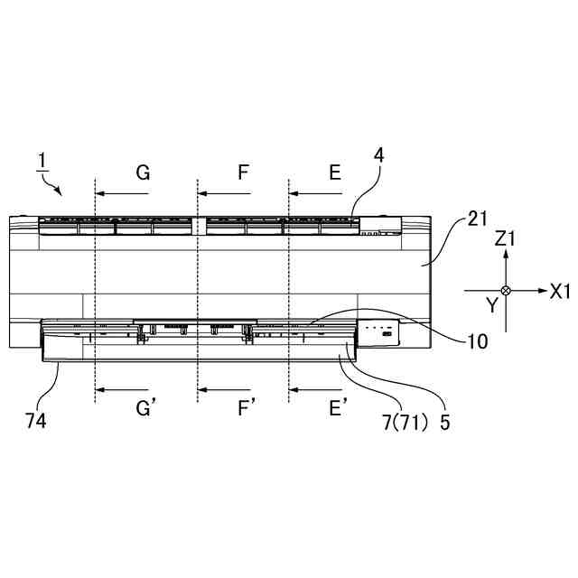
空気調和機1の外観を略示した正面図である。
空気調和機1の外観を略示した底面図である。
空気調和機1の内部構造を略示した断面図(E-E’線断面図)である。
空気調和機1の内部構造を略示した断面図(F-F’線断面図)である。
空気調和機1の内部構造を略示した断面図(G-G’線断面図)である。
図4A中、丸で囲んだ部分付近を拡大した模式図であり、下方吹出姿勢における空気の流れを概念的に示す図である。
図4A中、丸で囲んだ部分付近を拡大した模式図であり、上方吹出姿勢における空気の流れを概念的に示す図である。
図4A中、丸で囲んだ部分付近を拡大した模式図である。
図4A中、丸で囲んだ部分付近を拡大した模式図である。
図4A中、丸で囲んだ部分付近の一部を拡大した模式図である。
実施形態3の空気調和機1において、上下風向板7を取り除した状態で吹出口5を拡大した斜視模式図である。
図9A中の丸囲み部分Bの断面模式図である。
図9A中の丸囲み部分C2の断面模式図である。
実施形態4の空気調和機1における上壁60付近の内部構造を略示した断面模式図である。
空気調和機1の外観を略示した斜視図である。
【発明を実施するための形態】
【0009】
以下、本開示に係る空気調和機の実施形態について、図面を参照しながら説明する。本開示は、以下の実施形態に記載された内容に限定されるものではなく、本開示の構成を充足する範囲内で適宜設計変更を行うことが可能である。図中、同一又は同等の要素には同一の符号を付し、重複する説明は省略する。図面では主要な部分のみ示している。以下では、主要な部分及び本開示に関する部分を中心に説明する。
【0010】
本明細書中、2つの線又は平面が「平行」であるとは、両者がなす角度(絶対値)が、0°±3°の範囲内であることを意味する。また、2つの線又は平面が「直交」する(及び「垂直」である)とは、両者がなす角度(絶対値)が、90°±3°の範囲内であることを意味する。
(【0011】以降は省略されています)
この特許をJ-PlatPat(特許庁公式サイト)で参照する
関連特許
シャープ株式会社
端末装置
13日前
シャープ株式会社
加熱機器
6日前
シャープ株式会社
筐体構造
6日前
シャープ株式会社
端末装置
8日前
シャープ株式会社
表示装置
7日前
シャープ株式会社
画像形成装置
1日前
シャープ株式会社
画像形成装置
1日前
シャープ株式会社
画像形成装置
8日前
シャープ株式会社
アンテナ装置
7日前
シャープ株式会社
イオン発生装置
13日前
シャープ株式会社
緩衝材及び梱包体
8日前
シャープ株式会社
端末装置および測定方法
3日前
シャープ株式会社
決済システム及び決済方法
9日前
シャープ株式会社
情報処理装置及び設定方法
6日前
シャープ株式会社
動画像符号化装置、復号装置
9日前
シャープ株式会社
動画像符号化装置、復号装置
6日前
シャープ株式会社
端末装置、および、基地局装置
8日前
シャープ株式会社
給油管理装置、及び給油システム
6日前
シャープ株式会社
端末装置、方法、および、集積回路
8日前
シャープ株式会社
UE(User Equipment)
8日前
シャープ株式会社
画像処理装置及び画像処理装置の制御方法
6日前
シャープ株式会社
画像形成装置の定着装置及び画像形成装置
3日前
シャープ株式会社
3Dデータ復号装置および3Dデータ符号化装置
6日前
シャープ株式会社
3Dデータ復号装置および3Dデータ符号化装置
6日前
シャープ株式会社
表示装置、電源制御方法、及び電源制御プログラム
今日
シャープ株式会社
ジョブ処理装置、画像処理装置、およびジョブ処理方法
今日
シャープ株式会社
加湿装置、当該加湿装置の制御方法及び当該加湿装置を備える空気清浄装置
6日前
シャープ株式会社
予測画像生成装置、動画像復号装置、動画像符号化装置、及び予測画像生成方法
6日前
シャープ株式会社
画像処理装置および画像処理方法
今日
シャープ株式会社
画像処理装置、画像処理システム、出力装置、画像処理方法、及び画像処理プログラム
1日前
株式会社トヨトミ
五徳
6日前
株式会社コロナ
空調装置
2か月前
株式会社コロナ
空調装置
21日前
株式会社コロナ
空調装置
6日前
株式会社コロナ
空調装置
4か月前
株式会社コロナ
空調装置
6日前
続きを見る
他の特許を見る