TOP
|
特許
|
意匠
|
商標
特許ウォッチ
Twitter
他の特許を見る
公開番号
2025161275
公報種別
公開特許公報(A)
公開日
2025-10-24
出願番号
2024064324
出願日
2024-04-12
発明の名称
加湿装置、当該加湿装置の制御方法及び当該加湿装置を備える空気清浄装置
出願人
シャープ株式会社
代理人
個人
,
個人
主分類
F24F
6/04 20060101AFI20251017BHJP(加熱;レンジ;換気)
要約
【課題】加湿装置、当該加湿装置の制御方法及び当該加湿装置を備える空気清浄装置を提供する。
【解決手段】加湿装置は、貯水部と、運転時に貯水部に貯められた水を空気中に放出する加湿部と、貯水部に貯められた水の水位を検知する水位センサーと、加湿部の運転を停止した状態で水位が減らない場合、加湿部の運転を開始する制御部と、を備える。
【選択図】図4
特許請求の範囲
【請求項1】
貯水部と、
運転時に前記貯水部に貯められた水を空気中に放出する加湿部と、
前記貯水部に貯められた水の水位を検知する水位センサーと、
前記加湿部の運転を停止した状態で前記水位が減らない場合、前記加湿部の運転を開始する制御部と、を備える加湿装置。
続きを表示(約 950 文字)
【請求項2】
前記制御部は、前記加湿部の運転を停止した状態で前記水位が減らない場合、現時点が第1時期及び第2時期のいずれに属するのかを判定し、前記現時点が前記第1時期に属すると判定した場合は前記加湿部の運転を開始し、前記現時点が前記第2時期に属すると判定した場合は前記加湿部の運転を開始しない、請求項1に記載の加湿装置。
【請求項3】
前記制御部が前記現時点は前記第1時期に属すると判定した場合に、前記水の交換を指示する第1報知を行う報知部を備える、請求項2に記載の加湿装置。
【請求項4】
前記報知部が前記第1報知を行った後で前記水位が増えた場合、前記報知部は前記第1報知を停止する、請求項3に記載の加湿装置。
【請求項5】
前記制御部が前記現時点は前記第2時期に属すると判定した場合に、前記報知部は前記水の廃棄を指示する第2報知を行う、請求項3に記載の加湿装置。
【請求項6】
前記報知部が前記第2報知を行った後で前記水位がゼロを示した場合、前記報知部は前記第2報知を停止する、請求項5に記載の加湿装置。
【請求項7】
外部から情報を受信する通信部を備え、
前記制御部は、前記通信部を介して、前記第1時期に属すると設定された期間及び前記第2時期に属すると設定された期間の情報を前記外部から取得する、請求項2に記載の加湿装置。
【請求項8】
前記貯水部及び前記加湿部を収容する本体と、
前記貯水部に補給するための水が入れられ前記本体に着脱可能に取り付けられたタンクと、を備える請求項1または2に記載の加湿装置。
【請求項9】
請求項1または2に記載の加湿装置と空気清浄部とを備える、空気清浄装置。
【請求項10】
貯水部と、
運転時に前記貯水部に貯められた水を空気中に放出する加湿部と、
前記貯水部に貯められた水の水位を検知する水位センサーと、を備える加湿装置において、
前記加湿部の運転を停止した状態で前記水位が減らない場合、前記加湿部の運転を開始する、加湿装置の制御方法。
(【請求項11】以降は省略されています)
発明の詳細な説明
【技術分野】
【0001】
本開示は、加湿装置、当該加湿装置の制御方法及び当該加湿装置を備える空気清浄装置に関する。
続きを表示(約 1,600 文字)
【背景技術】
【0002】
加湿装置では、貯水容器に貯められた水を利用して室内の加湿を行うものがある。例えば、特許文献1には、貯水容器内の水を気化部材で気化させて加湿を行う加湿器が開示されている。加湿器は、貯水容器内の水位を検知する検知部を備え、検知部の検知結果に基づいて、ユーザに対し給水すべき給水必要状態であることを報知する。
【先行技術文献】
【特許文献】
【0003】
特開2013-053754号公報
【発明の概要】
【発明が解決しようとする課題】
【0004】
貯水容器内に貯められた水は、一定期間放置されると残留水に空気中の雑菌が入り込んで、異臭が発生する等の問題が引き起こされる場合がある。また、残留水中のミネラル、鉄分等の成分により水垢等の汚れが気化部材に付着して水の気化が阻害され、加湿装置の加湿性能が低下するという問題もある。よって、貯水容器内の水が消費されずに一定期間残留した場合には、残留水を廃棄する、または、新しい水に交換することが好ましい。
【0005】
しかしながら、特許文献1の加湿器では、加湿運転によって貯水容器内の水が消費されて水位が下がる場合、ユーザに対して給水が必要であることを報知するものの、例えば、加湿運転が停止した状態で水位が大きく変わらない場合にはユーザに対しては何ら報知されない。よって、貯水容器内の水が一定期間放置されたとしてもユーザが気づかずに、上述の問題が発生してしまうおそれがある。
【0006】
本開示は、上記問題点を解消するためになされたもので、貯水容器内の水が一定期間以上残留することを抑制することができる加湿装置、当該加湿装置の制御方法及び当該加湿装置を備える空気清浄装置を提供することを目的としている。
【課題を解決するための手段】
【0007】
本開示の一態様に係る加湿装置は、貯水部と、運転時に貯水部に貯められた水を空気中に放出する加湿部と、貯水部に貯められた水の水位を検知する水位センサーと、加湿部の運転を停止した状態で水位が減らない場合、加湿部の運転を開始する制御部と、を備える。
【図面の簡単な説明】
【0008】
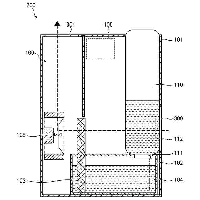
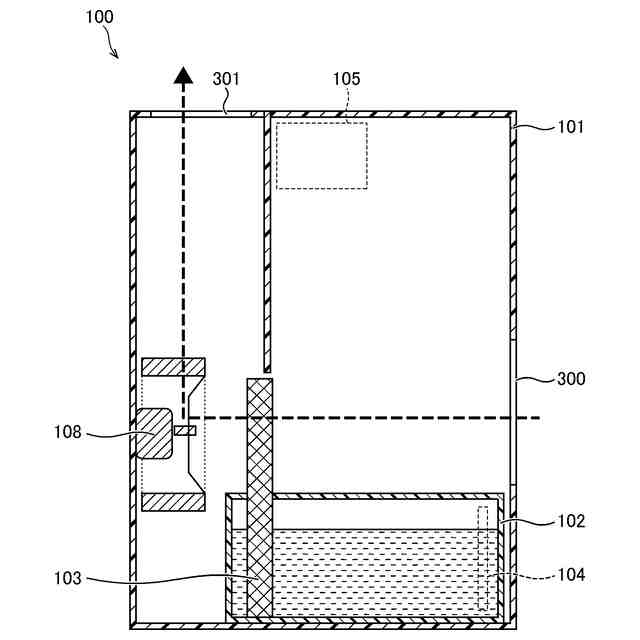
本開示に係る加湿装置の内部構造を示す概略断面図である。
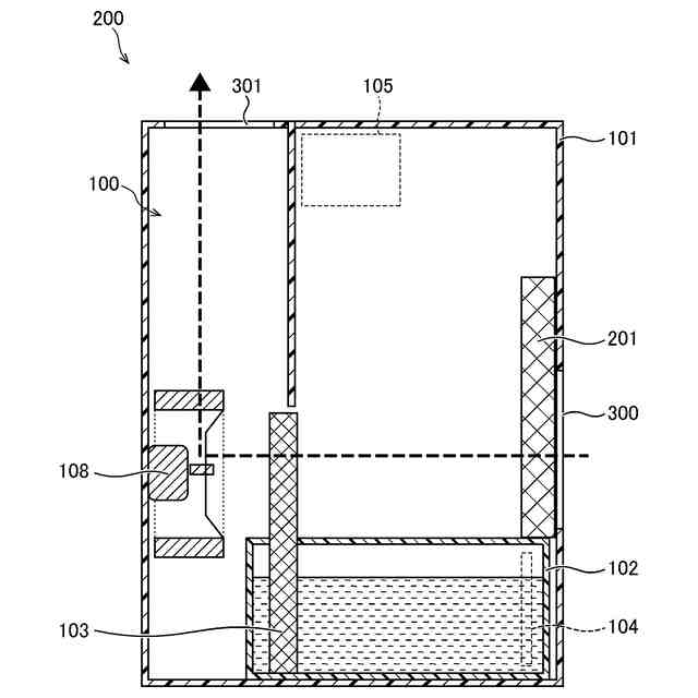
本開示に係る空気清浄装置の内部構造を示す概略断面図である。
実施形態1に係る加湿装置のブロック図である。
実施形態1に係るフローチャートである。
実施形態2に係る加湿装置のブロック図である。
実施形態2に係るフローチャートである。
実施形態3に係る加湿装置の内部構造を示す概略断面図である。
【発明を実施するための形態】
【0009】
以下、本開示について、図面を参照しつつ説明する。なお、図面については、同一又は同等の要素には同一の符号を付し、重複する説明は省略する。また、以下に説明する本開示及び本開示の実施形態は、特許請求の範囲に記載された本開示の内容を不当に限定するものではなく、実施形態で説明される構成の全てが本開示の解決手段として必須であるとは限らない。
【0010】
<加湿装置>
図1は、本開示に係る加湿装置100の内部構造を示す概略断面図である。加湿装置100は本体101を有し、本体101の内部に貯水部102、加湿部103、水位センサー104、制御部105等が収容されている。本体101は筐体であり、筐体で囲まれた内部空間を有する。図示しないが、本体101の筐体の一部分は着脱可能にされており、取り外すことで内部空間の各構成に接触することができる。
(【0011】以降は省略されています)
この特許をJ-PlatPat(特許庁公式サイト)で参照する
関連特許
シャープ株式会社
送風機
9日前
シャープ株式会社
表示装置
24日前
シャープ株式会社
加熱機器
23日前
シャープ株式会社
端末装置
25日前
シャープ株式会社
表示装置
1か月前
シャープ株式会社
筐体構造
23日前
シャープ株式会社
表示装置
9日前
シャープ株式会社
表示装置
9日前
シャープ株式会社
端末装置
1か月前
シャープ株式会社
通信端末
1か月前
シャープ株式会社
通信装置
11日前
シャープ株式会社
走行装置
1か月前
シャープ株式会社
アンテナ装置
24日前
シャープ株式会社
画像形成装置
25日前
シャープ株式会社
画像形成装置
18日前
シャープ株式会社
画像形成装置
18日前
シャープ株式会社
画像形成装置
4日前
シャープ株式会社
画像形成装置
1か月前
シャープ株式会社
イオン発生装置
1か月前
シャープ株式会社
緩衝材及び梱包体
25日前
シャープ株式会社
端末装置および通信方法
1か月前
シャープ株式会社
端末装置および通信方法
10日前
シャープ株式会社
トナー及びその製造方法
1か月前
シャープ株式会社
端末装置および測定方法
20日前
シャープ株式会社
通信装置および制御方法
1か月前
シャープ株式会社
端末および端末の制御方法
1か月前
シャープ株式会社
決済システム及び決済方法
26日前
シャープ株式会社
情報処理装置及び設定方法
23日前
シャープ株式会社
補助電源回路および電源装置
1か月前
シャープ株式会社
動画像符号化装置、復号装置
23日前
シャープ株式会社
給紙装置および画像形成装置
1か月前
シャープ株式会社
定着装置および画像形成装置
1か月前
シャープ株式会社
動画像符号化装置、復号装置
26日前
シャープ株式会社
端末装置、および、基地局装置
25日前
シャープ株式会社
端末装置、および、基地局装置
1か月前
シャープ株式会社
画像処理装置及び表示制御方法
9日前
続きを見る
他の特許を見る