TOP
|
特許
|
意匠
|
商標
特許ウォッチ
Twitter
他の特許を見る
公開番号
2025139370
公報種別
公開特許公報(A)
公開日
2025-09-26
出願番号
2024038272
出願日
2024-03-12
発明の名称
画像形成装置及び現像装置
出願人
シャープ株式会社
代理人
弁理士法人あーく事務所
主分類
G03G
15/08 20060101AFI20250918BHJP(写真;映画;光波以外の波を使用する類似技術;電子写真;ホログラフイ)
要約
【課題】現像剤におけるトナー量の検知精度を向上させることができる画像形成装置及び現像装置を提供する。
【解決手段】画像形成装置100は、現像槽211と、第1スクリュー状搬送部材212と、現像剤担持体(214)と、トナー量検知部219と、を有する現像装置2を備え、現像槽211には第1搬送方向S1における上流側の端部の第1スクリュー状搬送部材212よりも上方の位置に開口211aが設けられている。画像形成装置100は、トナーを受け入れる受入口220aから受け入れたトナーを現像槽211における開口211aに案内する案内路221が設けられた案内部220を備え、案内路221は、上下方向Zに対して傾斜して受入口220aから受け入れたトナーが落下する傾斜面221aを有している。
【選択図】図9
特許請求の範囲
【請求項1】
トナーを含む現像剤を収容する長尺な現像槽と、前記現像槽に収容された前記現像剤を前記現像槽の長手方向における一方側の所定の第1搬送方向に搬送する第1スクリュー状搬送部材と、前記現像槽に収容された前記現像剤を担持する現像剤担持体と、前記現像槽に収容された前記現像剤に含まれるトナー量を検知するトナー量検知部と、を有する現像装置を備え、前記現像槽には前記第1搬送方向における上流側の端部の前記第1スクリュー状搬送部材よりも上方の位置に開口が設けられた画像形成装置であって、
前記トナーを受け入れる受入口から受け入れた前記トナーを前記現像槽における前記開口に案内する案内路が設けられた案内部を備え、
前記案内路は、上下方向に対して傾斜して前記受入口から受け入れた前記トナーが落下する傾斜面を有している、ことを特徴とする画像形成装置。
続きを表示(約 1,600 文字)
【請求項2】
前記受入口は、前記第1スクリュー状搬送部材の第1回転軸線と重ならないように前記開口からオフセットした位置に位置している、ことを特徴とする請求項1に記載の画像形成装置。
【請求項3】
前記傾斜面は、前記現像槽の長手方向から視たときに下方に行くに従って前記第1スクリュー状搬送部材の第1回転軸線を通りかつ上下方向に沿った仮想直線に近づくように傾斜している、ことを特徴とする請求項1に記載の画像形成装置。
【請求項4】
前記第1スクリュー状搬送部材は、前記受入口が前記開口からオフセットされた側において、下方から上方に向かって回転駆動される、ことを特徴とする請求項3に記載の画像形成装置。
【請求項5】
前記第1スクリュー状搬送部材は、第1回転軸部と、前記第1回転軸部の外周に設けられた第1螺旋羽根と、を有し、
前記開口は、前記受入口が前記開口からオフセットされた側の端部位置が、前記現像槽の短手方向における前記第1回転軸部の前記オフセットされた側の外径位置と前記短手方向における前記第1螺旋羽根の前記オフセットされた側の外径位置との間に位置するように前記現像槽に設けられる、ことを特徴とする請求項2に記載の画像形成装置。
【請求項6】
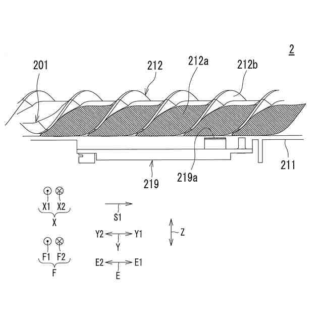
前記現像装置は、前記現像槽に収容される前記現像剤を前記長手方向における他方側の第2搬送方向に搬送する第2スクリュー状搬送部材をさらに備え、前記現像槽には、前記第1スクリュー状搬送部材が配設される第1室と、前記第2スクリュー状搬送部材が配設される第2室と、前記第1搬送方向の下流側で前記第1室と前記第2室とを連通する第1連通部と、が設けられ、前記現像剤担持体は、前記第2スクリュー状搬送部材で搬送される前記現像剤を担持し、
前記トナー量検知部は、前記第1室において前記開口と前記第1連通部の中間位置より前記開口側に設けられている、ことを特徴とする請求項1に記載の画像形成装置。
【請求項7】
前記第1室及び前記第2室は、前記第2室の底部の最も低い第2位置が前記第1室の底部の最も低い第1位置よりも高い位置に位置するように前記現像槽に設けられ、前記第1スクリュー状搬送部材及び前記第2スクリュー状搬送部材は、前記第2スクリュー状搬送部材の第2回転軸線が前記第1スクリュー状搬送部材の第1回転軸線よりも高い位置に位置するように設けられている、ことを特徴とする請求項6に記載の画像形成装置。
【請求項8】
前記案内部は、前記現像装置の前記現像槽に設けられている、ことを特徴とする請求項1の画像形成装置。
【請求項9】
前記案内部は、前記画像形成装置の本体に設けられ、前記現像装置は、前記画像形成装置の本体に着脱可能である、ことを特徴とする請求項1に記載の画像形成装置。
【請求項10】
トナーを含む現像剤を収容する長尺な現像槽と、前記現像槽に収容された前記現像剤を前記現像槽の長手方向における一方側の所定の第1搬送方向に搬送する第1スクリュー状搬送部材と、前記現像槽に収容された前記現像剤を担持する現像剤担持体と、前記現像槽に収容された前記現像剤に含まれるトナー量を検知するトナー量検知部と、を有し、前記現像槽には前記第1搬送方向における上流側の端部の前記第1スクリュー状搬送部材よりも上方の位置に開口が設けられた現像装置であって、
前記トナーを受け入れる受入口から受け入れた前記トナーを前記現像槽における前記開口に案内する案内路が設けられた案内部を備え、
前記案内路は、上下方向に対して傾斜して前記受入口から受け入れた前記トナーが落下する傾斜面を有している、ことを特徴とする現像装置。
発明の詳細な説明
【技術分野】
【0001】
本開示は、複写機、複合機、プリンター、ファクシミリ装置等の画像形成装置及び現像装置に関する。
続きを表示(約 1,700 文字)
【背景技術】
【0002】
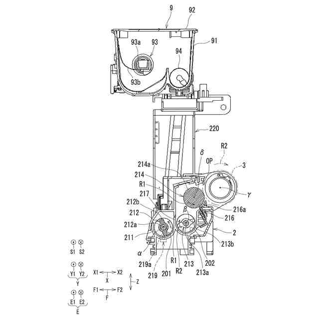
従来の画像形成装置では、例えば、現像装置において、長尺な現像槽にトナーを含む現像剤が収容され、スクリュー状搬送部材により現像槽に収容された現像剤を現像槽の長手方向における一方側の所定の搬送方向に搬送し、現像剤担持体(例えば現像ローラ)により現像剤を担持し、トナー量検知部により現像剤に含まれるトナー量を検知する。現像装置において、現像剤におけるトナーが消費され、トナー量検知部で検知した現像剤中のトナー量が基準トナー量よりも少なくなると、現像槽にトナーが補給される。
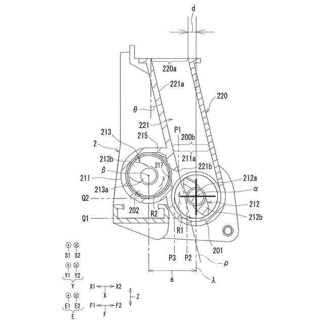
【0003】
詳しくは、現像槽には、スクリュー状搬送部材により搬送される現像剤の搬送方向における上流側の端部のスクリュー状搬送部材の上方に開口が設けられる。画像形成装置は、トナーを受け入れる受入口から受け入れたトナーを現像槽における開口に案内する案内路が設けられた案内部を備えている。
【0004】
例えば、特許文献1には、上下方向に沿った案内路(トナー移送機構)が受入口から受け入れたトナーを現像槽における開口(トナー補給口)に導く画像形成装置が記載されている。
【先行技術文献】
【特許文献】
【0005】
特開2011-2771号公報
【発明の概要】
【発明が解決しようとする課題】
【0006】
しかしながら、このような従来の画像形成装置では、案内路が上下方向に沿っているため、トナーが凝集していると、凝集したトナーがそのまま現像槽に補給され、トナー量検知部は凝集したトナーを含む現像剤のトナー量を検知してしまう。そうすると、トナー量検知部で検知した検知値の許容範囲を超えるオーバーシュートが多くなり、それだけ現像剤におけるトナー量の検知精度が悪化する。
【0007】
そこで、本開示は、現像剤におけるトナー量の検知精度を向上させることができる画像形成装置及び現像装置を提供することを目的とする。
【課題を解決するための手段】
【0008】
前記課題を解決するために、本開示に係る画像形成装置は、トナーを含む現像剤を収容する長尺な現像槽と、前記現像槽に収容された前記現像剤を前記現像槽の長手方向における一方側の所定の第1搬送方向に搬送する第1スクリュー状搬送部材と、前記現像槽に収容された前記現像剤を担持する現像剤担持体と、前記現像槽に収容された前記現像剤に含まれるトナー量を検知するトナー量検知部と、を有する現像装置を備え、前記現像槽には前記第1搬送方向における上流側の端部の前記第1スクリュー状搬送部材よりも上方の位置に開口が設けられた画像形成装置であって、前記トナーを受け入れる受入口から受け入れた前記トナーを前記現像槽における前記開口に案内する案内路が設けられた案内部を備え、前記案内路は、上下方向に対して傾斜して前記受入口から受け入れた前記トナーが落下する傾斜面を有している、ことを特徴とする。
【0009】
また、本開示に係る現像装置は、トナーを含む現像剤を収容する長尺な現像槽と、前記現像槽に収容された前記現像剤を前記現像槽の長手方向における一方側の所定の第1搬送方向に搬送する第1スクリュー状搬送部材と、前記現像槽に収容された前記現像剤を担持する現像剤担持体と、前記現像槽に収容された前記現像剤に含まれるトナー量を検知するトナー量検知部と、を有し、前記現像槽には前記第1搬送方向における上流側の端部の前記第1スクリュー状搬送部材よりも上方の位置に開口が設けられた現像装置であって、前記トナーを受け入れる受入口から受け入れた前記トナーを前記現像槽における前記開口に案内する案内路が設けられた案内部を備え、前記案内路は、上下方向に対して傾斜して前記受入口から受け入れた前記トナーが落下する傾斜面を有している、ことを特徴とする。
【発明の効果】
【0010】
本開示によると、現像剤におけるトナー量の検知精度を向上させることが可能となる。
【図面の簡単な説明】
(【0011】以降は省略されています)
この特許をJ-PlatPat(特許庁公式サイト)で参照する
関連特許
シャープ株式会社
冷蔵庫
13日前
シャープ株式会社
加湿装置
3日前
シャープ株式会社
表示装置
14日前
シャープ株式会社
加熱調理器
13日前
シャープ株式会社
空気調和機
7日前
シャープ株式会社
空気調和機
7日前
シャープ株式会社
空気調和機
7日前
シャープ株式会社
画像形成装置
21日前
シャープ株式会社
画像形成装置
13日前
シャープ株式会社
画像形成装置
13日前
シャープ株式会社
画像形成装置
7日前
シャープ株式会社
駐車制御装置
6日前
シャープ株式会社
画像形成装置
6日前
シャープ株式会社
画像形成装置
6日前
シャープ株式会社
ファクシミリ装置
14日前
シャープ株式会社
電子部品の筐体構造
21日前
シャープ株式会社
回収装置及び清掃具
今日
シャープ株式会社
回収装置及び清掃具
今日
シャープ株式会社
回収装置及び清掃具
今日
シャープ株式会社
スタンド及び表示装置
15日前
シャープ株式会社
室外機及び空気調和機
7日前
シャープ株式会社
画像形成装置の定着装置
21日前
シャープ株式会社
断熱箱体、および冷蔵庫
6日前
シャープ株式会社
断熱箱体、および冷蔵庫
6日前
シャープ株式会社
画像形成装置及び現像装置
6日前
シャープ株式会社
情報処理装置及び表示方法
13日前
シャープ株式会社
固定機構および画像形成装置
6日前
シャープ株式会社
原稿送り装置及び画像形成装置
13日前
シャープ株式会社
原稿搬送装置および画像形成装置
14日前
シャープ株式会社
端末装置、方法、および集積回路
3日前
シャープ株式会社
端末装置、方法、および、集積回路
2日前
シャープ株式会社
端末装置、方法、および、集積回路
2日前
シャープ株式会社
カバー部材取付構造および表示装置
13日前
シャープ株式会社
表示装置、及び表示装置の制御方法
13日前
シャープ株式会社
端末装置、基地局装置および通信方法
13日前
シャープ株式会社
端末装置、基地局装置および通信方法
13日前
続きを見る
他の特許を見る