TOP
|
特許
|
意匠
|
商標
特許ウォッチ
Twitter
他の特許を見る
10個以上の画像は省略されています。
公開番号
2025139799
公報種別
公開特許公報(A)
公開日
2025-09-29
出願番号
2024038833
出願日
2024-03-13
発明の名称
端末装置、方法、および集積回路
出願人
シャープ株式会社
代理人
個人
主分類
H04W
4/021 20180101AFI20250919BHJP(電気通信技術)
要約
【課題】マルチキャスト/ブロードキャストサービスを効率的に提供する端末装置、基地局装置、通信方法及び集積回路を提供する。
【解決手段】通信システムにおいて、基地局装置と通信する端末装置UEが、Multicast Broadcast Service(MBS)サービスとエリア情報とを対応付ける情報及びエリア情報に基づき、MBSサービスが、何れのエリア情報も対応付けられていないMBSサービスであるか又は端末装置が位置する領域を示すエリア情報が対応付けられたMBSサービスであるかの判断に基づき、MBSサービスが興味のあるMBSサービスであるか否かを判断する。
【選択図】図7
特許請求の範囲
【請求項1】
基地局装置と通信する端末装置であって、
前記基地局装置のセルにおいて提供される一つまたは複数のマルチキャストブロードキャストサービス(MBS)に関する制御情報、および一つまたは複数のエリア情報を受信す
る受信部と、処理部とを備え、
前記制御情報には、MBSサービスの一部または全部と、一つまたは複数の前記エリア情
報とを対応付ける情報が含まれ、
前記エリア情報のそれぞれは、前記セルの一部または全部の領域を示す情報であり、
前記処理部は、前記一つまたは複数のMBSサービスが、何れの前記エリア情報も対応付
けられていないMBSサービスであるか、および前記端末装置が位置する領域を示すエリア
情報が対応付けられたMBSサービスであるかを判断し、
前記判断に基づき、前記MBSサービスが興味のあるMBSサービスであるか否かを判断する
端末装置。
続きを表示(約 850 文字)
【請求項2】
基地局装置と通信する端末装置に適用される方法であって、
前記基地局装置のセルにおいて提供される一つまたは複数のマルチキャストブロードキャストサービス(MBS)に関する制御情報、および一つまたは複数のエリア情報を受信す
るステップを備え、
前記制御情報には、MBSサービスの一部または全部と、一つまたは複数の前記エリア情
報とを対応付ける情報が含まれ、
前記エリア情報のそれぞれは、前記セルの一部または全部の領域を示す情報であり、
前記一つまたは複数のMBSサービスが、何れの前記エリア情報も対応付けられていないMBSサービスであるか、および前記端末装置が位置する領域を示すエリア情報が対応付けられたMBSサービスであるかを、判断し、
前記判断に基づき、前記MBSサービスが興味のあるMBSサービスであるか否かを判断する
方法。
【請求項3】
基地局装置と通信する端末装置に実装される集積回路であって、
前記基地局装置のセルにおいて提供される一つまたは複数のマルチキャストブロードキャストサービス(MBS)に関する制御情報、および一つまたは複数のエリア情報を受信す
る機能を前記端末装置に発揮させ、
前記制御情報には、MBSサービスの一部または全部と、一つまたは複数の前記エリア情
報とを対応付ける情報が含まれ、
前記エリア情報のそれぞれは、前記セルの一部または全部の領域を示す情報であり、
前記処理部は、前記一つまたは複数のMBSサービスが、何れの前記エリア情報も対応付
けられていないMBSサービスであるか、および前記端末装置が位置する領域を示すエリア
情報が対応付けられたMBSサービスであるかを、判断し、
前記判断に基づき、前記MBSサービスが興味のあるMBSサービスであるか否かを判断する
集積回路。
発明の詳細な説明
【技術分野】
【0001】
本発明は、端末装置、方法、および集積回路に関する。
続きを表示(約 2,500 文字)
【背景技術】
【0002】
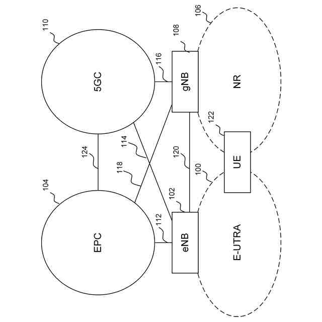
セルラ移動通信システムの標準化プロジェクトである、第3世代パートナーシッププロ
ジェクト(3rd Generation Partnership Project:3GPP)において、無線アクセス、コア網
、サービス等を含む、セルラ移動通信システムの技術検討および規格策定が行われている。
【0003】
例えば、E-UTRA(Evolved Universal Terrestrial Radio Access)は、3GPPにおいて、第3.9世代および第4世代向けセルラ移動通信システム向け無線アクセス技術(Radio Access Technology:RAT)として、技術検討および規格策定が開始された。現在も3GPPにおいて、E-UTRAの拡張技術の技術検討および規格策定が行われている。なお、E-UTRAは、Long Term
Evolution(LTE:登録商標)とも称し、拡張技術をLTE-Advanced(LTE-A)、LTE-Advanced Pro(LTE-A Pro)と称することもある。
【0004】
また、NR(New Radio、またはNR Radio access)は、3GPPにおいて、第5世代(5th Generation:5G)向けセルラ移動通信システム向け無線アクセス技術(Radio Access Technology:RAT)として、技術検討および規格策定が開始された。現在も3GPPにおいて、NRの拡張技術
の技術検討および規格策定が行われている。
【先行技術文献】
【非特許文献】
【0005】
3GPP TS 38.331 v18.0.0,"Evolved Universal Terrestrial Radio Access (E-UTRA);Radio Resource Control (RRC);Protocol specifications" pp70-354,pp427-435,439-1472
【発明の概要】
【発明が解決しようとする課題】
【0006】
3GPPにおいて、NRの拡張技術として、例えば非地上系ネットワーク(NTN:Non-Terrestrial Network)の検討において、マルチキャスト/ブロードキャストサービスを提供する
ことが検討されているが、衛星が提供する一つのセルのサイズが地上系ネットワークのセルと比較して大きいため、ブロードキャストサービスを特定のエリア(例えば国内や州内)に対して提供することが難しい場合がある。
【0007】
本発明の一態様は、上記した事情に鑑みてなされたもので、マルチキャスト/ブロード
キャストサービスを効率的に提供することができる端末装置、基地局装置、通信方法、集積回路を提供することを目的の一つとする。
【課題を解決するための手段】
【0008】
上記の目的を達成するために、本発明の一態様は、以下のような手段を講じた。すなわち本発明の一態様は、
基地局装置と通信する端末装置であって、前記基地局装置のセルにおいて提供される一つまたは複数のマルチキャストブロードキャストサービス(MBS)に関する制御情報、およ
び一つまたは複数のエリア情報を受信する受信部と、処理部とを備え、前記制御情報には、MBSサービスの一部または全部と、一つまたは複数の前記エリア情報とを対応付ける情
報が含まれ、前記エリア情報のそれぞれは、前記セルの一部または全部の領域を示す情報
であり、前記処理部は、前記一つまたは複数のMBSサービスが、何れの前記エリア情報も
対応付けられていないMBSサービスであるか、および前記端末装置が位置する領域を示す
エリア情報が対応付けられたMBSサービスであるかを判断し、前記判断に基づき、前記MBSサービスが興味のあるMBSサービスであるか否かを判断する。
【0009】
また本発明の一態様は、基地局装置と通信する端末装置に適用される方法であって、前記基地局装置のセルにおいて提供される一つまたは複数のマルチキャストブロードキャストサービス(MBS)に関する制御情報、および一つまたは複数のエリア情報を受信するス
テップを備え、前記制御情報には、MBSサービスの一部または全部と、一つまたは複数の
前記エリア情報とを対応付ける情報が含まれ、前記エリア情報のそれぞれは、前記セルの一部または全部の領域を示す情報であり、前記一つまたは複数のMBSサービスが、何れの
前記エリア情報も対応付けられていないMBSサービスであるか、および前記端末装置が位
置する領域を示すエリア情報が対応付けられたMBSサービスであるかを、判断し、前記判
断に基づき、前記MBSサービスが興味のあるMBSサービスであるか否かを判断する。
【0010】
また本発明の一態様は、基地局装置と通信する端末装置に実装される集積回路であって、前記基地局装置のセルにおいて提供される一つまたは複数のマルチキャストブロードキャストサービス(MBS)に関する制御情報、および一つまたは複数のエリア情報を受信す
る機能を前記端末装置に発揮させ、前記制御情報には、MBSサービスの一部または全部と
、一つまたは複数の前記エリア情報とを対応付ける情報が含まれ、前記エリア情報のそれぞれは、前記セルの一部または全部の領域を示す情報であり、前記処理部は、前記一つまたは複数のMBSサービスが、何れの前記エリア情報も対応付けられていないMBSサービスであるか、および前記端末装置が位置する領域を示すエリア情報が対応付けられたMBSサー
ビスであるかを、判断し、前記判断に基づき、前記MBSサービスが興味のあるMBSサービスであるか否かを判断する。
(【0011】以降は省略されています)
この特許をJ-PlatPat(特許庁公式サイト)で参照する
関連特許
シャープ株式会社
冷蔵庫
21日前
シャープ株式会社
表示装置
1日前
シャープ株式会社
加湿装置
11日前
シャープ株式会社
空気調和機
15日前
シャープ株式会社
加熱調理器
21日前
シャープ株式会社
空気調和機
15日前
シャープ株式会社
空気調和機
15日前
シャープ株式会社
駐車制御装置
14日前
シャープ株式会社
画像形成装置
15日前
シャープ株式会社
画像形成装置
14日前
シャープ株式会社
画像形成装置
今日
シャープ株式会社
画像形成装置
21日前
シャープ株式会社
画像形成装置
21日前
シャープ株式会社
画像形成装置
14日前
シャープ株式会社
回収装置及び清掃具
8日前
シャープ株式会社
回収装置及び清掃具
8日前
シャープ株式会社
回収装置及び清掃具
8日前
シャープ株式会社
室外機及び空気調和機
15日前
シャープ株式会社
通信装置および制御方法
2日前
シャープ株式会社
断熱箱体、および冷蔵庫
14日前
シャープ株式会社
断熱箱体、および冷蔵庫
14日前
シャープ株式会社
トナー及びその製造方法
今日
シャープ株式会社
画像形成装置及び現像装置
14日前
シャープ株式会社
端末および端末の制御方法
今日
シャープ株式会社
補助電源回路および電源装置
3日前
シャープ株式会社
固定機構および画像形成装置
14日前
シャープ株式会社
原稿送り装置及び画像形成装置
21日前
シャープ株式会社
端末装置、方法、および集積回路
7日前
シャープ株式会社
端末装置、方法、および集積回路
7日前
シャープ株式会社
端末装置、方法、および集積回路
7日前
シャープ株式会社
端末装置、方法、および集積回路
11日前
シャープ株式会社
カバー部材取付構造および表示装置
21日前
シャープ株式会社
表示装置、及び表示装置の制御方法
21日前
シャープ株式会社
端末装置、方法、および、集積回路
10日前
シャープ株式会社
端末装置、方法、および、集積回路
10日前
シャープ株式会社
電子機器および電子機器の制御方法
1日前
続きを見る
他の特許を見る