TOP
|
特許
|
意匠
|
商標
特許ウォッチ
Twitter
他の特許を見る
10個以上の画像は省略されています。
公開番号
2025138236
公報種別
公開特許公報(A)
公開日
2025-09-25
出願番号
2024037210
出願日
2024-03-11
発明の名称
空気調和機
出願人
シャープ株式会社
代理人
弁理士法人WisePlus
主分類
F24F
13/20 20060101AFI20250917BHJP(加熱;レンジ;換気)
要約
【課題】本開示は、送風性とともに意匠性にも優れる空気調和機を提供する。
【解決手段】空気調和機は、吸込口、吹出口、吸込口と吹出口とを結ぶ空気通路、及び、据付面となる背面を有し、左右方向に長手形状である室内機筐体と、吹出口に配置され、吹出口から吹き出す空気の向きを上下方向に可変する上下風向板と、を備え、上下風向板は、第1面と第1面の反対側の第2面とを備え、上下風向板の左右方向端部の少なくとも一方を背面に垂直かつ左右方向に垂直な平面で切断したときに第2面の断面に現れる曲線は、室内機筐体の左右方向中央部に位置する部位を背面に垂直かつ左右方向に垂直な平面で切断したときに第2面の断面に現れる曲線よりも曲率が大きい部位を有する。
【選択図】図1
特許請求の範囲
【請求項1】
吸込口、吹出口、前記吸込口と前記吹出口とを結ぶ空気通路、及び、据付面となる背面を有し、左右方向に長手形状である室内機筐体と、
前記吹出口に配置され、前記吹出口から吹き出す空気の向きを上下方向に可変する上下風向板と、を備え、
前記上下風向板は、第1面と前記第1面の反対側の第2面とを備え、
前記上下風向板の左右方向端部の少なくとも一方を前記背面に垂直かつ前記左右方向に垂直な平面で切断したときに前記第2面の断面に現れる曲線は、前記室内機筐体の左右方向中央部に位置する部位を前記背面に垂直かつ前記左右方向に垂直な平面で切断したときに前記第2面の断面に現れる曲線よりも曲率が大きい部位を有する、空気調和機。
続きを表示(約 900 文字)
【請求項2】
前記上下風向板の左右方向端部の少なくとも一方を前記背面に垂直かつ前記左右方向に垂直な平面で切断したときに前記第2面の断面に現れる曲線は、前記室内機筐体の左右方向中央部に位置する部位を前記背面に垂直かつ前記左右方向に垂直な平面で切断したときに前記第2面の断面に現れる曲線よりも曲率が大きい、請求項1に記載の空気調和機。
【請求項3】
前記上下風向板は、運転停止時に、前記第2面を外部に露出させて前記吹出口の少なくとも一部を閉じ、
前記上下風向板の前記第2面は、運転停止時に、前記吹出口を含む前記室内機筐体の吹出面と左右方向において面一である、請求項1又は2に記載の空気調和機。
【請求項4】
前記上下風向板を前記背面に垂直かつ前記左右方向に垂直な平面で切断したときの前記第2面の断面に現れる曲線の曲率は、前記室内機筐体の左右方向中央部に位置する部位から、前記上下風向板の左右方向端部の少なくとも一方に向かうに従って大きくなる、請求項1又は2に記載の空気調和機。
【請求項5】
前記上下風向板を前記背面に垂直かつ前記左右方向に垂直な平面で切断したときの前記第2面の断面に現れる曲線の曲率が、前記室内機筐体の左右方向中央部に位置する部位から前記左右方向の左方又は右方に所定距離離間した起点部位から、前記上下風向板の前記方向の端部に向かうに従って大きくなる、請求項4に記載の空気調和機。
【請求項6】
前記起点部位は、前記上下風向板のうち、前記室内機筐体の左右方向中央部に位置する部位から、前記上下風向板の左右方向一端部までの左右方向に沿った距離を100%とすると、前記室内機筐体の左右方向中央部に位置する部位から70%以上90%以下離間した部位である、請求項5に記載の空気調和機。
【請求項7】
前記上下風向板は、ユーザが運転停止時に前記空気調和機を所定方向から視たときに、前記上下風向板の上下幅が左右方向で略同じであると視認し得るように構成されている、請求項1又は2に記載の空気調和機。
発明の詳細な説明
【技術分野】
【0001】
以下の開示は、空気調和機に関する。
続きを表示(約 2,700 文字)
【背景技術】
【0002】
空気調和機では一般に、吹出口に送風方向を上下方向に可変するための上下風向板が設けられている(例えば特許文献1参照)。
【先行技術文献】
【特許文献】
【0003】
特開2014-055684号公報
【発明の概要】
【発明が解決しようとする課題】
【0004】
本開示は、送風性とともに意匠性にも優れる空気調和機を提供することを目的とする。
【課題を解決するための手段】
【0005】
本開示の空気調和機は、吸込口、吹出口、前記吸込口と前記吹出口とを結ぶ空気通路、及び、据付面となる背面を有し、左右方向に長手形状である室内機筐体と、前記吹出口に配置され、前記吹出口から吹き出す空気の向きを上下方向に可変する上下風向板と、を備え、前記上下風向板は、第1面と前記第1面の反対側の第2面とを備え、前記上下風向板の左右方向端部の少なくとも一方を前記背面に垂直かつ前記左右方向に垂直な平面で切断したときに前記第2面の断面に現れる曲線は、前記室内機筐体の左右方向中央部に位置する部位を前記背面に垂直かつ前記左右方向に垂直な平面で切断したときに前記第2面の断面に現れる曲線よりも曲率が大きい部位を有する。
【発明の効果】
【0006】
本開示によれば、送風性とともに意匠性にも優れる空気調和機を提供することができる。
【図面の簡単な説明】
【0007】
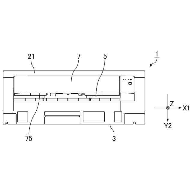
空気調和機1の外観を略示した斜視図である。
空気調和機1の外観を略示した正面図である。
空気調和機1の外観を略示した底面図である。
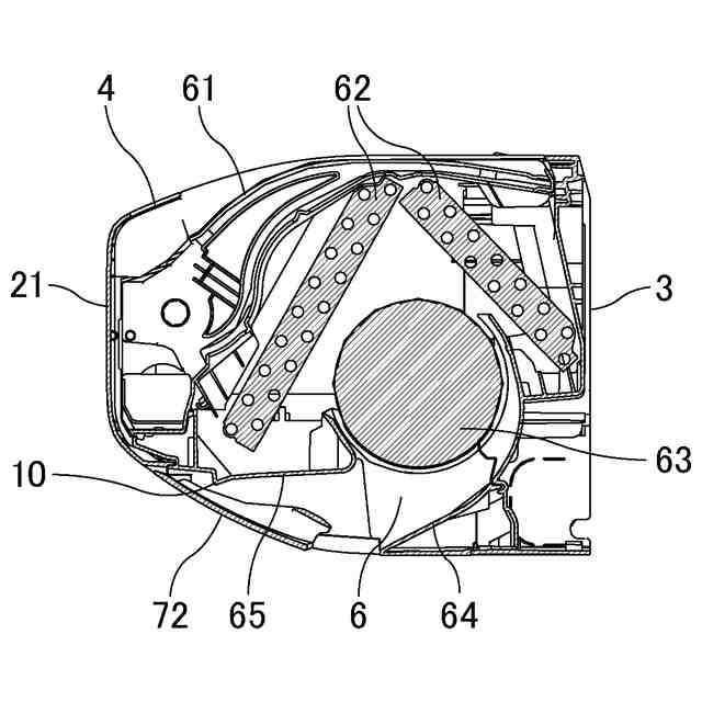
空気調和機1の内部構造を略示した断面図(A-A’線断面図)である。
空気調和機1の内部構造を略示した断面図(B-B’線断面図)である。
空気調和機1の内部構造を略示した断面図(C-C’線断面図)である。
空気調和機1の内部構造を略示した断面図(D-D’線断面図)である。
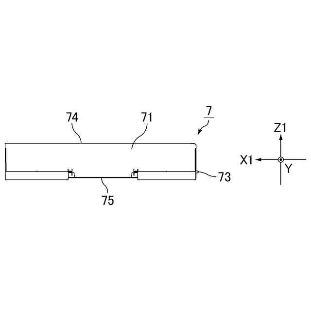
上下風向板7単体の外観を略示した正面図である。
上下風向板7単体の外観を略示した背面図である。
上下風向板7単体の外観を略示した右側面図である。
上下風向板7単体の外観を略示した左側面図である。
上下風向板7単体の外観を略示した平面図である。
上下風向板7単体の外観を略示した底面図である。
実施形態1の空気調和機1(閉姿勢)において、上下風向板7の第2面72及び吹出面51の各断面に現れる各曲線の曲率が徐々に変化することを概念的に示す図である。
図11Aに示される室内機筐体2の右端部d1の右側面図である。
図11A中、室内機筐体2の部位aにおける上下風向板7の第2面72の右断面形状(曲率C
a
)と、室内機筐体2の吹出面51の右端部d1の右断面形状(曲率C
d1
)と、を比較するための模式図である。
実施形態2の空気調和機1(閉姿勢)において、上下風向板7の第2面72及び吹出面51の各断面に現れる各曲線の曲率が徐々に変化することを概念的に示す図である。
図12Aに示される室内機筐体2の右端部d1の右側面図である。
図12A中、室内機筐体2の部位aにおける上下風向板7の第2面72の右断面形状(曲率C
a
)と、室内機筐体2の吹出面51の右端部d1の右断面形状(曲率C
d1
)と、を比較するための模式図である。
実施形態3の空気調和機1(閉姿勢)において、上下風向板7の第2面72及び吹出面51の各断面に現れる各曲線の曲率が徐々に変化することを概念的に示す図である。
図13Aに示される室内機筐体2の右端部d1の右側面図である。
図13A中、室内機筐体2の部位aにおける上下風向板7の第2面72の右断面形状(曲率C
a
)と、室内機筐体2の吹出面51の右端部d1の右断面形状(曲率C
d1
)と、を比較するための模式図である。
実施形態4の空気調和機1(閉姿勢)において、上下風向板7の第2面72及び吹出面51の各断面に現れる各曲線の曲率が徐々に変化することを概念的に示す図である。
図14Aに示される室内機筐体2の右端部d1の右側面図である。
図14A中、室内機筐体2の部位aにおける上下風向板7の第2面72の右断面形状(曲率C
a
)と、室内機筐体2の吹出面51の右端部d1の右断面形状(曲率C
d1
)と、を比較するための模式図である。
実施形態5の空気調和機1(閉姿勢)において、上下風向板7の第2面72及び吹出面51の各断面に現れる各曲線の曲率が徐々に変化することを概念的に示す図である。
図15Aに示される室内機筐体2の右端部d1の右側面図である。
図15A中、室内機筐体2の部位aにおける上下風向板7の第2面72の右断面形状(曲率C
a
)と、室内機筐体2の吹出面51の右端部d1の右断面形状(曲率C
d1
)と、を比較するための模式図である。
【発明を実施するための形態】
【0008】
以下、本開示に係る空気調和機の実施形態について、図面を参照しながら説明する。本開示は、以下の実施形態に記載された内容に限定されるものではなく、本開示の構成を充足する範囲内で適宜設計変更を行うことが可能である。図中、同一又は同等の要素には同一の符号を付し、重複する説明は省略する。図面では主要な部分のみ示している。以下では、主要な部分及び本開示に関する部分を中心に説明する。
【0009】
本明細書中、2つの線又は平面が「平行」であるとは、両者がなす角度(絶対値)が、0°±3°の範囲内であることを意味する。また、2つの線又は平面が「直交」する(及び「垂直」である)とは、両者がなす角度(絶対値)が、90°±3°の範囲内であることを意味する。
【0010】
「上流側」及び「下流側」とは、それぞれ空気の流れる方向における上流側及び下流側を意味する。例えば、吸込口と吹出口とを結ぶ空気通路では、吸込口側が「上流側」であり、吹出口側が「下流側」である。
(【0011】以降は省略されています)
この特許をJ-PlatPat(特許庁公式サイト)で参照する
関連特許
シャープ株式会社
筐体構造
2日前
シャープ株式会社
加熱機器
2日前
シャープ株式会社
表示装置
17日前
シャープ株式会社
通信端末
11日前
シャープ株式会社
端末装置
9日前
シャープ株式会社
端末装置
4日前
シャープ株式会社
表示装置
3日前
シャープ株式会社
走行装置
9日前
シャープ株式会社
画像形成装置
4日前
シャープ株式会社
アンテナ装置
3日前
シャープ株式会社
画像形成装置
16日前
シャープ株式会社
イオン発生装置
9日前
シャープ株式会社
緩衝材及び梱包体
4日前
シャープ株式会社
通信装置および制御方法
18日前
シャープ株式会社
トナー及びその製造方法
16日前
シャープ株式会社
端末装置および通信方法
10日前
シャープ株式会社
端末および端末の制御方法
16日前
シャープ株式会社
情報処理装置及び設定方法
2日前
シャープ株式会社
決済システム及び決済方法
5日前
シャープ株式会社
定着装置および画像形成装置
10日前
シャープ株式会社
動画像符号化装置、復号装置
2日前
シャープ株式会社
給紙装置および画像形成装置
10日前
シャープ株式会社
動画像符号化装置、復号装置
5日前
シャープ株式会社
端末装置、および、基地局装置
10日前
シャープ株式会社
端末装置、および、基地局装置
4日前
シャープ株式会社
給油管理装置、及び給油システム
2日前
シャープ株式会社
通信装置および通信装置の設置方法
18日前
シャープ株式会社
端末装置、方法、および、集積回路
4日前
シャープ株式会社
電子機器および電子機器の制御方法
17日前
シャープ株式会社
UE(User Equipment)
4日前
シャープ株式会社
端末装置、基地局装置、および、通信方法
9日前
シャープ株式会社
端末装置、基地局装置、および、通信方法
9日前
シャープ株式会社
端末装置、基地局装置、および、通信方法
10日前
シャープ株式会社
画像形成装置及び画像形成装置の制御方法
17日前
シャープ株式会社
画像処理装置及び画像処理装置の制御方法
2日前
シャープ株式会社
機器梱包セットおよびそれに用いられる緩衝材
16日前
続きを見る
他の特許を見る