TOP
|
特許
|
意匠
|
商標
特許ウォッチ
Twitter
他の特許を見る
10個以上の画像は省略されています。
公開番号
2025135730
公報種別
公開特許公報(A)
公開日
2025-09-19
出願番号
2024033662
出願日
2024-03-06
発明の名称
印刷装置及び印刷装置の製造方法
出願人
セイコーエプソン株式会社
代理人
個人
,
個人
,
個人
主分類
B41J
29/00 20060101AFI20250911BHJP(印刷;線画機;タイプライター;スタンプ)
要約
【課題】インクミストの配線への悪影響を低減させることが可能な印刷装置を提供すること。
【解決手段】反応性インクを吐出するプリントヘッドと、第1部品と、第2部品と、フレームと、前記プリントヘッド、前記第1部品及び前記第2部品を収容する外装と、を備え、前記第1部品と前記第2部品とを電気的に接続する配線が、前記外装及び前記フレームの少なくとも一方と一体となるように成形されている、印刷装置。
【選択図】図5
特許請求の範囲
【請求項1】
反応性インクを吐出するプリントヘッドと、
第1部品と、
第2部品と、
フレームと、
前記プリントヘッド、前記第1部品及び前記第2部品を収容する外装と、を備え、
前記第1部品と前記第2部品とを電気的に接続する配線が、前記外装及び前記フレームの少なくとも一方と一体となるように成形されている、
ことを特徴とする印刷装置。
続きを表示(約 290 文字)
【請求項2】
前記配線は、フィルムに敷設された金属導体であり、
前記金属導体と前記フィルムとを含む配線ユニットが、前記外装及び前記フレームの少なくとも一方と一体となるように成形されている、
ことを特徴とする請求項1に記載の印刷装置。
【請求項3】
第1部品と第2部品とを電気的に接続する配線を、外装及びフレームの少なくとも一方と一体となるように成形する工程と、
反応性インクを吐出するプリントヘッド、前記第1部品、前記第2部品及び前記フレームを、前記外装に収容する工程と、を含む、
ことを特徴とする印刷装置の製造方法。
発明の詳細な説明
【技術分野】
【0001】
本発明は、印刷装置及び印刷装置の製造方法に関する。
続きを表示(約 1,900 文字)
【背景技術】
【0002】
特許文献1に開示されている通り、インクジェットプリンターにおいて、反応性インクを用いた場合、吐出されたインクミストが筐体内を浮遊し各所で悪影響を与えることは、これまでも広く知られていた。これに対して、特許文献1では、発生するインクミストに合わせてフィルムや半田などをインクミストに強い材料で構成する方法が開示されている。
【先行技術文献】
【特許文献】
【0003】
特開2020-011498号公報
特開2017-113927号公報
【発明の概要】
【発明が解決しようとする課題】
【0004】
しかしながら、インクミストは、フィルムや半田以外にも筐体内の至る所に付着して悪影響を与えるものであり、依然として筐体内全体に対して改善する手法が求められていた。特に、電気配線については通電に伴いイオン化したミストが吸着されるやすいため対策が必要とされていた。インクミストの吸着については特許文献2に開示されているが、特許文献2では、ケーブルへのインクミストの吸着を許容した上で、各端子にインクミストが付着しにくくする対策を行っているが、ケーブルの被覆材がインクミストによってダメージを受けるため、長期的視点で依然とて改善する余地があった。
【課題を解決するための手段】
【0005】
本発明に係る印刷装置の一態様は、
反応性インクを吐出するプリントヘッドと、
第1部品と、
第2部品と、
フレームと、
前記プリントヘッド、前記第1部品及び前記第2部品を収容する外装と、を備え、
前記第1部品と前記第2部品とを電気的に接続する配線が、前記外装及び前記フレームの少なくとも一方と一体となるように成形されている。
【0006】
本発明に係る印刷装置の製造方法の一態様は、
第1部品と第2部品とを電気的に接続する配線を、外装及びフレームの少なくとも一方と一体となるように成形する工程と、
反応性インクを吐出するプリントヘッド、前記第1部品、前記第2部品及び前記フレームを、前記外装に収容する工程と、を含む。
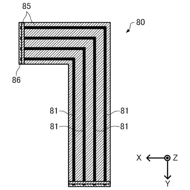
【図面の簡単な説明】
【0007】
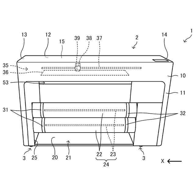
印刷装置の外観構成を示す前面斜視図である。
印刷装置の内部構成の一部を模式的に示す断面図である。
印刷装置の内部構成の一部を模式的に示す前面図である。
印刷装置の内部構成の一部を模式的に示す上面図である。
印刷装置の一部の断面を+Y側から視た図である。
制御回路基板が設けられたベースフレームの一部を+Z側から視た図である。
第2側壁の一部を+X側から視た図である。
上壁の一部を+Z側から透視した図である。
配線ユニットを+Z側から視た図である。
配線ユニットを+Y側から視た図である。
配線ユニットとベースフレームとを一体成形する方法について説明するための図である。
印刷装置の製造方法の手順の一例を示すフローチャート図である。
【発明を実施するための形態】
【0008】
以下、本発明の好適な実施形態について図面を用いて説明する。用いる図面は説明の便宜上のものである。なお、以下に説明する実施形態は、特許請求の範囲に記載された本発明の内容を不当に限定するものではない。また、以下で説明される構成の全てが本発明の必須構成要件であるとは限らない。
【0009】
以下では、印刷装置の一例として、インクジェットプリンターを例に挙げて説明を行う。また、以下では、印刷装置がインクを吐出する媒体は、芯部材に巻き回されることによりロール体として形成されたロール紙を例に挙げて説明を行う。ただし、印刷装置がインクを吐出する媒体はこれに限るものではなく、例えば、所定のサイズに裁断された用紙であってもよいし、布帛等であってもよい。
【0010】
1.印刷装置
1-1.印刷装置の構成
図1~図4を用いて、本実施形態における印刷装置1の構成について説明する。図1は、印刷装置1の外観構成を示す前面斜視図である。図2は、印刷装置1の内部構成の一部を模式的に示す断面図である。図3は、印刷装置1の内部構成の一部を模式的に示す前面図である。図4は、印刷装置1の内部構成の一部を模式的に示す上面図である。
(【0011】以降は省略されています)
この特許をJ-PlatPat(特許庁公式サイト)で参照する
関連特許
個人
箔熱転写装置
20日前
シヤチハタ株式会社
印判
4か月前
キヤノン株式会社
記録装置
13日前
株式会社リコー
液体吐出装置
4か月前
株式会社リコー
印刷システム
1日前
株式会社リコー
液体吐出装置
1か月前
株式会社リコー
液体吐出装置
4か月前
独立行政法人 国立印刷局
貼付機構
1か月前
株式会社リコー
画像形成装置
20日前
株式会社リコー
液体吐出装置
3か月前
株式会社リコー
画像形成装置
1日前
独立行政法人 国立印刷局
貼付装置
1か月前
ブラザー工業株式会社
プリンタ
3か月前
ブラザー工業株式会社
プリンタ
1か月前
理想科学工業株式会社
印刷装置
5日前
独立行政法人 国立印刷局
潜像印刷物
1か月前
キヤノン株式会社
画像記録装置
13日前
キヤノン株式会社
画像処理装置
4か月前
ブラザー工業株式会社
液体吐出ヘッド
13日前
ブラザー工業株式会社
プリンタ
1か月前
キヤノン株式会社
画像形成装置
4か月前
キヤノン株式会社
画像形成装置
3か月前
キヤノン株式会社
画像形成装置
1か月前
キヤノン株式会社
画像形成システム
1日前
独立行政法人 国立印刷局
偽造防止印刷物
5か月前
個人
小型記録媒体への印刷システム
1か月前
パテントフレア株式会社
紙幣の偽造防止法
5か月前
独立行政法人 国立印刷局
偽造防止印刷物
2か月前
独立行政法人 国立印刷局
インキ交換機構
2か月前
キヤノン株式会社
画像形成システム
1日前
株式会社リコー
液体吐出装置
1か月前
独立行政法人 国立印刷局
潜像画像形成体
4か月前
ブラザー工業株式会社
タンク
4か月前
株式会社リコー
画像記録装置
3か月前
キヤノン株式会社
画像形成装置
2か月前
ブラザー工業株式会社
カセット
11日前
続きを見る
他の特許を見る