TOP
|
特許
|
意匠
|
商標
特許ウォッチ
Twitter
他の特許を見る
10個以上の画像は省略されています。
公開番号
2025135388
公報種別
公開特許公報(A)
公開日
2025-09-18
出願番号
2024033208
出願日
2024-03-05
発明の名称
電動ねじ締め機及びアングルラチェットレンチ
出願人
株式会社マキタ
代理人
弁理士法人酒井国際特許事務所
主分類
B25B
21/00 20060101AFI20250910BHJP(手工具;可搬型動力工具;手工具用の柄;作業場設備;マニプレータ)
要約
【課題】作業効率の低下を抑制すること。
【解決手段】電動ねじ締め機は、ステータと、ステータに対して回転可能であって前後方向に延びるロータ軸を有するロータと、を有するモータと、モータを収容するモータハウジングと、ロータの回転を減速する減速機構と、減速機構の回転が常に伝達され、ロータ軸と交わるソケット軸を有するソケットと、ソケットの周囲の少なくとも一部に配置され、モータの回転時においてモータの回転によるソケットの回転を一方向のみにおいて許容し、モータの停止時においてモータハウジングに入力された回転をソケットに一方向のみに伝達するワンウェイクラッチ機構と、を備える。
【選択図】図5
特許請求の範囲
【請求項1】
ステータと、前記ステータに対して回転可能であって前後方向に延びるロータ軸を有するロータと、を有するモータと、
前記モータを収容するモータハウジングと、
前記ロータの回転を減速する減速機構と、
前記減速機構の回転が常に伝達され、前記ロータ軸と交わるソケット軸を有するソケットと、
前記ソケットの周囲の少なくとも一部に配置され、前記モータの回転時において前記モータの回転による前記ソケットの回転を一方向のみにおいて許容し、前記モータの停止時において前記モータハウジングに入力された回転を前記ソケットに一方向のみに伝達するワンウェイクラッチ機構と、を備える、
電動ねじ締め機。
続きを表示(約 1,700 文字)
【請求項2】
前記モータの回転時において、前記ソケットは、800[rpm]以上で回転する、
請求項1に記載の電動ねじ締め機。
【請求項3】
前記モータの停止時において、手動のラチェットレンチとして機能する、
請求項2に記載の電動ねじ締め機。
【請求項4】
前記減速機構は、
前記ロータ軸を中心に回転する第1ベベルギヤと、
前記ソケットに回転固定され、前記第1ベベルギヤに噛み合い、前記ソケット軸を中心に回転する第2ベベルギヤと、を有する、
請求項1に記載の電動ねじ締め機。
【請求項5】
前記減速機構の遊星歯車機構と前記第1ベベルギヤとを連結可能な中間シャフトを有し、
前記減速機構の遊星歯車機構の回転は、中間シャフトを介して前記第1ベベルギヤに伝達可能であり、
前記減速機構の遊星歯車機構の回転は、前記中間シャフトを介さずに前記第1ベベルギヤに伝達可能である、
請求項4に記載の電動ねじ締め機。
【請求項6】
前記ワンウェイクラッチ機構は、前記ソケットのフリー方向への回転を許容しロック方向への回転を阻止し、前記フリー方向と前記ロック方向とを切り換え可能であり、
前記フリー方向と前記ロック方向とを切り換えるように操作される操作部材を備える、
請求項1に記載の電動ねじ締め機。
【請求項7】
前記操作部材の操作状態を検出するセンサと、
前記センサの検出信号が入力されるコントローラと、を備え、
前記コントローラは、前記センサの検出信号に基づいて、前記ソケットの正転方向が前記ソケットのフリー方向であると判定した場合、前記モータが前記ソケットを正転方向に回転させるように、前記モータの回転方向を制御し、前記ソケットの逆転方向が前記ソケットのフリー方向であると判定した場合、前記モータが前記ソケットを逆転方向に回転させるように、前記モータの回転方向を制御する、
請求項6に記載の電動ねじ締め機。
【請求項8】
前記ワンウェイクラッチ機構は、
前記ソケットの周囲の少なくとも一部に配置され、前記操作部材の操作により前記ソケット軸を中心に回動するカムプレートと、
前記カムプレートの上面に移動可能に支持され、前記ソケットのギヤに噛み合う第1ラチェット爪と、
前記カムプレートの上面に移動可能に支持され、前記ソケットのギヤに噛み合う第2ラチェット爪と、
前記第1ラチェット爪を前記カムプレートの上面に設けられたカム凸部に押し付けるように弾性力を発生する第1ばねと、
前記第2ラチェット爪を前記カム凸部に押し付けるように弾性力を発生する第2ばねと、を有し、
前記カムプレートが正転方向に回動すると、前記第1ラチェット爪が前記ソケットから離れて、逆転方向が前記ソケットのフリー方向になり、正転方向が前記ソケットのロック方向になり、
前記カムプレートが逆転方向に回動すると、前記第2ラチェット爪が前記ソケットから離れて、正転方向が前記ソケットのフリー方向になり、逆転方向が前記ソケットのロック方向になる、
請求項7に記載の電動ねじ締め機。
【請求項9】
前記カムプレートが正転方向に回動したときに前記カムプレートに設けられた第1凹部に配置され、前記カムプレートが逆転方向に回動したときに前記カムプレートに設けられた第2凹部に配置される位置決めボールを備える、
請求項8に記載の電動ねじ締め機。
【請求項10】
ステータと、前記ステータの内径側で回転可能なロータと、を有し、前後方向に延びるブラシレスモータと、
前記ロータにより回転される遊星歯車と、
前記遊星歯車により回転され、上下方向に延びるソケットと、
前記ソケットに接続可能なラチェット部と、を有し、
前記ソケットの最大回転数を、850rpm以上としたアングルラチェットレンチ。
(【請求項11】以降は省略されています)
発明の詳細な説明
【技術分野】
【0001】
本明細書で開示する技術は、電動ねじ締め機及びアングルラチェットレンチに関する。
続きを表示(約 1,900 文字)
【背景技術】
【0002】
電動ねじ締め機に係る技術分野において、特許文献1に開示されているような電動ラチェットレンチが知られている。
【先行技術文献】
【特許文献】
【0003】
国際公開第2019/026699号
【発明の概要】
【発明が解決しようとする課題】
【0004】
特許文献1に記載されているように、電動ラチェットレンチは、モータの回転を一旦往復運動に変換し、ソケットの回転運動に変換する。モータの回転による往復運動のうち、例えば往運動のときにソケットは正転方向へ回転し、復運動のときにソケットは正転方向に回転しない。そのため、往運動のときにソケットは締結作業に寄与するが、復運動のときにソケットは締結作業に寄与しないことになる。そのため、モータからソケットへの回転力の伝達効率が低い(例えば、約50%)。回転力の伝達効率が低いと、電動ラチェットレンチの作業効率が低くなる。
【0005】
本明細書で開示する技術は、作業効率の低下を抑制することを目的とする。
【課題を解決するための手段】
【0006】
本明細書は、電動ねじ締め機を開示する。電動ねじ締め機は、ステータと、ステータに対して回転可能であって前後方向に延びるロータ軸を有するロータと、を有するモータと、モータを収容するモータハウジングと、ロータの回転を減速する減速機構と、減速機構の回転が常に伝達され、ロータ軸と交わるソケット軸を有するソケットと、ソケットの周囲の少なくとも一部に配置され、モータの回転時においてモータの回転によるソケットの回転を一方向のみにおいて許容し、モータの停止時においてモータハウジングに入力された回転をソケットに一方向のみに伝達するワンウェイクラッチ機構と、を備える。
【発明の効果】
【0007】
本明細書で開示する技術によれば、作業効率の低下が抑制される。
【図面の簡単な説明】
【0008】
図1は、実施形態に係る電動ねじ締め機を示す側面図である。
図2は、実施形態に係る電動ねじ締め機の一部を示す前方からの斜視図である。
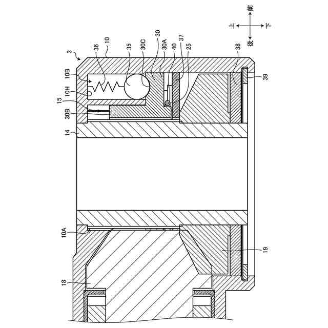
図3は、実施形態に係る電動ねじ締め機を示す縦断面図である。
図4は、実施形態に係る電動ねじ締め機を示すブロック図である。
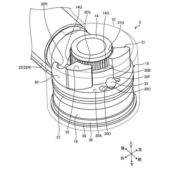
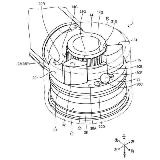
図5は、実施形態に係る出力部を示す前方からの斜視図である。
図6は、実施形態に係る出力部を示す縦断面図である。
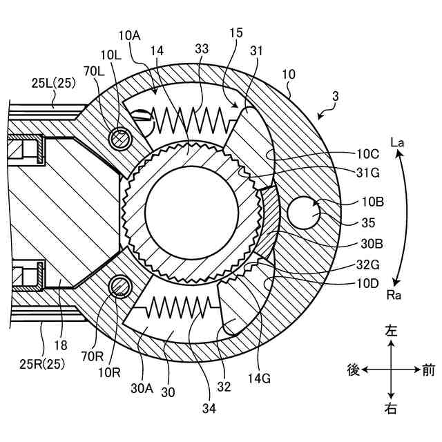
図7は、実施形態に係る出力部を示す横断面図である。
図8は、実施形態に係る出力部を示す上方からの分解斜視図である。
図9は、実施形態に係る出力部を示す下方からの分解斜視図である。
図10は、実施形態に係る出力部の要部を抽出した斜視図である。
図11は、実施形態に係るラチェットヘッドを下方から見た図である。
図12は、実施形態に係る電動ねじ締め機を示す側面図である。
【発明を実施するための形態】
【0009】
1つ又はそれ以上の実施形態において、電動ねじ締め機は、ステータと、ステータに対して回転可能であって前後方向に延びるロータ軸を有するロータと、を有するモータと、モータを収容するモータハウジングと、ロータの回転を減速する減速機構と、減速機構の回転が常に伝達され、ロータ軸と交わるソケット軸を有するソケットと、ソケットの周囲の少なくとも一部に配置され、モータの回転時においてモータの回転によるソケットの回転を一方向のみにおいて許容し、モータの停止時においてモータハウジングに入力された回転をソケットに一方向のみに伝達するワンウェイクラッチ機構と、を備える。
【0010】
上記の構成では、ねじを締め付ける場合、モータの回転力によりソケットが回転される。モータは高速で回転するので、ソケットも高速で回転する。ソケットが高速で回転するので、ねじは短時間で締め付けられる。モータの停止時においては、電動ねじ締め機は手動のラチェットレンチとして機能することができる。そのため、モータの回転力によりねじを締め付けた後、電動ねじ締め機の使用者は、モータが停止した状態の電動ねじ締め機を手動のラチェットレンチとして使用して、ねじを増し締めすることができる。すなわち、使用者は、モータの回転力によりねじをある程度まで高速で締め付けた後、モータが停止した状態の電動ねじ締め機を手動のラチェットレンチとして使用してねじを増し締めすることができる。そのため、作業効率の低下が抑制される。
(【0011】以降は省略されています)
この特許をJ-PlatPat(特許庁公式サイト)で参照する
関連特許
株式会社マキタ
作業機
1か月前
株式会社マキタ
電動工具
20日前
株式会社マキタ
電動作業機
今日
株式会社マキタ
電動作業機
1か月前
株式会社マキタ
鉄筋結束機
1か月前
株式会社マキタ
回転打撃工具
2か月前
株式会社マキタ
現場用作業機
1か月前
株式会社マキタ
ハンマドリル
1か月前
株式会社マキタ
ハンマドリル
1か月前
株式会社マキタ
インパクト工具
1か月前
株式会社マキタ
ダイグラインダ
2か月前
株式会社マキタ
集塵アタッチメント
12日前
株式会社マキタ
スクラバードライヤー
20日前
株式会社マキタ
充電器及び充電システム
1か月前
株式会社マキタ
フレア形成装置及びフレア形成工具
2か月前
株式会社マキタ
インパクト工具及びインパクトレンチ
1か月前
株式会社マキタ
往復動工具、及び、往復動工具の電動モータを制御する方法
5日前
株式会社マキタ
現場用機器における光学表示器の内部に回路基板を固定する技術
1か月前
株式会社マキタ
往復動工具、及び、往復動工具における電動モータを制御する方法
5日前
株式会社マキタ
往復動工具、及び、往復動工具における電動モータの通電を保持する方法
5日前
株式会社マキタ
往復動工具、及び、往復動工具における往復部材の位置検出に関連する不具合の発生を検出する方法
5日前
個人
フラワーホッチキス。
1か月前
個人
手持ち挟持具
1か月前
川崎重工業株式会社
ロボット
2か月前
トヨタ自動車株式会社
学習装置
20日前
株式会社不二越
ロボット
2か月前
株式会社竹中工務店
補助セット
2か月前
CKD株式会社
把持装置
5日前
ダイセイ株式会社
ロボット自動刻印装置
5日前
川崎重工業株式会社
ハンド
2か月前
株式会社マキタ
ハンマドリル
1か月前
株式会社マキタ
ハンマドリル
1か月前
トヨタ自動車株式会社
ロボット
2か月前
株式会社不二越
移動ロボットシステム
2か月前
瓜生製作株式会社
電動締付工具
13日前
工機ホールディングス株式会社
作業機
2か月前
続きを見る
他の特許を見る