TOP
|
特許
|
意匠
|
商標
特許ウォッチ
Twitter
他の特許を見る
公開番号
2025135147
公報種別
公開特許公報(A)
公開日
2025-09-18
出願番号
2024032794
出願日
2024-03-05
発明の名称
衛星通信装置、アンテナ、および通信方法
出願人
日本無線株式会社
代理人
個人
,
個人
,
個人
,
個人
主分類
H04B
1/40 20150101AFI20250910BHJP(電気通信技術)
要約
【課題】複数の衛星各々を用いた通信を行うことができる衛星通信装置を提供すること。
【解決手段】複数のバンドのうち、いずれのバンドかを指示するバンド指示部と、受信信号を復調する復調部と、バンド指示部が指示するバンドに応じて、復調部が受信信号を復調する際の周波数帯域幅、または変調方式を指定する制御部とを備える衛星通信装置である。
【選択図】図1
特許請求の範囲
【請求項1】
複数のバンドのうち、いずれのバンドかを指示するバンド指示部と、
受信信号を復調する復調部と、
前記バンド指示部が指示するバンドに応じて、前記復調部が受信信号を復調する際の周波数帯域幅、または変調方式を指定する制御部と
を備える衛星通信装置。
続きを表示(約 530 文字)
【請求項2】
送信データを変調する変調部を備え、
前記制御部は、前記バンド指示部が指示するバンドに応じて、前記変調部が前記送信データを変調する際の周波数帯域幅、または変調方式を指定する、
請求項1に記載の衛星通信装置。
【請求項3】
前記バンド指示部は、前記衛星通信装置に接続されたアンテナから、前記複数のバンドのうち、いずれかのバンドに応じた信号を取得し、前記信号に応じたバンドを指示する、
請求項1または請求項2に記載の衛星通信装置。
【請求項4】
特定のバンドを用いた通信に用いられるアンテナであって、
前記特定のバンドの受信信号から、中間周波数の信号と、前記特定のバンドに応じた周波数の信号とを生成するバンド指定信号生成部
を備える、アンテナ。
【請求項5】
複数のバンドのうち、いずれのバンドかを指示する第1のステップと、
受信信号を復調する第2のステップと、
前記第1のステップにより指示されたバンドに応じて、前記第2のステップにおいて受信信号を復調する際の周波数帯域幅、または変調方式を指定する第3のステップと
を有する通信方法。
発明の詳細な説明
【技術分野】
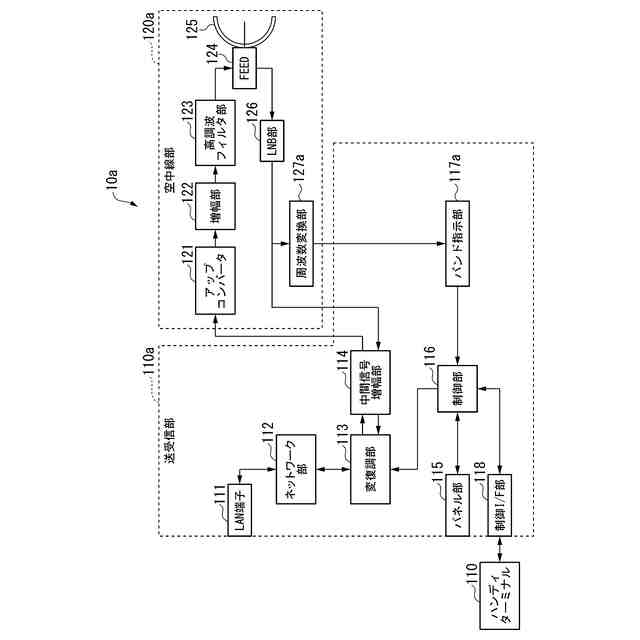
【0001】
本発明は、衛星通信装置、アンテナ、および通信方法に関する。
続きを表示(約 1,200 文字)
【背景技術】
【0002】
従来、衛星通信では、通信に用いる衛星によって、Xバンド、Kaバンド、Kuバンドなどの使用するバンド、BPSK(Binary Phase Shift Keying)、QPSK(Quadrature Phase Shift Keying)などの変調方式、帯域幅が異なる。このため、地上局となる衛星通信装置は、通信に用いる衛星に応じた導波管、モデムなどを備えている。
【0003】
特許文献1は、屋外装置と屋内装置とに分離されて構成されている衛星通信用の無線通信装置を開示している。屋内装置は、信号変調ユニットを有し、屋外装置は、変調された信号の周波数を高周波に変換する送信周波数変換ユニットと、送信周波数変換ユニットから出力された信号を増幅する送信アンプユニットと、増幅された信号を送信するためのアンテナを有している。
【先行技術文献】
【特許文献】
【0004】
特開2008-277901号公報
【発明の概要】
【発明が解決しようとする課題】
【0005】
しかしながら、従来の衛星通信装置においては、特定の衛星を用いた通信を前提としているため、他の衛星を用いた通信を行うことができないことがあるという問題がある。
【0006】
本発明は、このような事情に鑑みてなされたもので、複数の衛星各々を用いた通信を行うことができる衛星通信装置、アンテナ、および通信方法を提供する。
【課題を解決するための手段】
【0007】
この発明は上述した課題を解決するためになされたもので、本発明の一態様は、複数のバンドのうち、いずれのバンドかを指示するバンド指示部と、受信信号を復調する復調部と、前記バンド指示部が指示するバンドに応じて、前記復調部が受信信号を復調する際の周波数帯域幅、または変調方式を指定する制御部とを備える衛星通信装置である。
【0008】
また、他の一態様は、上述した衛星通信装置であって、送信データを変調する変調部を備え、前記制御部は、前記バンド指示部が指示するバンドに応じて、前記変調部が前記送信データを変調する際の周波数帯域幅、または変調方式を指定する。
【0009】
また、他の一態様は、上述した衛星通信装置であって、前記バンド指示部は、前記衛星通信装置に接続されたアンテナから、前記複数のバンドのうち、いずれかのバンドに応じた信号を取得し、前記信号に応じたバンドを指示する。
【0010】
また、他の一態様は、特定のバンドを用いた通信に用いられるアンテナであって、前記特定のバンドの受信信号から、中間周波数の信号と、前記特定のバンドに応じた周波数の信号とを生成するバンド指定信号生成部を備える。
(【0011】以降は省略されています)
この特許をJ-PlatPat(特許庁公式サイト)で参照する
関連特許
日本無線株式会社
船舶システム
15日前
日本無線株式会社
レーダアンテナ
14日前
日本無線株式会社
レーダアンテナ
1か月前
日本無線株式会社
無線通信システム
1か月前
日本無線株式会社
推定装置、及び推定方法
1か月前
日本無線株式会社
波浪解析装置及び波浪解析プログラム
14日前
日本無線株式会社
移動体姿勢計測装置及び移動体姿勢計測プログラム
12日前
日本無線株式会社
物標判定装置、物標判定システム及び物標判定方法
13日前
長野日本無線株式会社
非接触送電装置および非接触電力伝送システム
1か月前
長野日本無線株式会社
非接触受電装置および非接触電力伝送システム
1か月前
長野日本無線株式会社
非接触受電装置および非接触電力伝送システム
1か月前
日本無線株式会社
演算処理装置、降雨量推定システム、及び降雨量推定方法
14日前
日本無線株式会社
水位予測的中率算出方法及び水位予測的中率算出プログラム
1か月前
日本無線株式会社
送信ビームパターン形成装置及びレーダ装置
1か月前
日本無線株式会社
送信ビーム形成装置、送信ビーム形成プログラム、受信ビーム形成装置、受信ビーム形成プログラム及びレーダ装置
14日前
個人
イヤーピース
12日前
個人
イヤーマフ
26日前
個人
監視カメラシステム
1か月前
キーコム株式会社
光伝送線路
1か月前
個人
スイッチシステム
20日前
サクサ株式会社
中継装置
1か月前
サクサ株式会社
中継装置
1か月前
WHISMR合同会社
収音装置
2か月前
個人
スキャン式車載用撮像装置
1か月前
アイホン株式会社
電気機器
2か月前
キヤノン株式会社
撮像装置
2か月前
キヤノン電子株式会社
画像読取装置
12日前
個人
ワイヤレスイヤホン対応耳掛け
2か月前
株式会社リコー
画像形成装置
2か月前
キヤノン電子株式会社
画像読取装置
1か月前
キヤノン電子株式会社
画像読取装置
2か月前
サクサ株式会社
無線システム
1か月前
サクサ株式会社
無線通信装置
1か月前
個人
映像表示装置、及びARグラス
21日前
株式会社リコー
画像形成装置
28日前
ヤマハ株式会社
放音制御装置
20日前
続きを見る
他の特許を見る