TOP
|
特許
|
意匠
|
商標
特許ウォッチ
Twitter
他の特許を見る
10個以上の画像は省略されています。
公開番号
2025133182
公報種別
公開特許公報(A)
公開日
2025-09-11
出願番号
2024030970
出願日
2024-03-01
発明の名称
沈水判定システム及び沈水判定方法
出願人
株式会社JVCケンウッド
代理人
個人
主分類
A47K
4/00 20060101AFI20250904BHJP(家具;家庭用品または家庭用設備;コーヒーひき;香辛料ひき;真空掃除機一般)
要約
【課題】本開示により、入浴者の頭部位置の測定精度が高い沈水判定システム、及び沈水判定方法を提供することができる。
【解決手段】本開示に係る沈水判定システムは、浴室の浴槽の上部に配置された超音波送信装置及び複数の超音波受信装置と、入浴者が沈水状態に進行する可能性がある入浴姿勢であるか否かを判定する沈水判定装置と、を備える。複数の超音波受信装置のそれぞれは、超音波送信装置から等距離となるように配置される。沈水判定装置は、浴槽の水面の高さ位置を取得し、超音波受信装置が受信した反射波のうち少なくとも1つに基づいて、入浴者の頭部位置を算出し、頭部位置と水面の高さ位置に基づいて、入浴者が沈水状態に進行する可能性がある入浴姿勢であるか否かを判定する。
【選択図】図1
特許請求の範囲
【請求項1】
浴室の浴槽の上部に配置された超音波送信装置及び複数の超音波受信装置と、
入浴者が沈水状態に進行する可能性がある入浴姿勢であるか否かを判定する沈水判定装置と、
を備え、
前記複数の超音波受信装置のそれぞれは、前記超音波送信装置から等距離となるように配置され、
前記超音波送信装置は、前記超音波送信装置から送信された超音波が前記入浴者の頭部で反射して前記複数の超音波受信装置のそれぞれで受信されるように下向きに超音波を送信するように構成されており、
前記沈水判定装置は、
前記浴槽の水面の高さ位置を取得し、
前記超音波受信装置が受信した反射波のうち少なくとも1つ以上の反射波に基づいて、前記入浴者の頭部位置を算出し、
前記頭部位置と前記水面の高さ位置に基づいて、前記入浴者が沈水状態に進行する可能性がある入浴姿勢であるか否かを判定する、
沈水判定システム。
続きを表示(約 870 文字)
【請求項2】
前記複数の超音波受信装置は、2つの超音波受信装置から構成され、
前記超音波送信装置は、前記入浴者の頭部上方に配置され、
前記超音波受信装置は、前記超音波送信装置を挟むように配置され、
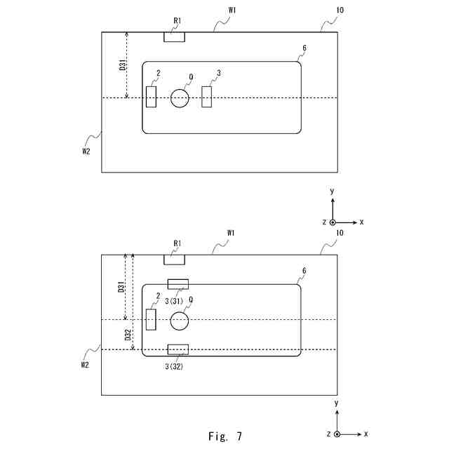
前記超音波送信装置と前記2つの超音波受信装置の各々とを結ぶ直線が、前記浴槽の長手方向及び前記浴槽の短手方向と非平行となる、
請求項1に記載の沈水判定システム。
【請求項3】
前記複数の超音波受信装置は、2つの超音波受信装置から構成され、
前記超音波送信装置は、前記入浴者の頭部上方に配置され、
前記超音波受信装置は、前記超音波送信装置を頂部として、くの字形状を成すように配置される。
請求項1に記載の沈水判定システム。
【請求項4】
前記超音波受信装置は、前記入浴者の頭部の中心を通り前記浴槽の長手方向に平行な中心線に対して、線対称となるように配置される、
請求項3に記載の沈水判定システム。
【請求項5】
浴室の浴槽の上部に配置された超音波送信装置及び複数の超音波受信装置を用いて、入浴者が沈水状態に進行する可能性がある入浴姿勢であるか否かを判定する沈水判定方法であって、
前記複数の超音波受信装置のそれぞれは、前記超音波送信装置から等距離となるように配置され、
前記超音波送信装置が、前記超音波送信装置から送信された超音波が前記入浴者の頭部で反射して前記複数の超音波受信装置のそれぞれで受信されるように下向きに超音波を送信するステップと、
前記超音波受信装置が受信した反射波のうち少なくとも1つ以上の反射波に基づいて、前記入浴者の頭部位置を算出するステップと、
前記浴槽の水面の高さ位置を取得するステップと、
前記頭部位置と前記水面の高さ位置に基づいて、前記入浴者が沈水状態に進行する可能性がある入浴姿勢であるか否かを判定するステップと、
を含む、
沈水判定方法。
発明の詳細な説明
【技術分野】
【0001】
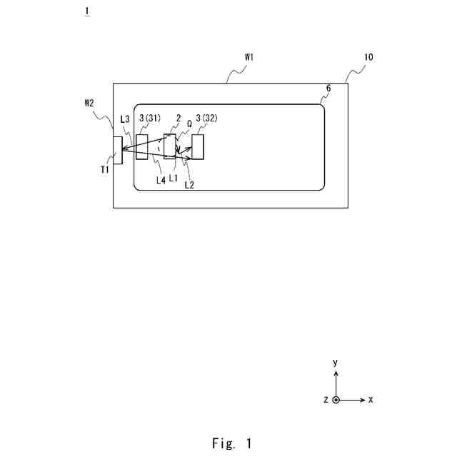
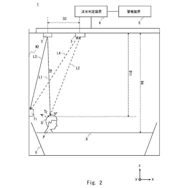
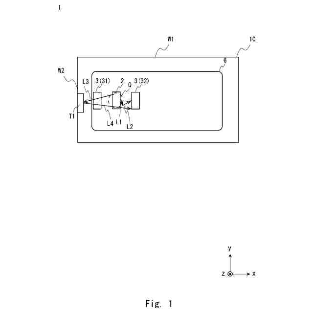
本開示は、沈水判定システム及び沈水判定方法に関する。
続きを表示(約 1,700 文字)
【背景技術】
【0002】
特許文献1には、入浴者が沈水状態に進行する可能性がある入浴姿勢であるか否かを検出する沈水判定システムが開示されている。
【先行技術文献】
【特許文献】
【0003】
特開2019-129930号公報
【発明の概要】
【発明が解決しようとする課題】
【0004】
上述した特許文献1に開示された沈水判定システムでは、天井に設けられた各超音波装置を用いて入浴者の頭部位置を測定している。特許文献1に開示された沈水判定システムでは、各超音波装置から頭部までの距離と、各超音波装置から壁面に取り付けられた物体や浴槽周囲の物体までの距離と、が近い値を示す場合に、超音波装置で受信された反射波から入浴者の頭部での反射波を抽出することができない場合がある。そのため、頭部位置を精確に検出することができない問題があった。
【0005】
本開示は、このような事情に鑑みなされたものであって、入浴者の頭部位置の測定精度が高い沈水判定システム、及び沈水判定方法を提供することを目的とする。
【課題を解決するための手段】
【0006】
本開示に係る沈水判定システムは、
浴室の浴槽の上部に配置された超音波送信装置及び複数の超音波受信装置と、
入浴者が沈水状態に進行する可能性がある入浴姿勢であるか否かを判定する沈水判定装置と、
を備え、
前記複数の超音波受信装置のそれぞれは、前記超音波送信装置から等距離となるように配置され、
前記超音波送信装置は、前記超音波送信装置から送信された超音波が前記入浴者の頭部で反射して前記複数の超音波受信装置のそれぞれで受信されるように下向きに超音波を送信するように構成されており、
前記沈水判定装置は、
前記浴槽の水面の高さ位置を取得し、
前記超音波受信装置が受信した反射波のうち少なくとも1つ以上の反射波に基づいて、前記入浴者の頭部位置を算出し、
前記頭部位置と前記水面の高さ位置に基づいて、前記入浴者が沈水状態に進行する可能性がある入浴姿勢であるか否かを判定する。
【0007】
本開示に係る沈水判定システムでは、超音波受信装置のそれぞれは、超音波送信装置から等距離となるように配置されている。このような構成にすることによって、入浴者の頭部での反射波を抽出することができる。これにより、入浴者の頭部位置の測定精度を高めることができる。
【0008】
本開示に係る沈水判定方法は、
浴室の浴槽の上部に配置された超音波送信装置及び複数の超音波受信装置を用いて、入浴者が沈水状態に進行する可能性がある入浴姿勢であるか否かを判定する沈水判定方法であって、
前記複数の超音波受信装置のそれぞれは、前記超音波送信装置から等距離となるように配置され、
前記超音波送信装置が、前記超音波送信装置から送信された超音波が前記入浴者の頭部で反射して前記複数の超音波受信装置のそれぞれで受信されるように下向きに超音波を送信するステップと、
前記超音波受信装置が受信した反射波のうち少なくとも1つ以上の反射波に基づいて、前記入浴者の頭部位置を算出するステップと、
前記浴槽の水面の高さ位置を取得するステップと、
前記頭部位置と前記水面の高さ位置に基づいて、前記入浴者が沈水状態に進行する可能性がある入浴姿勢であるか否かを判定するステップと、を含む。
【0009】
本開示に係る沈水判定方法では、超音波受信装置のそれぞれは、超音波送信装置から等距離となるように配置されている。このような構成にすることによって、入浴者の頭部での反射波を抽出することができる。これにより、入浴者の頭部位置の測定精度を高めることができる。
【発明の効果】
【0010】
本開示により、入浴者の頭部位置の測定精度が高い沈水判定システム、及び沈水判定方法を提供することができる。
【図面の簡単な説明】
(【0011】以降は省略されています)
特許ウォッチbot のツイートを見る
この特許をJ-PlatPat(特許庁公式サイト)で参照する
関連特許
個人
家具
2か月前
個人
椅子
1か月前
個人
掃除機
7か月前
個人
自助箸
5か月前
個人
掃除用具
2か月前
個人
掃除道具
7か月前
個人
ソファー
17日前
個人
耳拭き棒
9か月前
個人
枕
7か月前
個人
ハンガー
5か月前
個人
屋外用箒
5か月前
個人
体洗い具
9か月前
個人
枕
3か月前
個人
収納型額縁
12か月前
個人
掃除シート
8か月前
個人
開閉トング
4か月前
個人
物品
1か月前
個人
エコ掃除機
10か月前
個人
片手代替具
9か月前
個人
省煙消臭器
7か月前
個人
組立式棚板
5か月前
個人
転倒防止装置
3か月前
個人
靴ベラ
26日前
個人
経典表示装置
3か月前
個人
シャワー装置
4か月前
個人
中身のない枕
6か月前
個人
受け皿
4か月前
個人
洗面台
9か月前
個人
折り畳み椅子
12か月前
個人
紙コップ 蓋
26日前
個人
ゴミ袋保持枠
5か月前
個人
汚水汚れ防止具
8か月前
個人
汚水漏れ防止具
8か月前
個人
首支持具
2か月前
個人
簡易防災トイレ
7日前
個人
補助寝具
6か月前
続きを見る
他の特許を見る