TOP
|
特許
|
意匠
|
商標
特許ウォッチ
Twitter
他の特許を見る
10個以上の画像は省略されています。
公開番号
2025132610
公報種別
公開特許公報(A)
公開日
2025-09-10
出願番号
2024030284
出願日
2024-02-29
発明の名称
工作機械
出願人
ブラザー工業株式会社
代理人
個人
,
個人
主分類
B23Q
1/30 20060101AFI20250903BHJP(工作機械;他に分類されない金属加工)
要約
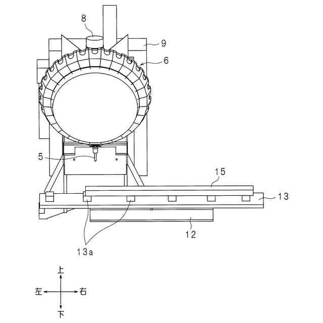
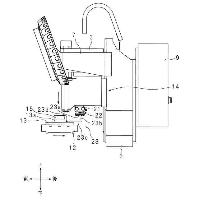
【課題】ワークの所望の部分を加工できる工作機械を提供する。
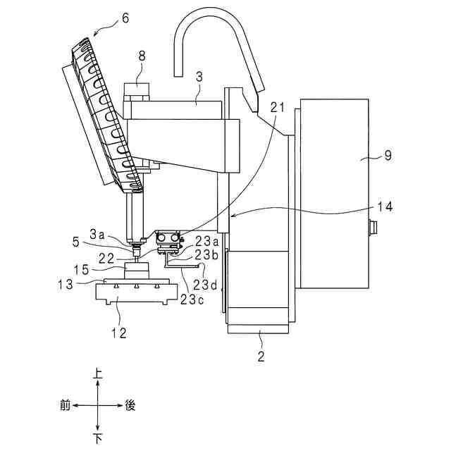
【解決手段】工作機械は、主軸を保持する主軸ヘッドと、前記主軸ヘッドの下側に配置してあり、ワークを保持する保持部と、上下方向に交差する方向にて、前記保持部又は前記主軸ヘッドの移動を行う第一移動機構と、前記主軸ヘッドの下側に配置してあり、前記保持部に保持した前記ワークを支持する為の支持部と、上下方向にて、前記支持部の移動を行う第二移動機構とを備える。
【選択図】図1
特許請求の範囲
【請求項1】
主軸を保持する主軸ヘッドと、
前記主軸ヘッドの下側に配置してあり、ワークを保持する保持部と、
上下方向に交差する方向にて、前記保持部又は前記主軸ヘッドの移動を行う第一移動機構と、
前記主軸ヘッドの下側に配置してあり、前記保持部に保持した前記ワークを支持する為の支持部と、
上下方向にて、前記支持部の移動を行う第二移動機構と
を備える工作機械。
続きを表示(約 480 文字)
【請求項2】
前記支持部の位置を、前記ワークの加工を実行せず、前記ワークを支持する為の支持位置又は前記ワークの支持を実行せず、前記ワークの加工を行う為の加工位置に切り替える 請求項1に記載の工作機械。
【請求項3】
前記支持部は、前記ワークに係止するアームと、前記アームを支持し、上下軸回りに回転可能なアーム支持部とを有し、
前記アーム支持部の回転によって、前記支持部の位置を前記支持位置と前記加工位置との間で切り替える
請求項2に記載の工作機械。
【請求項4】
前記アームは、水平方向に延び、前記ワークの寸法よりも長く、前記ワークを受ける受け部を備える
請求項3に記載の工作機械。
【請求項5】
前記受け部の先端部分は上側に突出する
請求項4に記載の工作機械。
【請求項6】
前記支持部は前記主軸ヘッドに設けてあり、
前記第二移動機構は、上下方向にて前記主軸ヘッドの移動を行う機構である
請求項1から5のいずれか一つに記載の工作機械。
発明の詳細な説明
【技術分野】
【0001】
本技術は、ワークを加工する工作機械に関する。
続きを表示(約 1,000 文字)
【背景技術】
【0002】
ワークを保持するテーブル又は主軸ヘッドが移動し、ワークを加工する工作機械がある(例えば特許文献1参照)。
【先行技術文献】
【特許文献】
【0003】
特開2021-146469号公報
【発明の概要】
【発明が解決しようとする課題】
【0004】
ワークが長寸の場合、テーブル又は主軸ヘッドの移動可能な範囲を超えたワークの部分に加工できないおそれがある。
【0005】
本開示は斯かる事情に鑑みてなされたものであり、ワークの所望の部分を加工できる工作機械を提供することを目的とする。
【課題を解決するための手段】
【0006】
本開示の一実施形態に係る工作機械は、主軸を保持する主軸ヘッドと、前記主軸ヘッドの下側に配置してあり、ワークを保持する保持部と、上下方向に交差する方向にて、前記保持部又は前記主軸ヘッドの移動を行う第一移動機構と、前記主軸ヘッドの下側に配置してあり、前記保持部に保持した前記ワークを支持する為の支持部と、上下方向にて、前記支持部の移動を行う第二移動機構とを備える。
【0007】
本開示においては、保持部又は主軸ヘッドの移動可能な範囲を超えたワークの部分に加工する場合、支持部及び第二移動機構によってワークは上に移動し、第一移動機構によって、保持部又は主軸ヘッドが上下方向に交差する方向に移動し、支持部及び第二移動機構によってワークは下に移動し、保持部は、工具による加工が可能な位置にワークを保持する。
【0008】
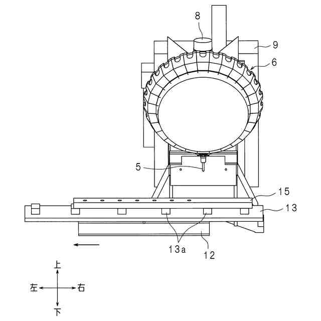
本開示の一実施形態に係る工作機械は、前記支持部の位置を、前記ワークの加工を実行せず、前記ワークを支持する為の支持位置又は前記ワークの支持を実行せず、前記ワークの加工を行う為の加工位置に切り替える。
【0009】
本開示においては、工具による加工が可能な位置にワークが移動する場合、支持部の姿勢は支持位置になり、ワークの加工を行う場合、支持部の位置は加工位置になる。加工位置の支持部はワークの加工を妨げない。
【0010】
本開示の一実施形態に係る工作機械は、前記支持部は、前記ワークに係止するアームと、前記アームを支持し、上下軸回りに回転可能なアーム支持部とを有し、前記アーム支持部の回転によって、前記支持部の位置を前記支持位置と前記加工位置との間で切り替える。
(【0011】以降は省略されています)
この特許をJ-PlatPat(特許庁公式サイト)で参照する
関連特許
ブラザー工業株式会社
画像形成装置
2日前
ブラザー工業株式会社
画像形成装置
2日前
ブラザー工業株式会社
画像形成装置
2日前
ブラザー工業株式会社
画像形成装置
2日前
ブラザー工業株式会社
画像形成装置
3日前
ブラザー工業株式会社
液体吐出ヘッド
2日前
ブラザー工業株式会社
仮想プリンタ管理プログラム
2日前
ブラザー工業株式会社
プログラム、および、画像処理装置
2日前
ブラザー工業株式会社
画像形成装置及び画像形成システム
2日前
ブラザー工業株式会社
情報処理プログラム及び情報処理装置
2日前
ブラザー工業株式会社
画像処理プログラム及び情報処理装置
2日前
ブラザー工業株式会社
情報処理プログラム及び情報処理装置
3日前
ブラザー工業株式会社
トナーカートリッジのリサイクル方法
3日前
ブラザー工業株式会社
プリンタ及びプリンタのためのコンピュータプログラム
2日前
ブラザー工業株式会社
端末装置のためのコンピュータプログラム、端末装置、及び、端末装置によって実行される方法
2日前
ブラザー工業株式会社
管理プログラム、管理装置、管理方法、管理システム、実行プログラム、画像形成装置、及び実行方法
2日前
ブラザー工業株式会社
画像処理装置、画像処理装置のためのコンピュータプログラム、画像処理装置の制御方法、及び、端末装置のためのコンピュータプログラム
2日前
個人
タップ
5か月前
個人
フライス盤
25日前
個人
加工機
4か月前
麗豊実業股フン有限公司
ラクトバチルス・パラカセイNB23菌株及びそれを筋肉量の増加や抗メタボリック症候群に用いる用途
4か月前
日東精工株式会社
ねじ締め機
25日前
株式会社北川鉄工所
回転装置
3か月前
株式会社不二越
ドリル
4か月前
日東精工株式会社
ねじ締め機
1か月前
日東精工株式会社
ねじ締め機
4か月前
株式会社ダイヘン
溶接電源装置
2か月前
株式会社ダイヘン
溶接電源装置
2か月前
日東精工株式会社
ねじ締め装置
3か月前
日東精工株式会社
ねじ締め装置
16日前
株式会社ダイヘン
溶接電源装置
1か月前
個人
切削油供給装置
1か月前
株式会社FUJI
工作機械
2か月前
株式会社FUJI
工作機械
2日前
株式会社FUJI
工作機械
3か月前
株式会社アンド
半田付け方法
4か月前
続きを見る
他の特許を見る