TOP
|
特許
|
意匠
|
商標
特許ウォッチ
Twitter
他の特許を見る
公開番号
2025129023
公報種別
公開特許公報(A)
公開日
2025-09-03
出願番号
2024225579
出願日
2024-12-20
発明の名称
湿度制御装置、プログラム、湿度制御システムおよび湿度制御方法
出願人
国立研究開発法人農業・食品産業技術総合研究機構
,
公立大学法人大阪
代理人
弁理士法人 HARAKENZO WORLD PATENT & TRADEMARK
主分類
A01G
9/24 20060101AFI20250827BHJP(農業;林業;畜産;狩猟;捕獲;漁業)
要約
【課題】施設内において栽培される植物体の水ストレスを効果的に低減する。
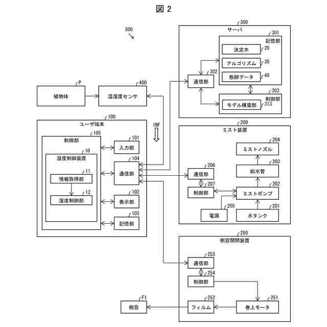
【解決手段】湿度制御装置(10)は、湿度変化情報(INF)を取得する情報取得部(11)と、湿度変化情報(INF)が示す湿度と、当該湿度の変化速度と、当該湿度の変化加速度と、を決定木(20)に入力して得られた予測指標(PI)に基づいて、施設(F)内の湿度を変化させる調湿装置(200、250)を制御する湿度制御部(12)と、を備える。
【選択図】図2
特許請求の範囲
【請求項1】
植物体が栽培されている施設内の湿度を制御する湿度制御装置であって、
前記施設内の湿度変化の計測結果を示す湿度変化情報を取得する情報取得部と、
前記情報取得部により取得された前記湿度変化情報が示す湿度と、当該湿度の時間一次微分値と、当該湿度の時間二次微分値と、を予測モデルに入力して得られた出力結果に基づいて、前記施設内の湿度を変化させる調湿装置を制御する湿度制御部と、を備える、湿度制御装置。
続きを表示(約 1,600 文字)
【請求項2】
前記予測モデルは、所定の時点における前記湿度変化情報が示す湿度と、当該湿度の時間一次微分値と、当該湿度の時間二次微分値と、を例題データとし、前記所定の時点における前記植物体の水ストレスの状態を示す基準指標を正解データとする教師データを用いた機械学習により構築されており、
前記出力結果は、前記施設内の湿度変化が計測された時点における前記植物体の水ストレスの予測状態を示す予測指標である、請求項1に記載の湿度制御装置。
【請求項3】
前記基準指標は、前記所定の時点における前記植物体の任意部位の径から第1期間の開始時点における前記植物体の任意部位の径を差し引いた値を、前記第1期間の開始時点における前記植物体の任意部位の径で除して任意径基準変化量としたときの、少なくとも前記任意径基準変化量の時間一次微分値に基づく指標であり、
前記予測指標は、前記施設内の前記湿度変化が計測された時点における前記植物体の任意部位の径から前記第1期間と異なる第2期間の開始時点における前記植物体の任意部位の径を差し引いた値を、前記第2期間の開始時点における前記植物体の任意部位の径で除して任意径変化量としたときの、少なくとも前記任意径変化量の時間一次微分値に基づく指標である、請求項2に記載の湿度制御装置。
【請求項4】
前記予測モデルは、決定木である、請求項2または3に記載の湿度制御装置。
【請求項5】
前記湿度制御部は、
前記決定木のルートノードに記録された、前記予測指標の予測要因を示す第1要因情報と、
前記決定木の中間ノードに記録された、前記第1要因情報と異なる第2要因情報と、
前記決定木のリーフノードに記録された前記予測指標と、
に基づいてアルゴリズムを生成するとともに、
前記調湿装置を前記アルゴリズムによって制御し、
前記アルゴリズムには、前記湿度制御部が前記調湿装置を動作させるか否かを決定するための条件として、
前記施設内の湿度の数値範囲と、
前記施設内の湿度の時間一次微分値の数値範囲と、
前記施設内の湿度の時間二次微分値の数値範囲と、
が含まれている、請求項4に記載の湿度制御装置。
【請求項6】
前記湿度変化は、飽差、相対湿度および絶対湿度の少なくともいずれかである、請求項1から3のいずれか1項に記載の湿度制御装置。
【請求項7】
請求項1に記載の湿度制御装置としてコンピュータを機能させるためのプログラムであって、前記情報取得部および前記湿度制御部としてコンピュータを機能させるためのプログラム。
【請求項8】
植物体が栽培されている施設内の湿度を制御する湿度制御システムであって、
前記施設内の湿度変化の計測結果を示す湿度変化情報を取得する情報取得部と、
前記情報取得部により取得された前記湿度変化情報が示す湿度と、当該湿度の時間一次微分値と、当該湿度の時間二次微分値と、を予測モデルに入力して得られた出力結果に基づいて、前記施設内の湿度を変化させる調湿装置を制御する湿度制御部と、を備える、湿度制御システム。
【請求項9】
1または複数のコンピュータによって実行される、植物体が栽培されている施設内の湿度を制御する湿度制御方法であって、
前記施設内の湿度変化の計測結果を示す湿度変化情報を取得する情報取得ステップと、
前記情報取得ステップにおいて取得された前記湿度変化情報が示す湿度と、当該湿度の時間一次微分値と、当該湿度の時間二次微分値と、を予測モデルに入力して得られた出力結果に基づいて、前記施設内の湿度を変化させる調湿装置を制御する制御ステップと、を含む、湿度制御方法。
発明の詳細な説明
【技術分野】
【0001】
本発明は、植物体が栽培されている施設内の湿度を制御する湿度制御装置、プログラム、湿度制御システムおよび湿度制御方法に関する。
続きを表示(約 1,600 文字)
【背景技術】
【0002】
従来から、施設内において栽培される植物体の各種ストレスを低減するための研究開発が行われている。例えば、特許文献1には、植物体の水分不足に起因するストレス(以下、「水ストレス」)を低減するための技術が開示されている。具体的には、飽差計測手段によって計測された飽差の時間二次微分値に基づいて、植物体が栽培されている施設内の湿度を制御する技術が特許文献1に開示されている。
【先行技術文献】
【特許文献】
【0003】
特開2022-122289号公報
【発明の概要】
【発明が解決しようとする課題】
【0004】
特許文献1に開示された技術は、時間二次微分値と所定の設定値とを比較し、かつ、時間二次微分値以外の数種類のパラメータのいずれかと所定の設定値とを比較することで、施設内の湿度を制御する。そのため、施設内の湿度を緻密かつ柔軟に制御するという点において、特許文献1に開示された技術には改善の余地がある。
【0005】
本発明の一態様は、施設内の湿度を緻密かつ柔軟に制御することにより、施設内において栽培される植物体の水ストレスを効果的に低減することを目的とする。
【課題を解決するための手段】
【0006】
前記の課題を解決するために、本発明の一態様に係る湿度制御装置は、植物体が栽培されている施設内の湿度を制御する湿度制御装置であって、前記施設内の湿度変化の計測結果を示す湿度変化情報を取得する情報取得部と、前記情報取得部により取得された前記湿度変化情報が示す湿度と、当該湿度の時間一次微分値と、当該湿度の時間二次微分値と、を予測モデルに入力して得られた出力結果に基づいて、前記施設内の湿度を変化させる調湿装置を制御する湿度制御部と、を備える。
【0007】
湿度、当該湿度の時間一次微分値、および当該湿度の時間二次微分値の3つのパラメータは相互に作用しながら植物体の水ストレスの状態に影響を与えるため、これら3つのパラメータは植物体の水ストレスの状態と複雑な関係にある。そのため、これら3つのパラメータをルールベースのアルゴリズムに入力したとしても、得られた出力結果が植物体の水ストレスの状態を精度高く予測したものになっているとは必ずしも言えない。同様に、これら3つのパラメータをそれぞれ所定の設定値と比較したとしても、得られた比較結果が植物体の水ストレスの状態を精度高く予測したものになっているとは必ずしも言えない。
【0008】
その点、前記構成によれば、予測モデルから得られた出力結果に基づいて調湿装置を制御する。この出力結果は、ルールベースのアルゴリズムから得られた出力結果および所定の設定値との比較結果に比べて予測精度が高い。したがって、湿度制御部は、植物体の水ストレスの状態に応じて緻密かつ柔軟に調湿装置を制御できる。これにより、施設内の湿度を緻密かつ柔軟に制御でき、ひいては植物体の水ストレスを効果的に低減できる。
【0009】
本発明の一態様に係る湿度制御装置は、前記予測モデルは、所定の時点における前記湿度と、当該湿度の時間一次微分値と、当該湿度の時間二次微分値と、を例題データとし、前記所定の時点における前記植物体の水ストレスの状態を示す基準指標を正解データとする教師データを用いた機械学習により構築されており、前記出力結果は、前記施設内の湿度変化が計測された時点における前記植物体の水ストレスの予測状態を示す予測指標であってもよい。
【0010】
前記構成によれば、湿度制御部は、調湿装置の制御パラメータとして予測指標を用いることにより、植物体の水ストレスの状態に応じて緻密かつ柔軟に調湿装置を制御できる。これにより、施設内の湿度を緻密かつ柔軟に制御でき、ひいては植物体の水ストレスを効果的に低減できる。
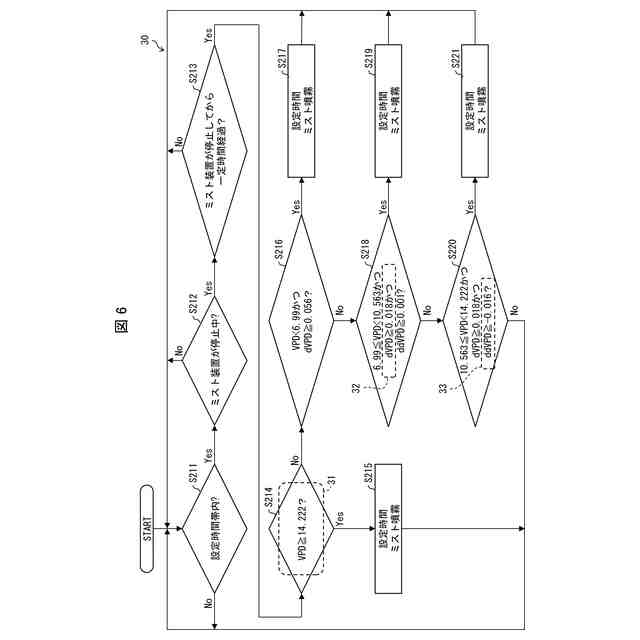
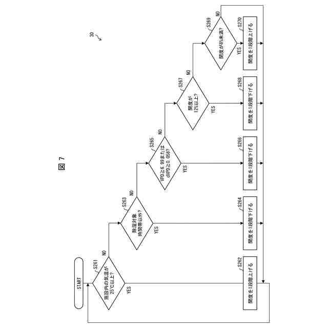
(【0011】以降は省略されています)
この特許をJ-PlatPat(特許庁公式サイト)で参照する
関連特許
個人
草刈り鋏
1か月前
個人
釣り用錘
11日前
個人
蠅捕獲器
1か月前
個人
噴霧器ノズル
9日前
個人
刈込鋏保持具
1か月前
個人
蜜蜂保護装置
22日前
個人
種子の製造方法
28日前
個人
草刈機用回転刃
1か月前
個人
昆虫捕集器
28日前
井関農機株式会社
作業車両
1か月前
個人
可動リップ付きルアー
14日前
井関農機株式会社
作業車両
1か月前
株式会社剛樹
釣り竿
7日前
個人
四足動物用装着具
1か月前
個人
ブルーカーボンシステム
14日前
井関農機株式会社
圃場作業機
14日前
株式会社ナベル
表示システム
17日前
個人
餌付き針の餌取り防止具
17日前
大栄工業株式会社
捕獲器
1か月前
有限会社信英精密
括り罠
1日前
松山株式会社
収穫機
14日前
松山株式会社
収穫機
14日前
井関農機株式会社
苗移植機
1日前
井関農機株式会社
作業車両
1か月前
井関農機株式会社
作業車両
1か月前
みのる産業株式会社
除草機
17日前
みのる産業株式会社
除草機
17日前
井関農機株式会社
作業車両
1か月前
株式会社オーツボ
海苔箱船
1か月前
株式会社アテックス
芝草の刈取装置
今日
松山株式会社
草刈作業機
22日前
個人
自閉式「洗濯バサミ型」虫捕獲器
1日前
株式会社シマノ
釣糸ガイド
14日前
株式会社シマノ
釣糸ガイド
14日前
みのる産業株式会社
茎葉処理装置
1か月前
株式会社スズテック
播種装置
1か月前
続きを見る
他の特許を見る