TOP
|
特許
|
意匠
|
商標
特許ウォッチ
Twitter
他の特許を見る
公開番号
2025127163
公報種別
公開特許公報(A)
公開日
2025-09-01
出願番号
2024023722
出願日
2024-02-20
発明の名称
スカイビング加工機
出願人
株式会社不二越
代理人
個人
,
個人
主分類
B23F
5/16 20060101AFI20250825BHJP(工作機械;他に分類されない金属加工)
要約
【課題】スカイビング加工によってワークの止め穴の内周面を加工する際、加工箇所への切屑の付着を抑制し、工具の刃欠けやワークの加工不良を好適に防ぐことが可能なスカイビング加工機を提供することを目的とする。
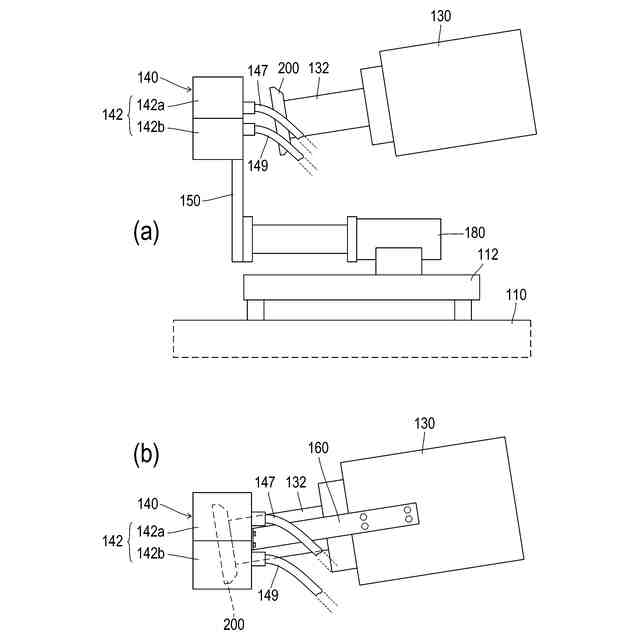
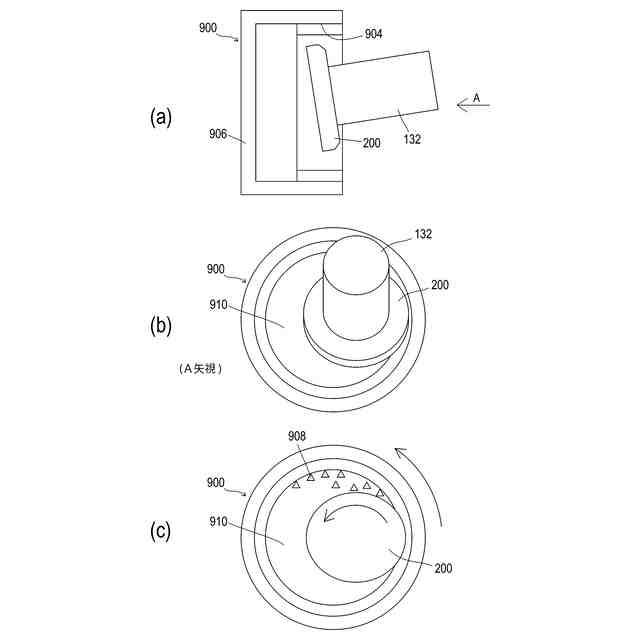
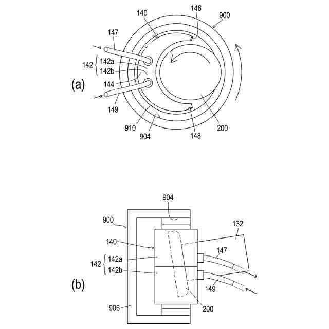
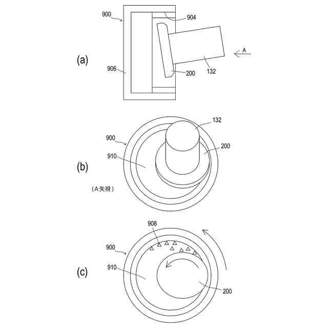
【解決手段】本発明にかかるスカイビング加工機の構成は、ワーク900の止め穴の内周面904を加工する歯車型のカッタ200と、ワーク900の止め穴にカッタ200を挿入した際に形成される隙間に挿入される三日月型のダクト140と、を備え、ダクト140は、隔壁によって2室に仕切られていて、2室は、カッタ200の切削位置の抜け側に吸引口146を有する吸引室142aと、カッタ200の切削位置の入り側に吹出口148を有する吹出室142bと、であることを特徴とする。
【選択図】図2
特許請求の範囲
【請求項1】
ワークの止め穴の内周面を加工する歯車型のカッタと、
前記ワークの止め穴に前記カッタを挿入した際に形成される隙間に挿入される三日月型のダクトと、
を備え、
前記ダクトは、隔壁によって2室に仕切られていて、
前記2室は、
前記カッタの切削位置の抜け側に吸引口を有する吸引室と、
前記カッタの切削位置の入り側に吹出口を有する吹出室と、
であることを特徴とするスカイビング加工機。
続きを表示(約 190 文字)
【請求項2】
前記ダクトを支持するダクトブラケットと、
前記ダクトブラケットが取り付けられ、該ダクトブラケットを前記ワークに向かって進退させる移動装置とを備えることを特徴とする請求項1に記載のスカイビング加工機。
【請求項3】
前記カッタを保持する工具主軸に前記ダクトを取り付けるダクトブラケットを備えることを特徴とする請求項1に記載のスカイビング加工機。
発明の詳細な説明
【技術分野】
【0001】
本発明は、ホルダの先端に歯車型のカッタが保持されるスカイビング加工機に関するものである。
続きを表示(約 1,700 文字)
【背景技術】
【0002】
歯車を創成する加工法として、スカイビング加工が知られている。スカイビング加工は、加工対象物であるワークの回転に切削工具であるスカイビングカッタの回転を同期させつつ、ワークの回転軸(ワーク軸)に対してスカイビングカッタの回転軸(カッタ軸)を傾けた状態で行われる。これにより、ワークの回転方向とスカイビングカッタの回転方向とに差異が生じ、ワークにスカイビングカッタを干渉させた際に“すべり”が生じる。このすべりを利用してワークから干渉部分をそぎ落とし、ワークに歯溝などを加工する。
【0003】
スカイビング加工は、通常の切削加工と同様に、潤滑や冷却のためにクーラント(冷却液)やブロア(空気)などの流体を供給しながら行われる。これらの中でも、ブロア(空気)を供給しながら行われる加工はドライ加工と称されている。スカイビング加工ではないがドライ加工を行っている技術として、例えば特許文献1に工作機械用集塵装置が開示されている。
【0004】
特許文献1の工作機械用集塵装置は、「工作機械の主軸に装着された加工工具、この加工工具を包囲し且つ被切削材を覆い上記加工工具の作動により発生、飛散する粉塵を捕集する集塵カバー、この集塵カバーに設けられた空気吸引孔部、この空気吸引孔部に一端部を接続すると共に他端部を空気吸引機に接続し、この空気吸引機の吸引力で上記粉塵を上記空気吸引孔部から上記空気吸引機へ誘導する空気吸引ホース」を備えている。この特許文献1の工作機械用集塵装置は、「上記集塵カバーは、天蓋部側を上記主軸に装着すると共に反天蓋部側に上記被切削材を覆う開口部を設け、上記開口部に向かって内径が次第に大きくなる形状にしたこと」を特徴としている。
【先行技術文献】
【特許文献】
【0005】
特開2008-126376号公報
【発明の概要】
【発明が解決しようとする課題】
【0006】
ワークに内歯の止め穴をスカイビング加工する場合(例えば有底の筒状の内歯車等)、ワークの内部空間には、切削加工時に発生する切屑が滞留しやすくなる。すると、遠心力によって切り屑が加工箇所に張り付いたり噛み込んだりするため、工具の刃欠けやワークの歯面に傷が入ってしまうことが問題となっている。
【0007】
特許文献1によれば、飛散する塵埃を集塵カバー内で捕集し、空気吸引ホースによって空気吸引機へ誘導する。しかしこのような方法であると、空気吸引機の吸引性能によっては、集塵カバー内の塵埃密度はカバーを用いない場合よりも高くなる可能性がある。したがって、やはりカバーの内部には切屑が飛散している状態となることには変わりがない。また特許文献1の技術では、ワークの回転遠心力による加工部への切屑張付きなどの悪影響の発生を防ぐことができない。
【0008】
本発明は、このような課題に鑑み、スカイビング加工によってワークの止め穴の内周面を加工する際、加工箇所への切屑の付着を抑制し、工具の刃欠けやワークの加工不良を好適に防ぐことが可能なスカイビング加工機を提供することを目的としている。
【課題を解決するための手段】
【0009】
上記課題を解決するために本発明にかかるスカイビング加工機の代表的な構成は、ワークの止め穴の内周面を加工する歯車型のカッタと、ワークの止め穴にカッタを挿入した際に形成される隙間に挿入される三日月型のダクトと、を備え、ダクトは、隔壁によって2室に仕切られていて、2室は、カッタの切削位置の抜け側に吸引口を有する吸引室と、カッタの切削位置の入り側に吹出口を有する吹出室と、であることを特徴とする。
【0010】
上記スカイビング加工機は、ダクトを支持するダクトブラケットと、ダクトブラケットが取り付けられ、ダクトブラケットをワークに向かって進退させる移動装置とを備えるとよい。
(【0011】以降は省略されています)
この特許をJ-PlatPat(特許庁公式サイト)で参照する
関連特許
株式会社不二越
ロボット
1か月前
株式会社不二越
硬質材料
1か月前
株式会社不二越
ブローチ盤
1か月前
株式会社不二越
熱処理システム
1か月前
株式会社不二越
ロボットシステム
1か月前
株式会社不二越
エッジ仕上げ装置
1か月前
株式会社不二越
ノンリーク三方弁
1か月前
株式会社不二越
噛み込み検知装置
4日前
株式会社不二越
X線測定システム
19日前
株式会社不二越
X線測定システム
18日前
株式会社不二越
垂直多関節ロボット
1か月前
株式会社不二越
複合アクチュエータ
1か月前
株式会社不二越
斜板式ピストンポンプ
26日前
株式会社不二越
移動ロボットシステム
1か月前
株式会社不二越
ロボットに用いる伝送路
17日前
株式会社不二越
固定構造および固定治具
10日前
株式会社不二越
可変容量制御ピストンポンプ
1か月前
株式会社不二越
X線回折測定装置及びプログラム
1か月前
株式会社不二越
センサシステム及びロボットシステム
17日前
株式会社不二越
超硬合金およびこれを用いた切削工具
10日前
株式会社不二越
歯車加工用合金鋼およびそれを用いた歯車
1か月前
株式会社不二越
直動軸受用合金鋼およびそれを用いた直動軸受
6日前
株式会社不二越
冷間金型用合金鋼およびそれを用いた冷間金型
10日前
個人
タップ
5か月前
個人
フライス盤
1か月前
個人
加工機
5か月前
麗豊実業股フン有限公司
ラクトバチルス・パラカセイNB23菌株及びそれを筋肉量の増加や抗メタボリック症候群に用いる用途
5か月前
日東精工株式会社
ねじ締め機
5か月前
株式会社不二越
ドリル
6か月前
日東精工株式会社
ねじ締め機
25日前
株式会社不二越
ドリル
5か月前
株式会社北川鉄工所
回転装置
4か月前
日東精工株式会社
ねじ締め機
2か月前
日東精工株式会社
ねじ締め機
6か月前
日東精工株式会社
ねじ締め機
1か月前
株式会社ダイヘン
溶接電源装置
3か月前
続きを見る
他の特許を見る