TOP
|
特許
|
意匠
|
商標
特許ウォッチ
Twitter
他の特許を見る
10個以上の画像は省略されています。
公開番号
2025180464
公報種別
公開特許公報(A)
公開日
2025-12-11
出願番号
2024087819
出願日
2024-05-30
発明の名称
切断装置および搬送システム
出願人
株式会社不二越
代理人
個人
主分類
B65B
69/00 20060101AFI20251204BHJP(運搬;包装;貯蔵;薄板状または線条材料の取扱い)
要約
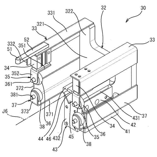
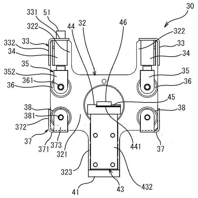
【課題】積層体の外周側面のテープを切断するのに適した切断装置を提供する。
【解決手段】切断装置10は、ロボットアーム22を有する垂直多関節ロボット20と、ロボットアーム22の先端に設けられたロボットハンド30と、を有し、ロボットハンド30にカッタ45が設けられる。切断装置10は、基板等を積層した積層体の外周側面にテープを貼り付けて積層体を一体化したワークを解体する際に、ロボットアーム22の動作によりカッタ45を上記外周側面に沿って移動させ、テープを切断する。
【選択図】図3
特許請求の範囲
【請求項1】
ロボットアームを有する産業用ロボットと、
前記ロボットアームの先端に設けられたロボットハンドと、
を有し、
前記ロボットハンドにカッタが設けられ、
面状の被積層物を積層した積層体の外周側面にテープを貼り付けて前記積層体を一体化したワークを解体する際に、前記ロボットアームの動作により前記カッタを前記外周側面に沿って移動させ、前記テープを切断することを特徴とする切断装置。
続きを表示(約 390 文字)
【請求項2】
前記テープを切断する際、前記積層体の前記被積層物の積層方向における一方側と他方側との各ローラにより前記ワークを挟み込むことを特徴とする請求項1記載の切断装置。
【請求項3】
前記ワークにおける前記積層体の前記被積層物の積層方向における露出面の高さを検出するためのセンサを有することを特徴とする請求項1記載の切断装置。
【請求項4】
前記産業用ロボットは、垂直多関節ロボットであることを特徴とする請求項1記載の切断装置。
【請求項5】
請求項1記載の切断装置と、
前記ワークを、前記切断装置により前記ワークの解体が行われる解体箇所に搬入する搬入装置と、
前記切断装置による前記ワークの解体を行った後、前記被積層物を前記解体箇所から搬出する搬出装置と、
を有することを特徴とする搬送システム。
発明の詳細な説明
【技術分野】
【0001】
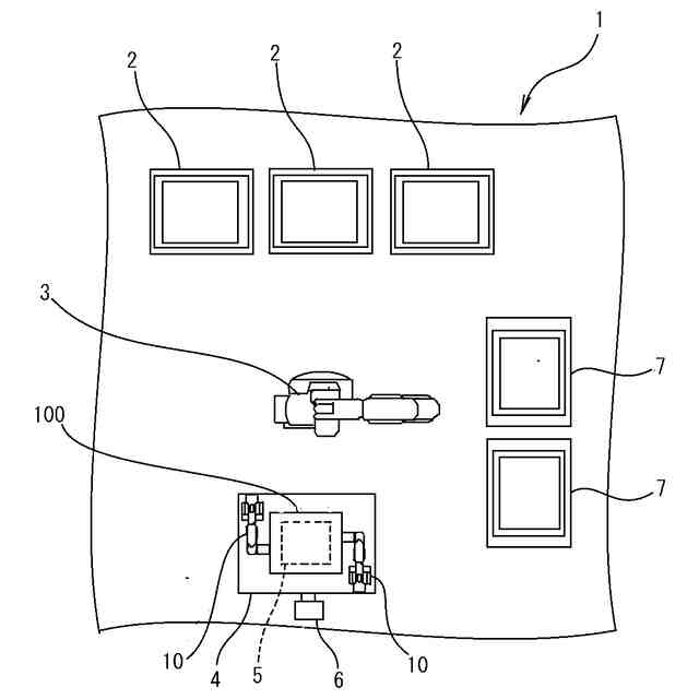
本発明は、テープを切断する切断装置と、切断装置を含む搬送システムに関する。
続きを表示(約 1,100 文字)
【背景技術】
【0002】
半導体基板等の製造の際は、前工程で加工済みの基板を、当該基板を当て板等に積層してシートで覆った梱包状態で仮置き場まで搬送し、次工程での加工に備えることがある。次工程の準備のためには、基板の梱包を事前に解いておくことが望ましい。
【0003】
梱包物の荷解きを行うためのシステムとして、特許文献1に、物を梱包した梱包袋を切断し、梱包袋内部の物を取り出すロボットシステムが記載されている。このシステムでは、ロボットアーム先端のハンドに設けた切断部を梱包袋の上面の一方向に沿って移動させながら、梱包袋の切断を行う。
【0004】
また、特許文献2に、物品を梱包した段ボールを開梱し、段ボール内部の物品を取り出す開梱システムが記載されている。このシステムでも、ロボットアーム先端のハンドに設けたカッタを段ボールの上面の一方向に沿って移動させながら、段ボールの上面のフラップを閉じるテープを切断する。
【先行技術文献】
【特許文献】
【0005】
特開2023-077466号公報
特開2021-046228号公報
【発明の概要】
【発明が解決しようとする課題】
【0006】
ここで、前述した基板の梱包方法として、基板、当て板およびシート等による積層体の外周側面にテープを貼り付けて積層体を一体化する場合がある。この場合、基板の梱包を解くためには、積層体の外周側面のテープを切断する必要がある。
【0007】
この点、前記した特許文献1、2は、梱包袋や段ボールの上面の一方向に沿って切断を行うものであり、積層体の外周側面のテープを切断するのに適したものでは無かった。
【0008】
本発明は上記の課題に鑑みてなされたものであり、積層体の外周側面のテープを切断するのに適した切断装置を提供することを目的とする。
【課題を解決するための手段】
【0009】
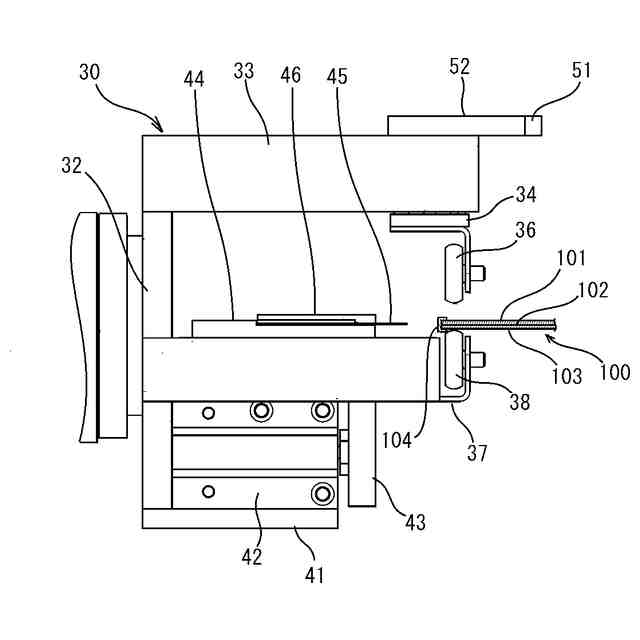
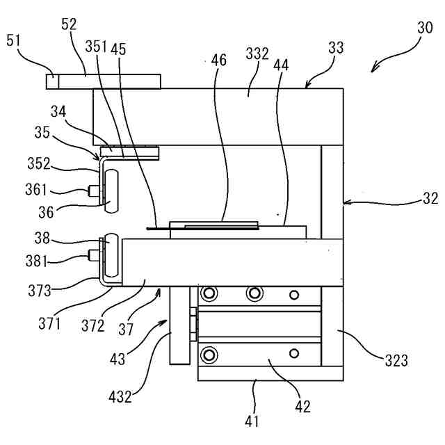
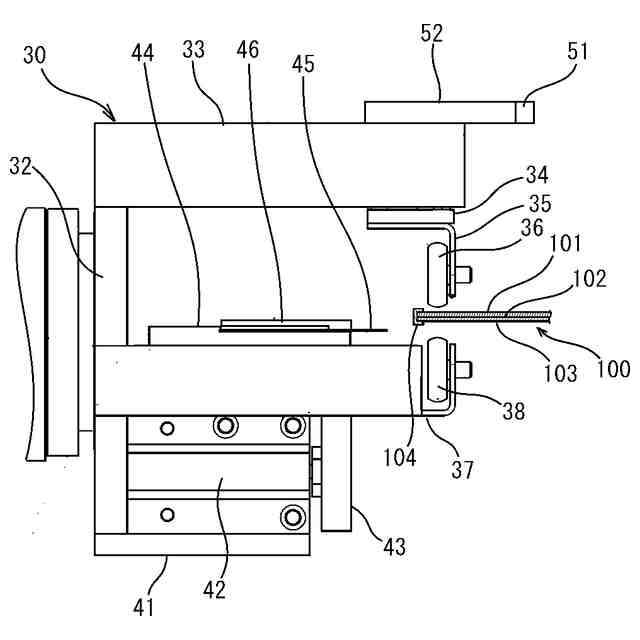
上記の課題を解決するための第1の発明は、ロボットアームを有する産業用ロボットと、前記ロボットアームの先端に設けられたロボットハンドと、を有し、前記ロボットハンドにカッタが設けられ、面状の被積層物を積層した積層体の外周側面にテープを貼り付けて前記積層体を一体化したワークを解体する際に、前記ロボットアームの動作により前記カッタを前記外周側面に沿って移動させ、前記テープを切断することを特徴とする切断装置である。
【0010】
前記切断装置は、前記テープを切断する際、前記積層体の前記被積層物の積層方向における一方側と他方側との各ローラにより前記ワークを挟み込む。
(【0011】以降は省略されています)
この特許をJ-PlatPat(特許庁公式サイト)で参照する
関連特許
他の特許を見る