TOP
|
特許
|
意匠
|
商標
特許ウォッチ
Twitter
他の特許を見る
公開番号
2025125592
公報種別
公開特許公報(A)
公開日
2025-08-28
出願番号
2024021591
出願日
2024-02-16
発明の名称
樹脂シートの押出成形装置及び樹脂シートの押出成形方法
出願人
カナデビア株式会社
代理人
弁理士法人森本国際特許事務所
主分類
B29C
48/92 20190101AFI20250821BHJP(プラスチックの加工;可塑状態の物質の加工一般)
要約
【課題】適切に樹脂シートの状態を判定することができる樹脂シートの押出成形装置及び樹脂シートの押出成形方法を提供する。
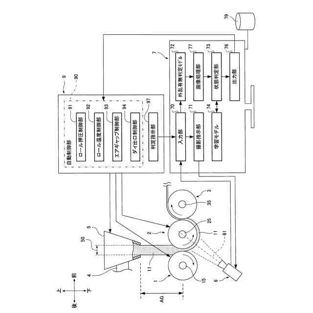
【解決手段】樹脂シートの押出成形装置100は、ダイ5と、一対のロール12と、可視光撮影装置6とを備える。ダイ5は、樹脂シート11を押し出す。樹脂シート11は、シート状の溶融樹脂10である。一対のロール12は、ダイ5からの樹脂シート11を、ダイ5の下方で押圧する。一対のロール12は、第1ロール1と、第2ロール2とを有する。第1ロール1及び第2ロール2は、樹脂シート11を挟んで押圧する。第2ロール2は、押圧した樹脂シート11を密着させながら搬送する。可視光撮影装置6は、第2ロール2と、第2ロール2に密着して搬送される樹脂シート11とを撮影する。
【選択図】図1
特許請求の範囲
【請求項1】
シート状の溶融樹脂である樹脂シートを押し出すダイと、
前記ダイからの前記樹脂シートを前記ダイの下方で押圧する一対のロールと、
前記一対のロールで押圧された前記樹脂シートを撮影する可視光撮影装置と
を備え、
前記一対のロールは、第1ロール及び第2ロールを有し、
前記第1ロール及び前記第2ロールは、前記樹脂シートを挟んで押圧し、
前記第2ロールは、押圧した前記樹脂シートを密着させながら搬送し、
前記可視光撮影装置は、前記第2ロールと、前記第2ロールに密着して搬送される前記樹脂シートとを撮影する、樹脂シートの押出成形装置。
続きを表示(約 1,200 文字)
【請求項2】
シート状の溶融樹脂である樹脂シートを押し出すダイと、
前記ダイからの前記樹脂シートを前記ダイの下方で押圧する一対のロールと、
前記一対のロールで押圧された前記樹脂シートを撮影する可視光撮影装置と
を備え、
前記一対のロールは、第1ロール及び第2ロールを有し、
前記第1ロール及び前記第2ロールは、前記樹脂シートを挟んで押圧し、
前記第2ロールは、押圧した前記樹脂シートを密着させながら搬送し、
前記可視光撮影装置は、撮影する方向を下方から前記第2ロールに向けている、樹脂シートの押出成形装置。
【請求項3】
前記可視光撮影装置への不要な入光を抑制する入光抑制設備をさらに備える、請求項1又は請求項2に記載の樹脂シートの押出成形装置。
【請求項4】
前記可視光撮影装置で撮影された画像の外乱の有無を判定する外乱有無判定モデルをさらに備え、
前記外乱有無判定モデルは、機械学習により生成される、請求項1又は請求項2に記載の樹脂シートの押出成形装置。
【請求項5】
押圧された前記樹脂シートの状態を判定する状態判定部をさらに備え、
前記状態判定部は、前記可視光撮影装置で撮影された画像を、前記状態を判定するために機械学習された学習モデルに入力することで、前記学習モデルから前記状態を判定する、請求項1又は請求項2に記載の樹脂シートの押出成形装置。
【請求項6】
前記樹脂シートを押出成形するための機器を自動制御する自動制御部をさらに備え、
前記自動制御部は、前記状態判定部が前記状態を不良と判定した場合、前記状態の不良を解消するように前記機器を自動制御する、請求項5に記載の樹脂シートの押出成形装置。
【請求項7】
ダイにより、シート状の溶融樹脂である樹脂シートを押し出し、
第1ロール及び第2ロールを有する一対のロールにより、前記ダイからの前記樹脂シートを前記ダイの下方で挟んで押圧し、
前記第2ロールにより、押圧した前記樹脂シートを密着させながら搬送し、
可視光撮影装置により、前記第2ロールと、前記第2ロールに密着して搬送される前記樹脂シートとを撮影する、樹脂シートの押出成形方法。
【請求項8】
ダイにより、シート状の溶融樹脂である樹脂シートを押し出し、
第1ロール及び第2ロールを有する一対のロールにより、前記ダイからの前記樹脂シートを前記ダイの下方で挟んで押圧し、
前記第2ロールにより、押圧した前記樹脂シートを密着させながら搬送し、
撮影する方向を下方から前記第2ロールに向けている可視光撮影装置により、前記一対のロールで押圧された前記樹脂シートを撮影する、樹脂シートの押出成形方法。
発明の詳細な説明
【技術分野】
【0001】
本発明は、樹脂シートの押出成形装置及び樹脂シートの押出成形方法に関する。
続きを表示(約 1,700 文字)
【背景技術】
【0002】
特許文献1に、樹脂シートであるフィルムの製造装置が記載されている。特許文献1に記載のフィルムの製造装置は、欠陥検査システムを備える。
【0003】
特許文献1の図1に示されるように、欠陥検査システムは、フィルム(樹脂シート)を搬送する際に撮影し、撮影された画像に基づいてフィルムの欠陥を検査する。フィルムは、ロール等に貼り付いていない状態で撮影される。
【先行技術文献】
【特許文献】
【0004】
特開2017-215277号公報
【発明の概要】
【発明が解決しようとする課題】
【0005】
特許文献1に記載の装置では、フィルムがロール等に貼り付いていない状態で撮影されるので、後述するタッチ抜けのような欠陥を正確に検査することが不可能である。したがって、特許文献1に記載の装置では、適切にフィルム(樹脂シート)の状態を判定することができない。
【0006】
本発明は、前記課題に鑑みてなされたものであり、適切に樹脂シートの状態を判定することができる樹脂シートの押出成形装置及び樹脂シートの押出成形方法を提供することを目的とする。
【課題を解決するための手段】
【0007】
本発明の第1局面の樹脂シートの押出成形装置は、ダイと、一対のロールと、可視光撮影装置とを備える。ダイは、樹脂シートを押し出す。樹脂シートは、シート状の溶融樹脂である。一対のロールは、ダイからの樹脂シートを、ダイの下方で押圧する。一対のロールは、第1ロールと、第2ロールとを有する。第1ロール及び第2ロールは、樹脂シートを挟んで押圧する。第2ロールは、押圧した樹脂シートを密着させながら搬送する。可視光撮影装置は、第2ロールと、第2ロールに密着して搬送される樹脂シートとを撮影する。
【0008】
本発明の第2局面の樹脂シートの押出成形装置は、ダイと、一対のロールと、可視光撮影装置とを備える。ダイは、樹脂シートを押し出す。樹脂シートは、シート状の溶融樹脂である。一対のロールは、ダイからの樹脂シートを、ダイの下方で押圧する。一対のロールは、第1ロールと、第2ロールとを有する。第1ロール及び第2ロールは、樹脂シートを挟んで押圧する。第2ロールは、押圧した樹脂シートを密着させながら搬送する。可視光撮影装置は、撮影する方向を下方から第2ロールに向けている。
【0009】
本発明の第3局面の樹脂シートの押出成形方法は、樹脂シートを押し出す工程と、樹脂シートを挟んで押圧する工程と、樹脂シートを搬送する工程と、樹脂シートを撮影する工程とを備える。樹脂シートを押し出す工程は、ダイにより、シート状の溶融樹脂である樹脂シートを押し出す。樹脂シートを挟んで押圧する工程は、第1ロール及び第2ロールを有する一対のロールにより、ダイからの樹脂シートをダイの下方で挟んで押圧する。樹脂シートを搬送する工程は、第2ロールにより、押圧した樹脂シートを密着させながら搬送する。樹脂シートを撮影する工程は、可視光撮影装置により、第2ロールと、第2ロールに密着して搬送される樹脂シートとを撮影する。
【0010】
本発明の第4局面の樹脂シートの押出成形方法は、樹脂シートを押し出す工程と、樹脂シートを挟んで押圧する工程と、樹脂シートを搬送する工程と、樹脂シートを撮影する工程とを備える。樹脂シートを押し出す工程は、ダイにより、シート状の溶融樹脂である樹脂シートを押し出す。樹脂シートを挟んで押圧する工程は、第1ロール及び第2ロールを有する一対のロールにより、ダイからの樹脂シートをダイの下方で挟んで押圧する。樹脂シートを搬送する工程は、第2ロールにより、押圧した樹脂シートを密着させながら搬送する。樹脂シートを撮影する工程は、撮影する方向を下方から第2ロールに向けている可視光撮影装置により、一対のロールで押圧された樹脂シートを撮影する。
【発明の効果】
(【0011】以降は省略されています)
この特許をJ-PlatPat(特許庁公式サイト)で参照する
関連特許
カナデビア株式会社
サクション基礎
1か月前
カナデビア株式会社
排ガス処理システム
1か月前
カナデビア株式会社
封止装置および電池製造方法
1か月前
鹿島建設株式会社
塔状構造物
10日前
カナデビア株式会社
全固体電池およびその製造方法
1か月前
カナデビア株式会社
電池製造装置および電池製造方法
1か月前
カナデビア株式会社
電池製造装置および電池製造方法
1か月前
カナデビア株式会社
情報処理装置および情報管理システム
1か月前
カナデビア株式会社
積層型電池および積層型電池の製造方法
1か月前
カナデビア株式会社
線形摩擦接合方法および線形摩擦接合装置
1か月前
カナデビア株式会社
全固体電池の製造方法および電池製造装置
1か月前
カナデビア株式会社
吸収転換触媒及び炭化水素化合物の製造方法
2か月前
カナデビア株式会社
診断装置、診断方法、および診断プログラム
3か月前
カナデビア株式会社
情報処理装置、学習方法、および学習プログラム
1か月前
カナデビア株式会社
情報処理装置、学習方法、および学習プログラム
1か月前
カナデビア株式会社
サクション基礎及びサクション基礎の地盤設置方法
1か月前
カナデビア株式会社
ピーニング方法、ピーニング装置および溶接構造物
23日前
カナデビア株式会社
異常判定システム、異常判定方法及び制御プログラム
18日前
カナデビア株式会社
異常検知システム、異常検知方法、及び制御プログラム
2か月前
カナデビア株式会社
樹脂シートの押出成形装置及び樹脂シートの押出成形方法
3か月前
カナデビア株式会社
制御装置、水電解システム、制御方法および制御プログラム
1か月前
カナデビア株式会社
被分離流体が流れる通路形成用の外管及びこれを用いた分離装置
2日前
カナデビア株式会社
情報処理装置、情報処理プログラム、情報処理システムおよび情報端末装置
1か月前
カナデビア株式会社
スケジュール管理装置、スケジュール管理方法、及びスケジュール管理プログラム
2か月前
国立大学法人 奈良先端科学技術大学院大学
データ作成システムおよびデータ作成方法
2か月前
個人
気泡緩衝材減容装置
2か月前
豊田鉄工株式会社
金型
4か月前
CKD株式会社
型用台車
11か月前
シーメット株式会社
光造形装置
11か月前
東レ株式会社
フィルムの製造方法
8か月前
東レ株式会社
フィルムの製造方法
5か月前
グンゼ株式会社
ピン
11か月前
株式会社 型善
射出成形型
11日前
東レ株式会社
フィルムの製造方法
4か月前
株式会社カワタ
計量混合装置
6か月前
東レ株式会社
フィルムの製造方法。
4か月前
続きを見る
他の特許を見る