TOP
|
特許
|
意匠
|
商標
特許ウォッチ
Twitter
他の特許を見る
10個以上の画像は省略されています。
公開番号
2025146158
公報種別
公開特許公報(A)
公開日
2025-10-03
出願番号
2024046790
出願日
2024-03-22
発明の名称
電池製造装置および電池製造方法
出願人
カナデビア株式会社
代理人
弁理士法人 HARAKENZO WORLD PATENT & TRADEMARK
主分類
H01M
10/0585 20100101AFI20250926BHJP(基本的電気素子)
要約
【課題】積層体の端部崩れを緩和するために用いる部材の損傷を軽減する。
【解決手段】電池製造装置(1)は、正極層と、負極層と、正極層および負極層の間に介在する固体電解質層とが積層された積層体(10)を加圧成形する。電池製造装置(1)は、積層体(10)の厚み方向に重ねられる複数の積層体(10)を厚み方向に加圧するプレスピン(31,32)と、少なくとも一部が2つの積層体(10)に挟持される挟持部、当該挟持部の周囲に当該挟持部と間隔をおいて設けられた周囲部、および前記挟持部と前記周囲部とに接続され、前記挟持部より低い剛性の中間部を有する挟持板(6)と、を備える。
【選択図】図2
特許請求の範囲
【請求項1】
第1電極層と、前記第1電極層の極性と反対の極性を有する第2電極層と、前記第1電極層および前記第2電極層の間に介在する固体電解質層とが積層された積層体を加圧成形する電池製造装置であって、
前記積層体の厚み方向に重ねられる複数の前記積層体を前記厚み方向に加圧する加圧部と、
少なくとも一部が2つの前記積層体に挟持される挟持部、当該挟持部の周囲に当該挟持部と間隔をおいて設けられた周囲部、および前記挟持部と前記周囲部とに接続され、前記挟持部より低い剛性の中間部を有する挟持板と、を備える、電池製造装置。
続きを表示(約 540 文字)
【請求項2】
前記中間部は弾性を有する、請求項1に記載の電池製造装置。
【請求項3】
前記挟持部の前記積層体と接する側の第1面の面積は、前記積層体における前記第1電極層および前記第2電極層が前記固体電解質層と接する積層面に沿った表面である第2面の面積以上である、請求項1または2に記載の電池製造装置。
【請求項4】
前記挟持板は、前記積層体を間において対向する前記挟持板との位置を決める位置決め構造を有している、請求項1または2に記載の電池製造装置。
【請求項5】
第1電極層と、前記第1電極層の極性と反対の極性を有する第2電極層と、前記第1電極層および前記第2電極層の間に介在する固体電解質層とが積層された積層体を加圧成形する電池製造方法であって、
前記積層体と、少なくとも一部が2つの前記積層体に挟持される挟持部、当該挟持部の周囲に当該挟持部と間隔をおいて設けられた周囲部、および前記挟持部と前記周囲部とに接続され、前記挟持部より低い剛性の中間部を有する挟持板とを、前記積層体の厚み方向に交互に積層する積層工程と、
積層された前記積層体および前記挟持板を前記厚み方向に加圧する加圧工程と、を含む、電池製造方法。
発明の詳細な説明
【技術分野】
【0001】
本発明は、電池製造方法に関する。
続きを表示(約 2,000 文字)
【背景技術】
【0002】
全固体電池は、正極層、固体電解質層および負極層が積層された積層体を含んで構成されている。このような積層体における各層は、粉体材料により形成されており、加圧により成形される。積層体の加圧成形においては、タクトタイムの短縮等のために、複数の積層体を積層体の厚み方向に積み上げて、これらの積層体を厚み方向に加圧することが行なわれる。圧縮性の高い粉体材料を加圧成形すると、粉体材料が大きく変形するため、積層体における各層の端部が崩れることがある。特に、積層体における積層面の面積が大きくなるほど、各層の端部が崩れやすい。
【0003】
これに対し、例えば、特許文献1には、積層体と導電性剛体とが交互に積層された全固体電池をプレス処理したときに、導電性剛体により挟持される積層体において圧延による破壊を抑制することが記載されている。導電性剛体は、全固体電池に組み込まれる導電性材料としての機能を有するとともに、積層体に作用する加圧力を吸収するように、プレス処理により塑性変形するステンレス鋼により形成されることが好ましい。
【先行技術文献】
【特許文献】
【0004】
特開2022-139307号公報
【発明の概要】
【発明が解決しようとする課題】
【0005】
しかしながら、複数の積層体を上記のように積み上げて加圧する装置において、導電性剛体のような部材を積層体の端部崩れを緩和するために用いた場合、当該部材が、塑性変形すると、再利用できなくなる。また、当該部材が塑性変形しない高剛性の部材であれば再利用が可能であるが、高剛性であるために加圧による応力が当該部材の端部に集中して、当該部材が損傷するという問題がある。
【0006】
本発明の一態様は、積層体の端部崩れを緩和するために用いる部材の損傷を軽減することを目的とする。
【課題を解決するための手段】
【0007】
上記の課題を解決するために、本発明の一態様に係る電池製造装置は、第1電極層と、前記第1電極層の極性と反対の極性を有する第2電極層と、前記第1電極層および前記第2電極層の間に介在する固体電解質層とが積層された積層体を加圧成形する電池製造装置であって、前記積層体の厚み方向に重ねられる複数の前記積層体を前記厚み方向に加圧する加圧部と、少なくとも一部が2つの前記積層体に挟持される挟持部、当該挟持部の周囲に当該挟持部と間隔をおいて設けられた周囲部、および前記挟持部と前記周囲部とに接続され、前記挟持部より低い剛性の中間部を有する挟持板と、を備える。
【0008】
上記の課題を解決するために、本発明の一態様に係る電池製造方法は、第1電極層と、前記第1電極層の極性と反対の極性を有する第2電極層と、前記第1電極層および前記第2電極層の間に介在する固体電解質層とが積層された積層体を加圧成形する電池製造方法であって、前記積層体と、少なくとも一部が2つの前記積層体に挟持される挟持部、当該挟持部の周囲に当該挟持部と間隔をおいて設けられた周囲部、および前記挟持部と前記周囲部とに接続され、前記挟持部より低い剛性の中間部を有する挟持板とを、前記積層体の厚み方向に交互に積層する積層工程と、積層された前記積層体および前記挟持板を前記厚み方向に加圧する加圧工程と、を含む。
【発明の効果】
【0009】
本発明の一態様によれば、積層体の端部崩れを緩和するために用いる部材の損傷を軽減することができる。
【図面の簡単な説明】
【0010】
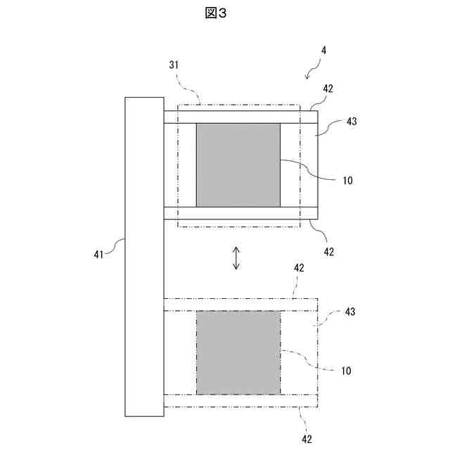
本発明の一実施形態に係る電池製造装置により製造される全固体電池を構成する積層体の構成を示す側面図である。
上記電池製造装置の構成を示す正面図である。
上記電池製造装置に設けられるハンドリングロボットの構成を示す平面図である。
上記電池製造装置に設けられる供給機の構成を示す平面図である。
上記電池製造装置の一部として設けられる挟持板の構成を示す平面図である。
図5のA-A線矢視断面図である。
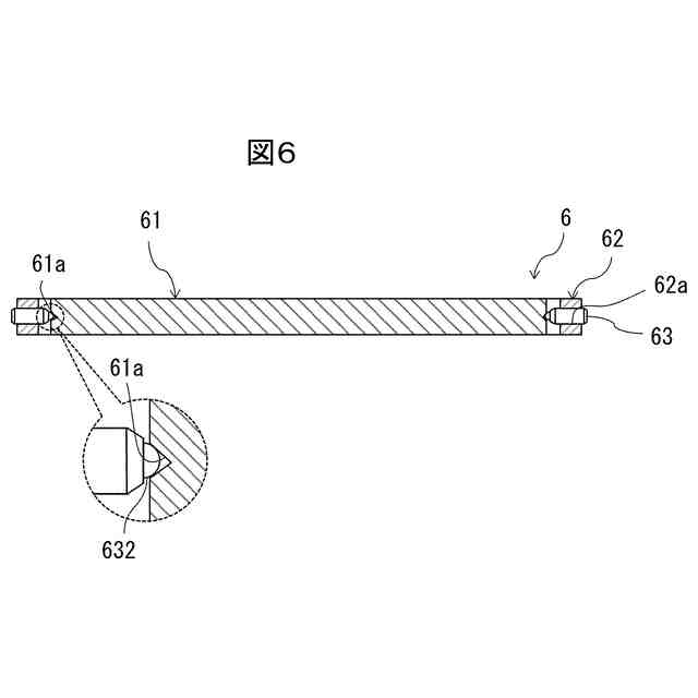
上記挟持板に設けられるプランジャの構成を示す正面図である。
上記挟持板に設けられるプランジャの構成を示す縦断面図である。
上記挟持板に設けられるプランジャの構成を示す他の縦断面図である。
上記全固体電池の製造における上記電池製造装置による積層体の積層工程を示す図である。
上記全固体電池の製造における上記電池製造装置による積層体の加圧工程を示す図である。
実施形態の変形例に係る挟持板の構成を示す平面図である。
実施形態の他の変形例に係る挟持板の構成を示す平面図である。
【発明を実施するための形態】
(【0011】以降は省略されています)
この特許をJ-PlatPat(特許庁公式サイト)で参照する
関連特許
カナデビア株式会社
サクション基礎
9日前
カナデビア株式会社
封止装置および電池製造方法
15日前
カナデビア株式会社
全固体電池およびその製造方法
10日前
カナデビア株式会社
電池製造装置および電池製造方法
11日前
カナデビア株式会社
電池製造装置および電池製造方法
15日前
カナデビア株式会社
情報処理装置および情報管理システム
8日前
カナデビア株式会社
積層型電池および積層型電池の製造方法
9日前
カナデビア株式会社
全固体電池の製造方法および電池製造装置
9日前
カナデビア株式会社
線形摩擦接合方法および線形摩擦接合装置
10日前
カナデビア株式会社
吸収転換触媒及び炭化水素化合物の製造方法
1か月前
カナデビア株式会社
診断装置、診断方法、および診断プログラム
1か月前
カナデビア株式会社
情報処理装置、学習方法、および学習プログラム
11日前
カナデビア株式会社
情報処理装置、学習方法、および学習プログラム
8日前
カナデビア株式会社
異常検知システム、異常検知方法、及び制御プログラム
19日前
カナデビア株式会社
樹脂シートの押出成形装置及び樹脂シートの押出成形方法
1か月前
カナデビア株式会社
制御装置、水電解システム、制御方法および制御プログラム
9日前
カナデビア株式会社
情報処理装置、情報処理プログラム、情報処理システムおよび情報端末装置
8日前
カナデビア株式会社
情報処理装置、形状差分モデルの生成方法、推定方法、および推定プログラム
2か月前
カナデビア株式会社
スケジュール管理装置、スケジュール管理方法、及びスケジュール管理プログラム
17日前
国立大学法人 奈良先端科学技術大学院大学
データ作成システムおよびデータ作成方法
29日前
個人
フレキシブル電気化学素子
8日前
日本発條株式会社
積層体
19日前
ローム株式会社
半導体装置
17日前
ローム株式会社
半導体装置
17日前
ローム株式会社
半導体装置
10日前
ローム株式会社
半導体装置
15日前
日新イオン機器株式会社
イオン源
4日前
ローム株式会社
半導体装置
17日前
個人
防雪防塵カバー
19日前
株式会社ユーシン
操作装置
8日前
個人
半導体パッケージ用ガラス基板
18日前
株式会社GSユアサ
蓄電設備
8日前
株式会社GSユアサ
蓄電装置
19日前
株式会社ホロン
冷陰極電子源
15日前
株式会社ホロン
冷陰極電子源
2日前
株式会社GSユアサ
蓄電装置
15日前
続きを見る
他の特許を見る