TOP
|
特許
|
意匠
|
商標
特許ウォッチ
Twitter
他の特許を見る
10個以上の画像は省略されています。
公開番号
2025152244
公報種別
公開特許公報(A)
公開日
2025-10-09
出願番号
2024054054
出願日
2024-03-28
発明の名称
全固体電池の製造方法および電池製造装置
出願人
カナデビア株式会社
代理人
弁理士法人 HARAKENZO WORLD PATENT & TRADEMARK
主分類
H01M
10/0585 20100101AFI20251002BHJP(基本的電気素子)
要約
【課題】位置決めの解除後にも集電体に対して電極体を適正な位置に保持する。
【解決手段】全固体電池の製造方法は、電極体(3)と、開口(42a)を囲むように配された複数の貫通口(4a)を有する集電体(4)とを、載置テーブル(63)の載置面(63a)上に交互に積層する積層工程であって、複数の貫通口(4a)の個々に合致する位置において、開口(42a)に接し、かつ載置面(63a)に垂直な方向に伸びる複数の位置決め部材(64)の個々を、それぞれ対応する複数の貫通口(4a)の個々に通すように集電体4を配置する第1配置工程と、集電体(4)の開口(42a)に、電極体(3)を複数の位置決め部材(64)に沿うように配置する第2配置工程と、を複数回繰り返す積層工程と、積層された電極体(3)および集電体(4)の積層状態を固定する固定工程と、位置決め部材(64)を貫通口(4a)から抜く抜去工程とを含む。
【選択図】図5
特許請求の範囲
【請求項1】
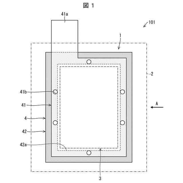
互いに極性の異なる2つの電極層と当該2つの電極層の間に介在する固体電解質層とが積層された電極体と、
開口が設けられた絶縁部材を有し、前記開口を囲むように配された複数の貫通口が形成されている集電体と、
を、載置台の載置面上に交互に積層する積層工程であって、
前記複数の貫通口の個々に合致する位置において、前記開口に接し、かつ前記載置面に垂直な方向に伸びるように前記載置台に設けられた複数の位置決め部材の個々を、それぞれ対応する前記複数の貫通口の個々に通すように前記集電体を配置する第1配置工程と、
前記集電体の前記開口に、前記電極体を前記複数の位置決め部材に沿うように配置する第2配置工程と、を複数回繰り返す積層工程と、
前記積層工程後に、積層された前記電極体および前記集電体の積層状態を固定する固定工程と、
前記固定工程後に、前記複数の位置決め部材を前記複数の貫通口から抜く抜去工程と、を含む、全固体電池の製造方法。
続きを表示(約 850 文字)
【請求項2】
前記積層工程において、前記載置面から延出する前記複数の位置決め部材の長さを前記集電体および前記電極体が積層されている高さよりも長くなるように調整する、請求項1に記載の全固体電池の製造方法。
【請求項3】
前記複数の位置決め部材は、少なくとも表面が電気絶縁性を有する、請求項1または2に記載の全固体電池の製造方法。
【請求項4】
前記複数の位置決め部材は、棒状に形成されている、請求項1または2に記載の全固体電池の製造方法。
【請求項5】
前記複数の位置決め部材は、板状に形成されている、請求項1または2に記載の全固体電池の製造方法。
【請求項6】
互いに極性の異なる2つの電極層と当該2つの電極層の間に介在する固体電解質層とが積層された電極体と、開口が設けられた絶縁部材を有し、前記開口を囲むように配された複数の貫通口が形成されている集電体とが交互に積層された全固体電池を製造する電池製造装置であって、
前記電極体および前記集電体が載置される載置面を有する載置台と、
前記複数の貫通口の個々に合致する位置において、前記開口に接し、かつ前記載置面に垂直な方向に伸びるように前記載置台に設けられた複数の位置決め部材と、を備える、電池製造装置。
【請求項7】
前記載置面から延出する前記複数の位置決め部材の長さを調整するように前記複数の位置決め部材を昇降させる昇降機構をさらに備える、請求項6に記載の電池製造装置。
【請求項8】
前記複数の位置決め部材は、少なくとも表面が電気絶縁性を有する、請求項6または7に記載の電池製造装置。
【請求項9】
前記複数の位置決め部材は、棒状に形成されている、請求項6または7に記載の電池製造装置。
【請求項10】
前記複数の位置決め部材は、板状に形成されている、請求項6または7に記載の電池製造装置。
発明の詳細な説明
【技術分野】
【0001】
本発明は、全固体電池の製造方法等に関する。
続きを表示(約 1,700 文字)
【背景技術】
【0002】
固体電解質層を含む全固体電池の高容量化を目的として、正極層、固体電解質層および負極層が積層された複数の電極体(電池単体)を並列接続するように積層することがある。このような積層構造では、隣り合う2つの電極体の間に、これらの電極体の電極層と接触するように集電体が配置される。このため、全固体電池の製造においては、電極体と集電体とを交互に積層する。
【0003】
また、電極体の端部を保護したり他の電極体との短絡を防止したりするために、集電体の外周部に絶縁部材を設けることがある。このような集電体に電極体を重ねるには、絶縁部材の開口内に電極体を配置する。
【0004】
絶縁部材は電極体の厚みとほぼ同じ厚みを有するので、電極体が平らに形成されていれば、電極体が絶縁部材の開口内に適正に収まる。しかしながら、電極体が反りのように変形していると、電極体が集電体上で部分的に浮いた状態になり、絶縁部材の開口に適正に収まりきらない。このため、絶縁部材の開口内に変形した電極体を配置した状態で、その上に集電体を重ねると、電極体の集電体に対する位置がずれやすくなる。このような観点から、集電体上での電極体の位置決めが必要となる。
【0005】
位置決めに関して、例えば、特許文献1には、セパレータ上に、正極板または負極板をその周縁がピンに接触するように重ねることにより、正極板または負極板がセパレータに対して上下左右方向において位置決めされ、後にピンが抜かれることが記載されている。
【先行技術文献】
【特許文献】
【0006】
特開2001-102050号公報
【発明の概要】
【発明が解決しようとする課題】
【0007】
しかしながら、特許文献1には、集電体に対する電極体の位置決めについては記載されていない。また、このような位置決めを集電体に対する電極体の位置決めに適用しても、位置決め後にピンが抜かれるため、集電体に対する電極体の位置がずれる可能性がある。
【0008】
本発明の一態様は、位置決めの解除後にも集電体に対して電極体を適正な位置に保持することを目的とする。
【課題を解決するための手段】
【0009】
上記の課題を解決するために、本発明の一態様に係る全固体電池の製造方法は、互いに極性の異なる2つの電極層と当該2つの電極層の間に介在する固体電解質層とが積層された電極体と、開口が設けられた絶縁部材を有し、前記開口を囲むように配された複数の貫通口が形成されている集電体と、を、載置台の載置面上に交互に積層する積層工程であって、前記複数の貫通口の個々に合致する位置において、前記開口に接し、かつ前記載置面に垂直な方向に伸びるように前記載置台に設けられた複数の位置決め部材の個々を、それぞれ対応する前記複数の貫通口の個々に通すように前記集電体を配置する第1配置工程と、前記集電体の前記開口に、前記電極体を前記複数の位置決め部材に沿うように配置する第2配置工程と、を複数回繰り返す積層工程と、前記積層工程後に、積層された前記電極体および前記集電体の積層状態を固定する固定工程と、前記固定工程後に、前記複数の位置決め部材を前記複数の貫通口から抜く抜去工程と、を含む。
【0010】
上記の課題を解決するために、本発明の一態様に係る電池製造装置は、互いに極性の異なる2つの電極層と当該2つの電極層の間に介在する固体電解質層とが積層された電極体と、開口が設けられた絶縁部材を有し、前記開口を囲むように配された複数の貫通口が形成されている集電体とが交互に積層された全固体電池を製造する電池製造装置であって、前記電極体および前記集電体が載置される載置面を有する載置台と、前記複数の貫通口の個々に合致する位置において、前記開口に接し、かつ前記載置面に垂直な方向に伸びるように前記載置台に設けられた複数の位置決め部材と、を備える。
【発明の効果】
(【0011】以降は省略されています)
この特許をJ-PlatPat(特許庁公式サイト)で参照する
関連特許
カナデビア株式会社
サクション基礎
9日前
カナデビア株式会社
封止装置および電池製造方法
15日前
カナデビア株式会社
全固体電池およびその製造方法
10日前
カナデビア株式会社
電池製造装置および電池製造方法
11日前
カナデビア株式会社
電池製造装置および電池製造方法
15日前
カナデビア株式会社
情報処理装置および情報管理システム
8日前
カナデビア株式会社
積層型電池および積層型電池の製造方法
9日前
カナデビア株式会社
全固体電池の製造方法および電池製造装置
9日前
カナデビア株式会社
線形摩擦接合方法および線形摩擦接合装置
10日前
カナデビア株式会社
情報処理装置、学習方法、および学習プログラム
8日前
カナデビア株式会社
情報処理装置、学習方法、および学習プログラム
11日前
カナデビア株式会社
異常検知システム、異常検知方法、及び制御プログラム
19日前
カナデビア株式会社
制御装置、水電解システム、制御方法および制御プログラム
9日前
カナデビア株式会社
情報処理装置、情報処理プログラム、情報処理システムおよび情報端末装置
8日前
カナデビア株式会社
スケジュール管理装置、スケジュール管理方法、及びスケジュール管理プログラム
17日前
国立大学法人 奈良先端科学技術大学院大学
データ作成システムおよびデータ作成方法
29日前
個人
フレキシブル電気化学素子
8日前
日新イオン機器株式会社
イオン源
4日前
ローム株式会社
半導体装置
15日前
株式会社ユーシン
操作装置
8日前
ローム株式会社
半導体装置
10日前
株式会社ホロン
冷陰極電子源
2日前
株式会社GSユアサ
蓄電設備
8日前
株式会社GSユアサ
蓄電設備
8日前
太陽誘電株式会社
コイル部品
8日前
太陽誘電株式会社
全固体電池
15日前
株式会社ホロン
冷陰極電子源
15日前
オムロン株式会社
電磁継電器
9日前
株式会社GSユアサ
蓄電装置
15日前
TDK株式会社
電子部品
15日前
日本特殊陶業株式会社
保持装置
15日前
トヨタ自動車株式会社
蓄電装置
8日前
日本特殊陶業株式会社
保持装置
17日前
日東電工株式会社
積層体
9日前
ノリタケ株式会社
熱伝導シート
8日前
サクサ株式会社
電池の固定構造
8日前
続きを見る
他の特許を見る