TOP
|
特許
|
意匠
|
商標
特許ウォッチ
Twitter
他の特許を見る
公開番号
2025174528
公報種別
公開特許公報(A)
公開日
2025-11-28
出願番号
2024080950
出願日
2024-05-17
発明の名称
被分離流体が流れる通路形成用の外管及びこれを用いた分離装置
出願人
カナデビア株式会社
代理人
個人
,
個人
,
個人
主分類
B01D
63/06 20060101AFI20251120BHJP(物理的または化学的方法または装置一般)
要約
【課題】無機膜が形成された膜分離材と外管とを組み合わせて分離膜モジュール組み立てる際に、無機膜が損傷を受けることが少ない被分離流体が流れる通路形成用の外管を提供すること。
【解決手段】管状支持体の表面に無機膜が形成された膜分離材30が挿入され、被分離流体が流れる通路形成用の外管31であって、当該外管の内面が平滑化された平滑面を有する。
【選択図】図1
特許請求の範囲
【請求項1】
管状支持体の表面に無機膜が形成された膜分離材が挿入され、被分離流体が流れる通路形成用の外管であって、
当該外管の内面が平滑化された平滑面を有することを特徴とする通路形成用の外管。
続きを表示(約 770 文字)
【請求項2】
前記平滑面が研磨面、または、樹脂コーティング層の表面である請求項1に記載の通路形成用の外管。
【請求項3】
被分離流体を分離する分離装置であって、
タンクの内部を、第1空間及び第2空間の2つの空間に仕切る管板と、
前記第1空間と連通する原料流体入口と第1流体出口を備える前記タンクの本体と、
前記第2空間と連通する第2流体出口を備え、前記本体と合わさって、前記タンクとなる蓋体と、
管状支持体の表面に無機膜が形成された膜分離材であって、一端が前記第2空間と連通し、他端が前記第1空間内で密封される膜分離材と、
前記膜分離材が挿入され、被分離流体が流れる通路形成用の外管であって、両端が前記第1空間に連通する外管と、を備え、
前記膜分離材が挿入された前記外管が、複数本前記タンク内に配設され、前記外管の内面が平滑化された平滑面となっており、
前記無機膜を透過した前記被分離流体が前記第2流体出口から流出し、前記無機膜を透過しない前記被分離流体が前記第1流体出口から流出する分離装置。
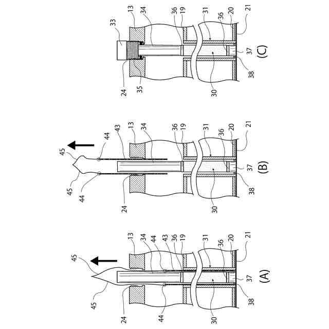
【請求項4】
前記外管は、当該外管の内部に内筒材を備え、前記平滑面が前記内筒材の内面に形成され、前記膜分離材が前記外管に装着されたのちに、前記内筒材を前記タンクの本体から抜き取るためのワイヤーおよび係止部が前記内筒材の端部に形成されていることを特徴とする請求項3に記載の分離装置。
【請求項5】
前記外管は、当該外管の内部に内筒材を備え、前記平滑面が前記内筒材の内面に形成され、前記内筒材は、前記膜分離材が前記外管に装着されたのちに、前記タンクの本体から抜き取られるための余長を有していることを特徴とする請求項3に記載の分離装置。
発明の詳細な説明
【技術分野】
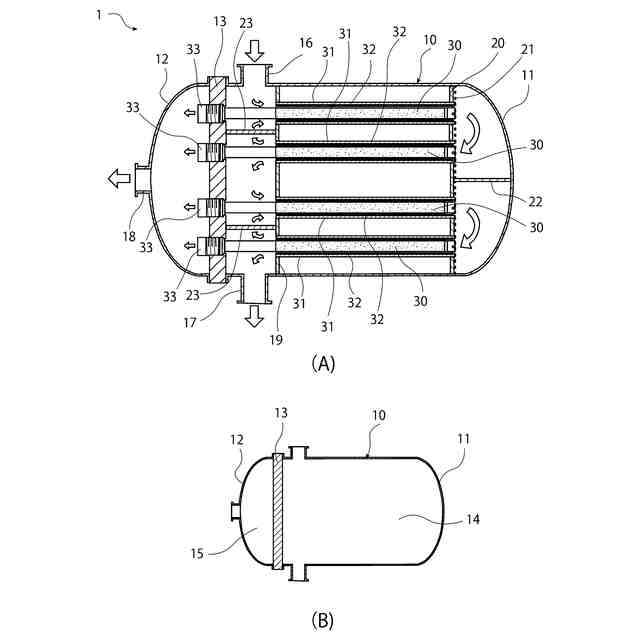
【0001】
この発明は、管状支持体の表面に無機膜が形成された膜分離材が挿入され、被分離流体が流れる通路形成用の外管及びこれを用いた分離装置に関する。無機膜には、ゼオライト膜やシリカライト膜等がある。
続きを表示(約 1,400 文字)
【背景技術】
【0002】
例えば、ゼオライト結晶は、結晶中に分子サイズ程度の細孔を有し、ゼオライトの分子の大きさや、形状により分子を選択的に透過させる分子ふるいの性質を有している。ゼオライトは、この分子ふるいの性質を利用してガス分離膜や、逆透気化分離、逆浸透分離、ガスセンサー等への分野に応用されている。とりわけ、ゼオライト膜を、水と有機溶剤等を含む混合液から有機溶剤等を分離する分離膜として利用することが現在注目されている。
【0003】
前記ゼオライトを用いた分離膜により、有機溶剤を分離する分離膜モジュールとしては、垂直管状の分離膜と、分離膜の上端に接続された垂直筒状上エンドピースと、分離膜の下端に接続された垂直ロッド状下エンドピースとを備える特許文献1に記載のものが知られている。
【0004】
特許文献1に記載の分離膜は、アルミナ等の管状支持体の表面にゼオライト膜が形成されたもので、このゼオライト膜を透過する成分の流体と、透過しない成分の流体に分けられることによって、被分離流体は成分に分けられる。
【0005】
被分離流体は外管と筒状の分離膜との間を通り、分離膜に接触した被分離流体の内、ゼオライト膜の結晶細孔を通過した流体は、分離モジュールの内部の中空穴を通って流出し、ゼオライト膜の結晶細孔を通過できなかった成分の被分離流体は、分離膜と外管との間の隙間を通って流れ出る。
【先行技術文献】
【特許文献】
【0006】
特開2013-212509号公報
【発明の概要】
【発明が解決しようとする課題】
【0007】
ゼオライト膜が安定した性能を発揮するためには、製造時のままの結晶皮膜が支持体表面に形成された状態を維持する必要があり、例えば、モジュール組立時にゼオライト膜と外管が接触してゼオライト膜の表面に傷がつくと、その傷が結晶細孔に変化を与えて性能低下につながる。
被分離流体がガスの場合、分離に使用する駆動力は圧力であり、樹脂材料では耐圧に問題があるため、外管には金属材料を使用する必要がある。その際、金属製外管の内面はある程度の面粗さを有し、この面にゼオライト膜が接触すると、ゼオライト膜の結晶細孔に傷が入り、分離性能が低下する。
【0008】
本発明は、かかる点に鑑みてなされたものであり、その目的は、ゼオライト膜やシリカライト膜等の無機膜が形成された膜分離材と被分離流体が流れる通路形成用の外管とを組み合わせて分離膜モジュールを組み立てる際に、無機膜が損傷を受けることが少ない外管を提供することにある。
【課題を解決するための手段】
【0009】
上記課題を解決するためになされた本発明(1)は、管状支持体の表面に無機膜が形成された膜分離材が挿入され、被分離流体が流れる通路形成用の外管であって、当該外管の内面が平滑化された平滑面を有することを特徴とする外管である。
【0010】
外管の内面に平滑化された平滑面が形成されているので、膜分離材を外管に挿入する際に、膜分離材と外管の内面が接触したとしても無機膜が傷つく可能性が低減されて、分離膜モジュールの組み立てが容易となる。
(【0011】以降は省略されています)
この特許をJ-PlatPat(特許庁公式サイト)で参照する
関連特許
カナデビア株式会社
サクション基礎
1か月前
カナデビア株式会社
排ガス処理システム
1か月前
カナデビア株式会社
封止装置および電池製造方法
1か月前
カナデビア株式会社
全固体電池およびその製造方法
1か月前
鹿島建設株式会社
塔状構造物
9日前
カナデビア株式会社
電池製造装置および電池製造方法
1か月前
カナデビア株式会社
電池製造装置および電池製造方法
1か月前
カナデビア株式会社
情報処理装置および情報管理システム
1か月前
カナデビア株式会社
積層型電池および積層型電池の製造方法
1か月前
カナデビア株式会社
全固体電池の製造方法および電池製造装置
1か月前
カナデビア株式会社
線形摩擦接合方法および線形摩擦接合装置
1か月前
カナデビア株式会社
情報処理装置、学習方法、および学習プログラム
1か月前
カナデビア株式会社
情報処理装置、学習方法、および学習プログラム
1か月前
カナデビア株式会社
サクション基礎及びサクション基礎の地盤設置方法
1か月前
カナデビア株式会社
ピーニング方法、ピーニング装置および溶接構造物
22日前
カナデビア株式会社
異常判定システム、異常判定方法及び制御プログラム
17日前
カナデビア株式会社
異常検知システム、異常検知方法、及び制御プログラム
2か月前
カナデビア株式会社
制御装置、水電解システム、制御方法および制御プログラム
1か月前
カナデビア株式会社
被分離流体が流れる通路形成用の外管及びこれを用いた分離装置
1日前
カナデビア株式会社
情報処理装置、情報処理プログラム、情報処理システムおよび情報端末装置
1か月前
カナデビア株式会社
スケジュール管理装置、スケジュール管理方法、及びスケジュール管理プログラム
1か月前
国立大学法人 奈良先端科学技術大学院大学
データ作成システムおよびデータ作成方法
2か月前
株式会社西部技研
除湿装置
1か月前
株式会社日本触媒
ドロー溶質
1か月前
プライミクス株式会社
攪拌装置
9日前
日本バイリーン株式会社
フィルタ
23日前
サンノプコ株式会社
消泡剤
1か月前
東レ株式会社
遠心ポッティング方法
1か月前
トヨタ自動車株式会社
濾過装置
24日前
株式会社切川物産
撹拌装置
10日前
トヨタ紡織株式会社
フィルタ
3日前
栗田工業株式会社
ギ酸の回収方法
10日前
個人
気液混合装置
1か月前
トヨタ紡織株式会社
水流帯電装置
3日前
松岡紙業 株式会社
油吸着体の製造方法
1か月前
大和ハウス工業株式会社
反応装置
1か月前
続きを見る
他の特許を見る