TOP
|
特許
|
意匠
|
商標
特許ウォッチ
Twitter
他の特許を見る
10個以上の画像は省略されています。
公開番号
2025124864
公報種別
公開特許公報(A)
公開日
2025-08-26
出願番号
2025094563,2023198780
出願日
2025-06-06,2015-11-03
発明の名称
電子蒸気吸入器
出願人
ジェイティー インターナショナル エスエイ
代理人
個人
,
個人
,
個人
,
個人
主分類
A24F
40/57 20200101AFI20250819BHJP(たばこ;葉巻たばこ;紙巻たばこ;喫煙具)
要約
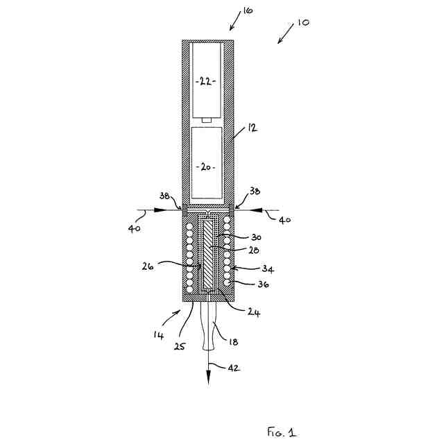
【課題】電子蒸気吸入器との使用のための香味放出媒体を有し、香味放出媒体が、ユーザによる吸入のための蒸気を生じさせるために加熱され得るカートリッジに関連する。
【解決手段】電子蒸気吸入器10のためのカートリッジ26であって、長尺の誘導加熱可能要素28、および長尺の誘導加熱可能要素28の表面に付着される香味放出媒体30を備えるカートリッジ26。
【選択図】図1
特許請求の範囲
【請求項1】
チャンバであって、ユーザが前記チャンバにカートリッジを配置することができるように構成されるチャンバと、
前記チャンバの周囲に延在するように配置される誘導コイルと、
前記チャンバの内部の温度を測定するように構成される温度センサと、
前記チャンバの内部を所定の温度に維持するために前記温度センサによって測定された前記温度に基づいて前記誘導コイルの動作を制御するように構成される制御装置と、を備える、電子蒸気吸入器。
発明の詳細な説明
【技術分野】
【0001】
本開示は、概して、電子蒸気吸入器に関連し、特に、電子蒸気吸入器との使用のための香味放出媒体を有し、香味放出媒体が、ユーザによる吸入のための蒸気を生じさせるために加熱され得るカートリッジに関連する。
続きを表示(約 1,700 文字)
【背景技術】
【0002】
タバコ、葉巻、およびパイプなどの従来の喫煙品の代替品として使用され得る電子蒸気吸入器(電子タバコ、電子シガレット、パーソナル・ベーパライザーとしても知られる)は、ますます一般的になり、普及してきている。通常、電池式である電子蒸気吸入器は、ユーザによって吸入され得るニコチンを含む蒸気を生むために、ニコチンを含む液体を加熱し、霧化する。蒸気は、ニコチンを肺に送達させるために、マウスピースを通して吸入され、ユーザによって吐き出された蒸気は、一般的に、従来の喫煙品の煙の形態を模倣する。蒸気の吸入は、従来の喫煙に類似の身体的感覚を生むが、燃焼を起こさないため、一酸化炭素およびタールなどの有害化学物質は、生成または吸入されない。
【0003】
現在、さまざまな電子蒸気吸入器が利用可能であるが、それらはすべて本開示が克服しようと努めるものに関連する欠点を有する。
【発明の概要】
【0004】
本開示の第1の局面によると、電子蒸気吸入器のためのカートリッジが提供され、カートリッジが、
長尺の誘導加熱可能要素と、
長尺の誘導加熱可能要素の表面に付着される香味放出媒体と、
を備える。
【0005】
カートリッジは、ユーザに、電子蒸気吸入器に香味放出媒体を充填する便利な方法を提供し、それによって、こぼす、または浪費する可能性を低下させる。既製のカートリッジの形態で提供されるため、香味放出媒体の保全性、安全性、および品質もまた保証される。香味放出媒体の正確な服用量も保証される。
【0006】
誘導加熱可能要素を、香味放出媒体に近接して、および少なくともその一部に接触して配置することによって、電磁場の存在下で、香味放出媒体が、急速かつ効率的に加熱され、これにより、加熱反応性が速くなり、比較的所要動力が低くなる。カートリッジには、可動部分はなく、加熱要素がカートリッジに沿って配置される。加熱要素は、カートリッジが取り替えられるたびに新しくなるため、磨滅せず、加熱された香味放出媒体からの沈着物により形成される残留物の堆積に影響されず、したがって、経時による性能の低下や、香味または芳香の劣化がない。これは、たとえば、一定量の使用後に磨滅または故障し、香味放出媒体が加熱されるにつれての残余物の堆積に影響される、吸入器のハウジング内に抵抗加熱要素を有する既存の電子蒸気吸入器と対比される。故障の場合には、電子蒸気吸入器は、全体的に破棄され、新品と取り替えられることが必要になり得る。
【0007】
香味放出媒体は、ユーザによる吸入のための蒸気を放出するように加熱されてもよい、任意の材料または材料の組み合わせであってもよい。香味放出媒体は、タバコまたはタバコ材料であってもよく、プロピレングリコールまたはグリセロールなどの蒸気形成媒体が含浸されてもよい。しかし、香味放出媒体は、タバコに限定されず、任意の香味放出媒体が使用されてもよい。
【0008】
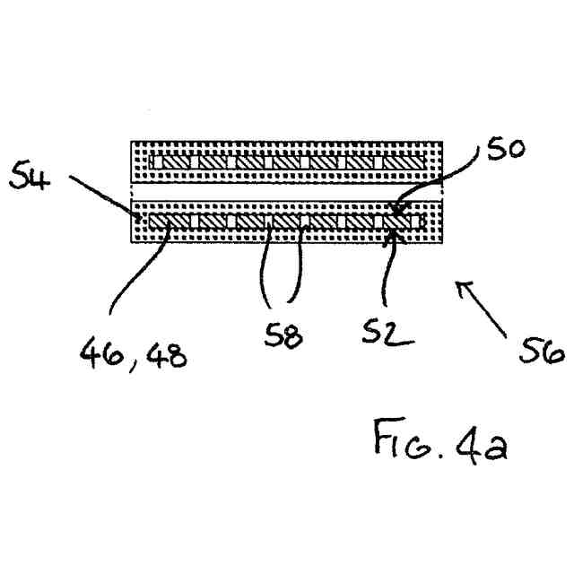
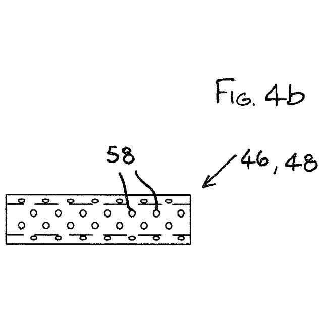
香味放出媒体は、長尺の誘導加熱可能要素の外表面に付着されてもよい。香味放出媒体は、たとえば、誘導加熱可能要素の外表面に付着されてもよい粒状材料を含んでもよい。したがって、香味放出媒体は、単純な方法で誘導加熱可能要素に取り付けられ得る。
【0009】
長尺の誘導加熱可能要素は、中実の断面を有してもよい棒またはワイヤを備えてもよい。
【0010】
長尺の誘導加熱可能要素は、内部壁面および外部壁面を備える壁を有する管を代替的に備えてもよい。管は、たとえば、円筒形または楕円形であってもよく、壁は、内部周壁面および外部周壁面を有する、周方向に延在する壁であってもよい。香味放出媒体が、内部壁面および/または外部壁面に付着されてもよい。香味放出媒体が、管状誘導加熱可能要素の内部および外部壁面の両方に付着される配置では、より大きな量の香味および芳香が放出されてもよい。
(【0011】以降は省略されています)
この特許をJ-PlatPat(特許庁公式サイト)で参照する
関連特許
日本たばこ産業株式会社
香味吸引物品
1か月前
日本たばこ産業株式会社
口腔用組成物
2か月前
日本たばこ産業株式会社
喫煙システム
2か月前
日本たばこ産業株式会社
香味発生物品
1か月前
日本たばこ産業株式会社
香味吸引システム
2か月前
日本たばこ産業株式会社
香味吸引システム
2か月前
Future Technology株式会社
エアロゾル吸引カートリッジ
1か月前
日本たばこ産業株式会社
低香味原料を含むたばこセグメント
1か月前
Future Technology株式会社
たばこ用組成物、E-リキッド、たばこ製品
9日前
日本たばこ産業株式会社
粒状再生セルロースを含有する口腔用組成物
2か月前
日本たばこ産業株式会社
香味発生物品および香味吸引システム
2か月前
Future Technology株式会社
喫煙器具
1か月前
日本たばこ産業株式会社
たばこ材料、その製造方法、および非燃焼加熱型喫煙物品
2か月前
Future Technology株式会社
芳香カートリッジ
24日前
Future Technology株式会社
タバコ充填物集積体
2か月前
Future Technology株式会社
喫煙具用カートリッジ
1か月前
Future Technology株式会社
喫煙具用カートリッジ
3か月前
Future Technology株式会社
喫煙具用カートリッジ
2か月前
Future Technology株式会社
喫煙具用カートリッジ
2か月前
Future Technology株式会社
被加熱芳香カートリッジ
2か月前
Future Technology株式会社
電子タバコカートリッジ
2か月前
Future Technology株式会社
電子タバコカートリッジ
2か月前
Future Technology株式会社
電子タバコカートリッジ
3か月前
Future Technology株式会社
電子タバコカートリッジ
15日前
Future Technology株式会社
電子タバコカートリッジ
2か月前
Future Technology株式会社
加熱式タバコ用カートリッジ
1か月前
Future Technology株式会社
加熱式タバコ用カートリッジ
2か月前
ケーティー アンド ジー コーポレイション
エアロゾル生成システム
24日前
Future Technology株式会社
喫煙具用の柱状のカートリッジ
3か月前
日本たばこ産業株式会社
非燃焼加熱型スティック、吸引システム
1か月前
日本たばこ産業株式会社
香味吸引器及び喫煙システム
1か月前
日本たばこ産業株式会社
香味吸引器及び喫煙システム
1か月前
日本たばこ産業株式会社
吸引装置、制御方法、及びプログラム
15日前
日本たばこ産業株式会社
吸引装置、制御方法、及びプログラム
15日前
日本たばこ産業株式会社
エアロゾル生成装置の電源ユニット
1か月前
日本たばこ産業株式会社
エアロゾル生成装置の電源ユニット
1か月前
続きを見る
他の特許を見る