TOP
|
特許
|
意匠
|
商標
特許ウォッチ
Twitter
他の特許を見る
10個以上の画像は省略されています。
公開番号
2025124436
公報種別
公開特許公報(A)
公開日
2025-08-26
出願番号
2024020498
出願日
2024-02-14
発明の名称
情報処理装置、評価システム、および情報処理方法
出願人
日新電機株式会社
代理人
弁理士法人 HARAKENZO WORLD PATENT & TRADEMARK
主分類
G01R
31/58 20200101AFI20250819BHJP(測定;試験)
要約
【課題】負荷系統の絶縁劣化状態を、従来よりも高精度に評価する。
【解決手段】負荷(LD)と、負荷(LD)に3相交流電力を供給する3相配電線(HL)と、を含む負荷系統(UN)の絶縁劣化状態を評価する情報処理装置(10)は、3相配電線(HL)の第1相配電線(SL1)~第3相配電線(SL3)のそれぞれに流れる交流電流の検出値を、第1CT(71)~第3CT(73)のそれぞれから取得し、3相配電線(HL)に流れる零相電流を当該検出値に基づき算出し、第1所定期間における複数の前記推定値の平均値を算出し、複数の前記第1所定期間を包含する第2所定期間における複数の前記平均値の内から最小値を抽出し、前記第1所定期間における前記平均値から前記最小値を減算した値を、前記第1所定期間における複数の前記推定値に対応する評価対象値として算出し、前記評価対象値が電流閾値を超えた時間の累積値に基づき前記絶縁劣化状態を評価する。
【選択図】図1
特許請求の範囲
【請求項1】
負荷と、前記負荷に3相交流電力を供給する3相配電線と、を含む負荷系統の絶縁劣化状態を評価する情報処理装置であって、
前記3相配電線は、第1相配電線と第2相配電線と第3相配電線とを有しており、
前記情報処理装置は、
前記第1相配電線に流れる第1相交流電流を検出する第1CT(Current Transformer)から、前記第1相交流電流の検出値である第1検出値を取得し、
前記第2相配電線に流れる第2相交流電流を検出する第2CTから、前記第2相交流電流の検出値である第2検出値を取得し、
前記第3相配電線に流れる第3相交流電流を検出する第3CTから、前記第3相交流電流の検出値である第3検出値を取得し、
前記3相配電線に流れる零相電流の推定値を、前記第1検出値と前記第2検出値と前記第3検出値とに基づいて算出し、
第1所定期間における複数の前記推定値の平均値を算出し、
複数の前記第1所定期間を包含する第2所定期間における複数の前記平均値の内から、最小値を抽出し、
前記第1所定期間における前記平均値から前記最小値を減算した値を、前記第1所定期間における複数の前記推定値に対応する評価対象値として算出し、
前記評価対象値が電流閾値を超えた時間の累積値に基づいて、前記絶縁劣化状態を評価する、情報処理装置。
続きを表示(約 1,000 文字)
【請求項2】
前記第1所定期間の長さは、1日以上かつ5日以下であり、
前記第2所定期間の長さは、30日以上かつ90日以下である、請求項1に記載の情報処理装置。
【請求項3】
前記評価対象値および前記累積値に基づいて、前記絶縁劣化状態の評価結果を示す離散値としての危険レベルを設定する、請求項1に記載の情報処理装置。
【請求項4】
複数の前記電流閾値が設定されており、
前記評価対象値が複数の前記電流閾値のうちのいずれをどれほどの時間に亘って超えたかに基づいて前記危険レベルを設定する、請求項3に記載の情報処理装置。
【請求項5】
請求項1に記載の情報処理装置と、
前記第1CTと前記第2CTと前記第3CTとを備えている、評価システム。
【請求項6】
負荷と、前記負荷に3相交流電力を供給する3相配電線と、を含む負荷系統の絶縁劣化状態を評価する情報処理方法であって、
前記3相配電線は、第1相配電線と第2相配電線と第3相配電線とを有しており、
前記情報処理方法は、
前記第1相配電線に流れる第1相交流電流を検出する第1CT(Current Transformer)から、前記第1相交流電流の検出値である第1検出値を取得するステップと、
前記第2相配電線に流れる第2相交流電流を検出する第2CTから、前記第2相交流電流の検出値である第2検出値を取得するステップと、
前記第3相配電線に流れる第3相交流電流を検出する第3CTから、前記第3相交流電流の検出値である第3検出値を取得するステップと、
前記3相配電線に流れる零相電流の推定値を、前記第1検出値と前記第2検出値と前記第3検出値とに基づいて算出するステップと、
第1所定期間における複数の前記推定値の平均値を算出するステップと、
複数の前記第1所定期間を包含する第2所定期間における複数の前記平均値の内から、最小値を抽出するステップと、
前記第1所定期間における前記平均値から前記最小値を減算した値を、前記第1所定期間における複数の前記推定値に対応する評価対象値として算出するステップと、
前記評価対象値が電流閾値を超えた時間の累積値に基づいて、前記絶縁劣化状態を評価するするステップと、を含んでいる、情報処理方法。
発明の詳細な説明
【技術分野】
【0001】
本発明の一態様は、負荷系統の絶縁劣化状態を評価する情報処理装置に関する。
続きを表示(約 2,500 文字)
【背景技術】
【0002】
電気設備などの異常監視に関する様々な技術が提案されている。例えば、下記の特許文献1には、配電線の零相電流(特許文献1では、漏れ電流と称されている)を検出し、当該零相電流に基づいて負荷系統の絶縁劣化状態を評価する手法が開示されている。
【先行技術文献】
【特許文献】
【0003】
特開2002-243787号公報
【発明の概要】
【発明が解決しようとする課題】
【0004】
本発明の一態様の目的は、負荷系統の絶縁劣化状態を従来よりも高精度に評価することにある。
【課題を解決するための手段】
【0005】
本発明の一態様に係る情報処理装置は、負荷と、前記負荷に3相交流電力を供給する3相配電線と、を含む負荷系統の絶縁劣化状態を評価する情報処理装置であって、前記3相配電線は、第1相配電線と第2相配電線と第3相配電線とを有しており、前記情報処理装置は、前記第1相配電線に流れる第1相交流電流を検出する第1CT(Current Transformer)から、前記第1相交流電流の検出値である第1検出値を取得し、前記第2相配電線に流れる第2相交流電流を検出する第2CTから、前記第2相交流電流の検出値である第2検出値を取得し、前記第3相配電線に流れる第3相交流電流を検出する第3CTから、前記第3相交流電流の検出値である第3検出値を取得し、前記3相配電線に流れる零相電流の推定値を、前記第1検出値と前記第2検出値と前記第3検出値とに基づいて算出し、第1所定期間における複数の前記推定値の平均値を算出し、複数の前記第1所定期間を包含する第2所定期間における複数の前記平均値の内から、最小値を抽出し、前記第1所定期間における前記平均値から前記最小値を減算した値を、前記第1所定期間における複数の前記推定値に対応する評価対象値として算出し、前記評価対象値が電流閾値を超えた時間の累積値に基づいて、前記絶縁劣化状態を評価する。
【0006】
本発明の一態様に係る情報処理方法は、負荷と、前記負荷に3相交流電力を供給する3相配電線と、を含む負荷系統の絶縁劣化状態を評価する情報処理方法であって、前記3相配電線は、第1相配電線と第2相配電線と第3相配電線とを有しており、前記情報処理方法は、前記第1相配電線に流れる第1相交流電流を検出する第1CT(Current Transformer)から、前記第1相交流電流の検出値である第1検出値を取得するステップと、前記第2相配電線に流れる第2相交流電流を検出する第2CTから、前記第2相交流電流の検出値である第2検出値を取得するステップと、前記第3相配電線に流れる第3相交流電流を検出する第3CTから、前記第3相交流電流の検出値である第3検出値を取得するステップと、前記3相配電線に流れる零相電流の推定値を、前記第1検出値と前記第2検出値と前記第3検出値とに基づいて算出するステップと、第1所定期間における複数の前記推定値の平均値を算出するステップと、複数の前記第1所定期間を包含する第2所定期間における複数の前記平均値の内から、最小値を抽出するステップと、前記第1所定期間における前記平均値から前記最小値を減算した値を、前記第1所定期間における複数の前記推定値に対応する評価対象値として算出するステップと、前記評価対象値が電流閾値を超えた時間の累積値に基づいて、前記絶縁劣化状態を評価するするステップと、を含んでいる。
【発明の効果】
【0007】
本発明の一態様によれば、負荷系統の絶縁劣化状態を従来よりも高精度に評価できる。
【図面の簡単な説明】
【0008】
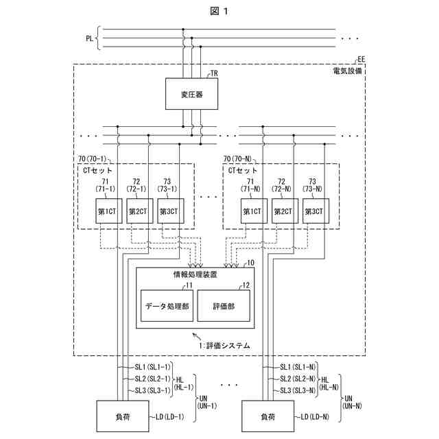
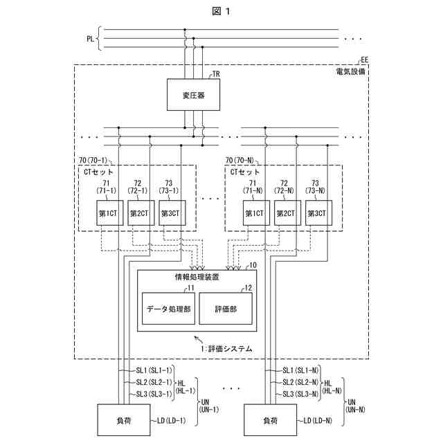
実施形態1における評価システムおよびその周辺の構成についての例を示す。
健全事例におけるIo’の時間推移の例を示す。
健全事例におけるIo’_avの時間推移の例を示す。
健全事例におけるΔIo’_avの時間推移の例を示す。
事故予兆事例におけるIo’の時間推移の例を示す。
事故予兆事例におけるIo’_avの時間推移の例を示す。
事故予兆事例におけるΔIo’_avの時間推移の例を示す。
健全事例における第1累積値の時間推移の例を示す。
健全事例における第2累積値の時間推移の例を示す。
健全事例における第3累積値の時間推移の例を示す。
事故予兆事例における第1累積値の時間推移の例を示す。
事故予兆事例における第2累積値の時間推移の例を示す。
事故予兆事例における第3累積値の時間推移の例を示す。
健全事例における危険レベルの時間推移の例を示す。
事故予兆事例における危険レベルの時間推移の例を示す。
【発明を実施するための形態】
【0009】
〔実施形態1〕
実施形態1について、以下に説明する。説明の便宜上、実施形態1にて説明したコンポーネント(構成要素)と同じ機能を有するコンポーネントについては、以降の各実施形態では同じ符号を付し、その説明を繰り返さない。簡潔化のため、公知の技術事項についても説明を適宜省略する。本開示において述べる各コンポーネントおよび各数値は、特に矛盾のない限りいずれも単なる一例である。それゆえ、例えば、特に矛盾のない限り、各コンポーネントの位置関係および接続関係は各図の例に限定されない。
【0010】
図1は、実施形態1における評価システム1およびその周辺の構成を例示している。評価システム1は、情報処理装置10を有している。図1の例では、情報処理装置10は、電気設備EEの内部に位置している。図1では、電気設備EEとして配電設備が例示されている。図1の例では、負荷LDは電気設備EEの外部に位置している。
(【0011】以降は省略されています)
この特許をJ-PlatPat(特許庁公式サイト)で参照する
関連特許
日新電機株式会社
遮断装置
7日前
日新電機株式会社
ベッセル
1か月前
日新電機株式会社
電子除湿器
29日前
日新電機株式会社
化学蓄熱反応器
1か月前
日新電機株式会社
ガス絶縁開閉装置
7日前
日新電機株式会社
プラズマ処理装置
1か月前
日新電機株式会社
DC-DCコンバータ
14日前
日新電機株式会社
欠陥検出方法および真空遮断器
1か月前
日新電機株式会社
刃先保護部材及び被膜除去方法
1か月前
日新電機株式会社
真空漏れ検出器および真空装置
1か月前
日新電機株式会社
異常判定装置及び異常判定方法
1か月前
日新電機株式会社
ガス絶縁機器およびその製造方法
17日前
日新電機株式会社
真空処理装置、および、ベッセル
1か月前
日新電機株式会社
表示装置、表示方法、およびプログラム
27日前
日新電機株式会社
プラズマ処理装置及びプラズマ処理方法
1か月前
日新電機株式会社
電源システム及び電源システムの制御方法
1か月前
日新電機株式会社
電源システム及び電源システムの制御方法
1か月前
日新電機株式会社
配電システム、および、クラスタの制御方法
22日前
日新電機株式会社
汚泥処理制御システムおよび汚泥処理制御方法
20日前
日新電機株式会社
検出装置、電力供給システム、および検出方法
20日前
日新電機株式会社
通信ユニット、サーバ、通信システムおよび通信方法
1か月前
日新電機株式会社
高調波フィルタ設備及び高調波フィルタ設備の設定方法
1か月前
日新電機株式会社
加工方法、治具及び勾配面加工用3軸マシニングセンタ
29日前
日新電機株式会社
コーティング部品及びコーティング部品を備えるコーティング工具
9日前
日新電機株式会社
電源システム、電源システムの制御方法及び電源システムのプログラム
17日前
日新電機株式会社
ダイヤモンド薄膜、コーティングデバイス及びダイヤモンド薄膜の製造方法
6日前
日新電機株式会社
油入電気機器用の電気絶縁油基油、これを含有する電気絶縁油及び油入電気機器
20日前
個人
メジャー文具
1か月前
日本精機株式会社
検出装置
8日前
個人
採尿及び採便具
14日前
個人
高精度同時多点測定装置
29日前
個人
計量機能付き容器
3日前
個人
アクセサリー型テスター
1か月前
株式会社ミツトヨ
測定器
20日前
ユニパルス株式会社
ロードセル
1か月前
甲神電機株式会社
電流検出装置
8日前
続きを見る
他の特許を見る