TOP
|
特許
|
意匠
|
商標
特許ウォッチ
Twitter
他の特許を見る
10個以上の画像は省略されています。
公開番号
2025123087
公報種別
公開特許公報(A)
公開日
2025-08-22
出願番号
2024018955
出願日
2024-02-09
発明の名称
電動船外機
出願人
トーハツ株式会社
代理人
個人
,
個人
,
個人
主分類
B63H
20/00 20060101AFI20250815BHJP(船舶またはその他の水上浮揚構造物;関連艤装品)
要約
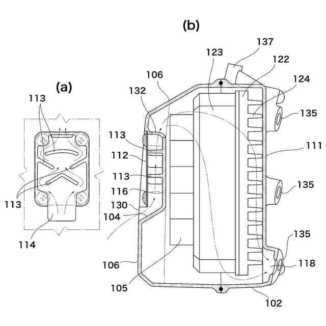
【課題】電動船外機に搭載される電動モータとモータコントローラのいずれも電動船外機本体の外部の外気に直接晒すことなく、これら2つの発熱源を、電動船外機本体の内部において、同時に、空冷できる空冷システムを搭載した電動船外機を提供すること。
【解決手段】電動船外機の本体において、それぞれ異なる機構を内部に格納する複数のハウジングを直列式に連結して形成された内部空間を、複数のコンパートメントに区画し、かかるコンパートメント内の空間を、共通する通気孔を介して相互に空気連通させて1つの風胴システムを形成し、この風胴システムの一方の端に外気と空気連通する通気口を設け、他方の端に、この風胴システム内の空気を強制的に排出する排出機構を配設し、かつ、この風胴システム内に形成される空気通路上に、パワー半導体によるインバータを少なくとも有するモータコントローラと、電動モータを配設したことを特徴とする電動船外機。
【選択図】図3
特許請求の範囲
【請求項1】
電動モータと、該電動モータを電子制御する電子制御ユニット(ECU)を有するモータコントローラとを、少なくとも、有する電源外付式の電動船外機であって、
電動船外機の本体の中に、前記モータコントローラを収容する第1ハウジングユニットと、前記電動モータを収容する第2ハウジングユニットと、前記電動モータからのパワートレイン機構を収容する第3ハウジングユニットを少なくとも搭載し、
前記第1ハウジングユニットは第1コンパートメントを画成し、前記第2ハウジングユニットは第2コンパートメントを画成し、前記第3ハウジングユニットは第3コンパートメントを画成し、
前記第1コンパートメントと前記第2コンパートメントとは、相互に共通する第1空気連通孔を介して空気連通しており、前記第2コンパートメントと前記第3コンパートメントとは、相互に共通する第3空気連通孔を介して空気連通しており、このことにより、前記第1コンパートメントと前記第2コンパートメントと前記第3コンパートメントは直列型の風胴システムを形成しており、
前記第1コンパートメントは、前記電動船外機の外部の空気と接する開口を有する開口機構を有し、
前記第3コンパートメントは、前記開口を介して前記風胴システム内に取り込んだ空気を前記風胴システム外に排出する排気口を有する排出機構と空気連通していることを特徴とする電動船外機。
続きを表示(約 1,200 文字)
【請求項2】
前記排出機構は、前記取り込んだ空気を強制的に前記風胴システム外に排出する排出機構であって、前記排気口を、能動的又は受動的に、負圧環境下に置くことのできる排出機構である
ことを特徴とする請求項1に記載の電動船外機。
【請求項3】
前記排出機構は、一端が前記第3コンパートメントと空気連通し、他端が前記排気口に空気連通する管腔を有する穴開きスクリュープロペラユニットである
ことを特徴とする請求項2に記載の電動船外機。
【請求項4】
前記開口機構は、電動船外機の外部からの直流電力を交流電力に変換するパワー半導体モジュールを有する前記モータコントローラを収容する第1コンパートメントの一部を構成する第1ECUハウジングの開放面側に配設されたハウジングカバーに構成された2つの開口(第1開口及び第2開口)であって、第1開口の開口面が第2開口の開口面と直交し、第1開口と第2開口との間の空気流路上に、複数の突起部から構成されるラビリンスが配設されている2つの開口を有する
ことを特徴とする請求項3に記載の電動船外機。
【請求項5】
前記ラビリンスは三層構成となっており、第1開口側から第2開口側に向かって、第1層は第1開口側に向かって折れ線を形成する1つの板状の突起部、第2層は突起部がハの字を形成する2つの独立した板状の突起部、及び第3層は上側に凸の円弧を描く1つの板状の突起部から、それぞれ構成されている
ことを特徴とする請求項4に記載の電動船外機。
【請求項6】
前記開口機構は、更に、第3開口を有し、該第3開口は、前記第1ECUハウジングの底部壁に設けられた第1空気連通孔である
ことを特徴とする請求項5に記載の電動船外機。
【請求項7】
前記開口機構において、第2開口の開口面が第3開口の開口面と直交する
ことを特徴とする請求項6に記載の電動船外機。
【請求項8】
前記開口機構において、前記開口機構の側面視において、第2開口の配設位置が第1開口の配設位置よりも高い
ことを特徴とする請求項7に記載の電動船外機。
【請求項9】
前記開口機構において、風胴システム内(系内)に取り込む空気の空気流路の先頭に第1開口、後尾に第3開口が配設され、第2開口がこれらの間に配設されている
ことを特徴とする請求項8に記載の電動船外機。
【請求項10】
前記開口機構において、第1開口、第2開口、第3開口のうち、第1開口が最もサイズが大きく、第3開口が最もサイズが小さく、第2開口はこれらの中間のサイズである
ことを特徴とする請求項9に記載の電動船外機。
(【請求項11】以降は省略されています)
発明の詳細な説明
【技術分野】
【0001】
本発明は、電動船外機に関する。具体的には、パワー半導体を有するモータコントローラ(電子制御ユニット)と電動モータを、電動船外機の航走中に外気に露出させることなく、それぞれ収容するハウジングユニットの中で、冷媒としての外気(外部の空気)でもって空冷する空冷システムを有する電動船外機に関する。
続きを表示(約 4,000 文字)
【背景技術】
【0002】
近年における環境問題のクローズアップと共に、ガソリンや潤滑オイルの漏れ、排気ガスの水中への排出など、ガソリンエンジン式の船外機に特有の問題点を根本的に解消すべく、動力源に電動モータを備えた電動船外機が提案され実際に各地で運用されている。
【0003】
しかしながら、環境問題は解消されたものの、そのパフォーマンス、特に、1回の充電で航走できる距離が、ガソリンエンジン式の船外機と比較すると、大幅に劣る傾向にある。これは電動船外機に内在する特有の課題に起因する。主な要因は、電動船外機の本体内部に搭載される電子制御機器(特に、パワー半導体を内蔵する電子制御機器(ECU))と電動モータからそれぞれ発生する熱により、電動船外機の「電費」(電力1kWで航行できる距離)が悪化することにある。これは、電動モータに供給される電力の一部が、電子制御機器(ECU)と電動モータから発生する熱に転換されて消費されることにより実際の電力量が低下する現象、更には、この熱により、各種電子制御機器と電動モータ内に内蔵されている電子回路や電気配線の電気抵抗が大きくなり、その抵抗により回路を流れる電力が更に低下し、電動モータの回転トルク力に供給されるエネルギーが無駄に消費されて、結果的に電費が低下する現象に起因する。また更には、インバータ用のパワー半導体を内蔵するECU自体が焼損を受けて機能しなくなったり、機能低下したり、あるいは、そのレベルまで達しなくても、それらの発熱源からの熱が他の制御用ECUに伝達されてそこに搭載されている半導体が機能しなくなったり機能低下したりする課題も潜在的に内在する。これらの潜在的な課題は、電動船外機の馬力が大きくなればなるほど、即ち、電動船外機への供給電圧が高くなればなるほど、顕著に表面化する。
【0004】
この潜在的な課題に対しては、熱マネジメントと言う新しい概念で、電動船外機の「電費」を向上させる努力が為されている。電動船外機における熱マネジメントの主な対象は、モータコントローラ(特に、パワー半導体によるインバータを有する電子制御ユニット(ECU))と電動モータである。このうち、電動モータからの発熱を電動船外機の外部に放熱する機構や方法については、電動モータの装備位置の観点から2種類に大別され、代表的な先行特許文献として、例えば、下記特許文献1及び特許文献2がある。
【0005】
1つは、特許文献1(特開昭59-45296号公報 )に開示されているように、水中のプロペラ前方に電動モータを配置して船内に配置したバッテリから電源を供給するように構成したタイプと、もう1つは、特許文献2( 特開2005-162055号公報)に開示されているように、従来のガソリンエンジンと同様に水面上の位置に電動モータを装備し、電動モータからの回転力を、電動モータの下方にて連結されたドライブシャフトとギアを介して水中のプロペラに伝達して推進力を得るタイプである。
【0006】
前者の場合(特許文献1( 特開昭59-45296号公報 ))は、電動モータを水面下に配置されるハウジングの中に収容することで電動モータからの発熱の放熱に対処しているが、水中での抵抗を考慮すると電動モータの大型化、すなわちガソリンエンジンの代替は困難であると考えられる。また、大型の電動モータを水面下のハウジング内に収容配置するにはこの電動モータの支持部材も大型化しなければならないなどの別の問題を抱える。更には、大型の電動モータの場合には、それに対応する電気容量の大きな電源が必要となり、このような電源は必然的に外付式電源とならざるを得なく、この外付式電源と水面下のハウジング内の電動モータとの電気接続のための配線ケーブルの配設が複雑にならざるを得ない。
【0007】
一方、特許文献2に開示された発明に係る船外機の場合は、上述した事情を考慮してなされたもので、「船外機1Aを上下方向に三分割し、その中間部に位置するミドルユニット3の上下を、マウント装置10,11を介して船体21に取り付けると共に、電動モータ14と、この電動モータ14に電力を供給するバッテリ43と、電動モータ14の回転数等を制御する制御ユニット44とを備え、マウント装置10,11間の、ミドルユニット3を構成するミドルケース8内に電動モータ14を配置したものである。」(同文献の要約書)この船外機の場合、電動モータの配置位置を、従来のガソリンエンジンの場合と同様に、水面よりも上の位置にすると同時に、電動モータの周囲に水冷式の冷却ジャケットを搭載する形式が採用されている。この場合の冷媒は海水であり、この冷媒を移動させるために、ドライブシャフトの回転によって駆動される、例えば容積変動型冷却水ポンプと言う、ガソリンエンジン式船外機に搭載される冷水ポンプが使用されている。同文献には、「・・・これらの水冷式の冷却装置は、航走時の冷却水を電動モータ14に送ることによって確実に電動モータ14の過熱を抑えることができると共に、従来ガソリンエンジン等に用いられていたものと同様の揚水構造を有するため、信頼性が高く、メンテナンスも容易である。また流用部品も多いため、経済的である。」(〔0040〕欄)及び「 そして、電動モータ14の冷却が冷却水によって行われるため、アッパーケース5やミドルケース8に換気用の外気取り入れ口を設ける必要がない。その結果、航走時の飛沫や雨水等の外部からの水分がアッパーケース5内やモータルーム13内に浸入しないので、電動モータ14やバッテリ43、制御ユニット44等の電装品の耐久性が向上する。」(〔0041〕欄)と記載されていることからして、熱マネジメント(放熱マネジメント)の対象は電動モータのみであり、また、冷媒として油を使い、冷却ジャケットにオイルジャケットを活用する油冷式の態様も開示されているが、この場合も熱マネジメントの対象は電動モータのみである。
【0008】
しかも、パワー半導体を搭載するECU等の電子制御機能要素が配設されるアッパーケース5は「アッパーケース5の開口を塞ぐ蓋部材6」(同文献〔0018〕欄)により開口が塞がれ、「航走時の飛沫や雨水等の外部からの水分・・・」がその内部空間に入らないように水密化又は気密化されているために、電動モータの回転数等を制御する制御ユニット(当然のことながら、かかる制御ユニットは、パワー半導体モジュールを搭載するECU(電子制御ユニット)である)からの発熱の放熱に対しては十分な配慮が為されていない。その結果、「・・・高回転で連続運転をすると発熱する電動モータ14に冷却装置を備えたことにより、電動モータ14を大型化できて高出力のガソリンエンジンを代替可能となる」(同文献〔0048〕欄)とは主張されているが、「バッテリ43は制御ユニット44の上方に配置される」(同文献〔0029〕欄)と記載されていることからして、同文献に開示の電動船外機の電源は外付式ではないので、電動船外機は中型以下のものであると言える。
【0009】
何らかの電子ユニットや機械ユニットを冷却するシステムには、上述のような水冷式に対して、空冷式も当然に考えられ、一般的に、空冷式は水冷式に比べて機構がシンプルになるメリットがあるので、電動船外機においてもそのような提案が考えられる。そこで、「電動船外機」「空冷式」のキーワードで、特許庁の特許情報プラットフォーム、J-PlatPatで検索したところ、下記特許文献3~14が検出された。これらのうち、特許文献14は、燃料電池で駆動する電動船外機における空冷式の燃料電池ユニットに関する発明を開示するものであるので、これを除く特許文献3~13に開示された発明を見ると、その全てが、電動モータ自体を密閉構造あるいは水密構造にすることで電動モータ内に水が浸入することを防止しつつ、電動モータを外気に直接露出させた状態で配設することによる空冷式電動船外機に係る発明である。
【0010】
これら特許文献3~13のいずれにおいても、「電動モータ11には電源/制御ユニット60から配線されたケーブル80として、信号ケーブル81と電源ケーブル82とが接続されている。信号ケーブル81と電動モータ11との接続部は、信号ケーブルカバー18によって覆われている。信号ケーブルカバー18のうち信号ケーブル81が挿通する開口が、シール部材19によって密閉されている。また、電源ケーブル82と電動モータ11との接続部は、電源ケーブルカバー20によって覆われている。電源ケーブルカバー20のうち、電源ケーブル82が挿通する開口および電動モータ11との取付部位は、それぞれシール部材21、22によって密閉されている。」と記載されていて、如何にも航走時における海水の飛沫や雨水等の外部からの水分を含んだ外気に直接露出された端子相互間でのチャネリングに起因する漏電等の問題は起こらないような印象を与えるが、激しい風雨に晒される場合もある海上環境において、単なるシール部材による漏電防止の効果は余り期待できないと考えるのが一般的である。また、特許文献3~13のいずれも、熱マネジメントの対象としているのは電動モータのみであって、電動モータを制御する電子制御ユニット(モジュール)(特に、パワー半導体によるインバータを有するECUモジュール)からの発熱及び電動モータからの発熱の双方を同時に電動船外機の外部に放熱する機構や方法を提案しているものではない。
【先行技術文献】
【特許文献】
(【0011】以降は省略されています)
この特許をJ-PlatPat(特許庁公式サイト)で参照する
関連特許
トーハツ株式会社
電動船外機
3か月前
個人
水上遊具
5か月前
個人
川下り用船
12か月前
個人
洋上研究所
4か月前
個人
補助機構
8か月前
個人
津波防災ウエア
3か月前
個人
船用横揺防止具
9か月前
個人
コンパクトシティ船
8か月前
個人
渦流動力推進構造
8か月前
個人
セールのバテンガイド装置
4か月前
石田造船株式会社
内航船
16日前
炎重工株式会社
浮標
10か月前
個人
水質浄化・集熱昇温システム
5か月前
炎重工株式会社
浮標
10か月前
住友重機械工業株式会社
船舶
5か月前
株式会社フルトン
水中捕捉装置
8か月前
個人
船舶
10か月前
個人
スクリュープロペラ
8か月前
株式会社ラフティ
サーフボード
4か月前
ペアリ株式会社
海の環境改善装置
27日前
個人
回転式による流体流出防止タンカー
8か月前
オーケー工業株式会社
係留フック
9か月前
朝日電装株式会社
船外機用照明装置
3か月前
スズキ株式会社
船外機
6か月前
ヤマハ発動機株式会社
船外機
10か月前
株式会社アカデミー出版
船舶
4か月前
スズキ株式会社
船外機
6か月前
スズキ株式会社
船外機
8か月前
スズキ株式会社
船外機
8か月前
常石造船株式会社
メタノール燃料船
11か月前
炎重工株式会社
自律航行浮遊体
10か月前
ナブテスコ株式会社
主機制御システム
1か月前
株式会社ユピテル
システム及びプログラム等
7か月前
藤倉コンポジット株式会社
架台
11か月前
株式会社神戸タフ興産
船舶の甲板構造
12か月前
ヤマハ発動機株式会社
船外機および船舶
10か月前
続きを見る
他の特許を見る