TOP
|
特許
|
意匠
|
商標
特許ウォッチ
Twitter
他の特許を見る
10個以上の画像は省略されています。
公開番号
2025123084
公報種別
公開特許公報(A)
公開日
2025-08-22
出願番号
2024018951
出願日
2024-02-09
発明の名称
電動船外機
出願人
トーハツ株式会社
代理人
個人
,
個人
,
個人
主分類
B63H
20/00 20060101AFI20250815BHJP(船舶またはその他の水上浮揚構造物;関連艤装品)
要約
【課題】電動船外機において、スイベルブラケットの後ろに電動モータが配置される構造と言う条件の下で、耐久性、防振効果、更には、操舵の容易性等々を図りつつ、構造がシンプルで部品点数を少なくしつつも、耐久性、防振効果、更には、操舵の容易性を有する電動船外機を提供する。
【解決手段】電動船外機の船外機本体の荷重を、従来型のアッパーマウントシステム(2本のマウントアームを船外機本体側にマウントブラケットを介して固定するアッパーマウントシステム)と、モータベースメントと一体化されてモータベースメントの前方でカウリングを越えて突出したモータベースメント側ブラケットの両端と、そのブラケットとペアを構成する別途のマウントブラケットの両端とが締結されて形成されたヨークアセンブリ(yoke assembly)の中に保持された、防振機能のあるロワマウントユニット30とで支える機構とする電動船外機。
【選択図】図6
特許請求の範囲
【請求項1】
電源外付式の電動船外機であって、
電動モータによる推進機構を内部に少なくとも有する本体を有し、
前記本体を船体に着脱自在に固定する2つのクランプブラケットと、該2つのクランプブラケットと共に、上下に回動可能にクランプブラケットボルトに軸支されたスイベルブラケットを有し、
前記スイベルブラケットと一体化されたステアリングブラケットの中に収容されて、水平面内で回動可能なステアリングシャフトを有し、
前記本体は、前記ステアリングシャフトと、該ステアリングシャフトに連結されたマウントシステムを介して、前記スイベルブラケットに、水平面内において回動可能に支持されており、
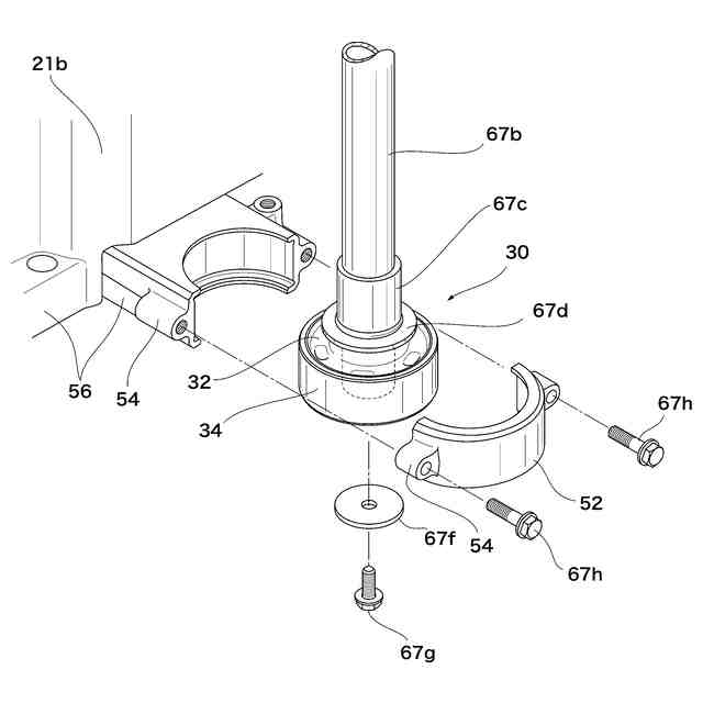
前記マウントシステムは、防振部材を含み全体形状が略筒状で同一形状の2つのアッパーマウントユニットと、防振部材を含み全体形状が略筒状の1つのロワマウントユニットを有し、
前記2つのアッパーマウントユニットは、前記電動船外機の前後方向に沿って延在する2本のアッパーマウントアームのそれぞれ対応する後端に配設され、
前記1つのロワマウントユニットは、前記ステアリングシャフトの下端部に、該ステアリングシャフトの下端部が回動可能になる態様で、嵌合され、
前記略筒状の2つのアッパーマウントユニット の中心軸は、相互に平行で同一面内にあり、
前記略筒状の1つのロワマウントユニットの中心軸は、前記ステアリングシャフトの中心軸と同軸である
ことを特徴とする電動船外機。
続きを表示(約 1,400 文字)
【請求項2】
前記ロワマウントユニットは、モータベースメントと一体化されてモータベースメントの前方に突出したマウントブラケットAと、該ブラケットAとペアを構成するマウントブラケットBとが、対応するブラケットの両端同士が締結されて形成されたヨークアセンブリの中に保持されている
ことを特徴とする請求項1に記載の電動船外機。
【請求項3】
前記突出がカウリングカバーを前方に越えた突出である
ことを特徴とする請求項2に記載の電動船外機。
【請求項4】
前記ロワマウントユニットは、
内側の管状部材、外側の管状部材、及び該内側の管状部材と該外側の管状部材との間に充填され固着された管状の振動吸収材を含み、
前記の管状の振動吸収材の内側表面は、その全面に亘って、前記内側の管状部材の外側表面と固着されており、かつ、前記外側の管状部材の内側表面は、その全面に亘って、前記管状の振動吸収材の外側表面と固着されている
ことを特徴とする請求項3に記載の電動船外機。
【請求項5】
前記管状の振動吸収部材は、上面から底面まで貫通する穴を少なくとも1つ有する
ことを特徴とする請求項4に記載の電動船外機。
【請求項6】
前記内側の管状部材と、前記外側の管状部材は、いずれも、主にアルミニウム合金から成る
ことを特徴とする請求項5に記載の電動船外機。
【請求項7】
前記管状の振動吸収部材は、ゴム質の材料を含む
ことを特徴とする請求項6に記載の電動船外機。
【請求項8】
前記ステアリングシャフトは、円筒状であり、該円筒状の下端の上方近傍から下方に延出するアンカー片であって下側にネジ穴が形成されたアンカー片を有する
ことを特徴とする請求項7に記載の電動船外機。
【請求項9】
前記ロワマウントユニットは、
前記ロワマウントユニットの前記内側の管状部材の下端面に当接する取付ワッシャーAと、前記ステアリングシャフトの下側に配設されたシースの下端面に当接する取付ワッシャーBであって、その下端面が、前記内側の管状部材の上端面に当接する取付ワッシャーBとの間に配設され、
前記内側の管状部材が、取付ワッシャーBの中心部を上方に延出して前記ネジ穴に嵌合する取付ボルトにより、前記内側の管状部材の下端面が前記取付ワッシャーAの上端面と当接し、前記内側の管状部材の下端面が前記取付ワッシャーBの下端面と当接した状態で、前記取付ワッシャーAと前記取付ワッシャーBとの間に固定された態様で、前記ステアリングシャフトの下端部に配設される
ことを特徴とする請求項8に記載の電動船外機。
【請求項10】
前記ブラケットAと前記ブラケットBにより形成されるヨークアセンブリは、壁の縦断面が、全周に亘って、前記ヨークアセンブリの内側に向いた略U-字形を有しており、
前記ロワマウントユニットは、前記ロワマウントユニットの外側の管状部材の下端面が、前記ヨークアセンブリの前記略U-字形の下端部の突出部の上面に当接した態様で、前記ヨークアセンブリの中に保持される
ことを特徴とする請求項9に記載の電動船外機。
(【請求項11】以降は省略されています)
発明の詳細な説明
【技術分野】
【0001】
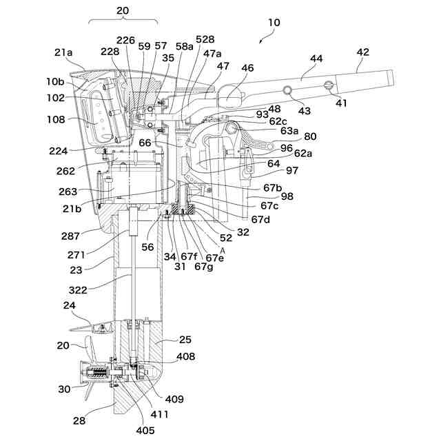
本発明は、電動船外機に関する。具体的には、スイベルブラケットの後ろに電動モータが配置された電動船外機であって、ステアリングシャフトを下側から支えるロワマウントが1ユニットだけである電動船外機に関する。
続きを表示(約 2,100 文字)
【背景技術】
【0002】
近年における環境問題のクローズアップと共に、ガソリンや潤滑オイルの漏れ、排気ガスの水中への排出など、ガソリンエンジン式の船外機に特有の問題点を根本的に解消すべく、動力源に電動モータを備えた電動船外機が提案され実際に各地で運用されている。
【0003】
電動船外機は、その推進力の源となる電動モータを電動船外機の本体に配置するに際して、ガソリンエンジン式船外機と同様に船外機本体の中のアッパーセクション(スイベルブラケットの高さ方向の位置よりも高い位置であってスイベルブラケットの後方)と言われるスペースに配置するタイプと、アッパーセクションには電動モータのコントローラ等の制御機構を配置して電動モータはミドルセクションと言われるスペース(スイベルブラケットと同じ高さ方向の位置であってスイベルブラケットの後方)に配置するタイプがある。このうち、以下詳述する本発明の対象となるタイプは、後者のタイプである。
【0004】
電動モータをスイベルブラケットの後方に配設するタイプの電動船外機が特許文献1及び特許文献2に開示されている。この2つの特許文献は同一出願人によるものであり、マウントシステムに関連する発明をそれぞれ開示しており、特許文献2は特許文献1に開示の発明の問題を指摘しつつ、その解決につながる発明を開示している。
【0005】
特許文献1(同文献では、ミドルセクションをミドルケースと呼称し、また、ミドルケースの中に収容される機構ユニットをミドルユニットと呼称している)の図1には、「 モータルーム13内のアッパーマウント10とロアーマウント11」が開示されている。同図を見る限りにおいて、同文献のアッパーマウント10はガソリンエンジン式船外機における一般的なマウントアームを2本有してそれが船外機本体側に固定されていると認められる。一方、ロアーマウント11については、その具体的な構造は同文献の明細書中にも図面にも説明がないので、俄かには認識できないが、同図を見る限りにおいて、lower mountは単一であるように見受けられるが、それは、「モータ取り付けベース29A」と一体化されて連続体を形成しているとは見えない。
【0006】
特許文献2は、同一出願人による特許文献1に開示されたマウントシステムを改良した発明の位置付けとなっており、「特許文献1に記載の技術は、電動モータ114やドライブシャフト121等がスイベル部117を避けるように後方にオフセットされているため、ミドルユニット102の大型化という問題を有していた。また、特許文献1に記載の技術は、モーターカバー115やマウントケース111等の余計な部品を設けていたため、部品点数の増加や重量の増加という問題を有していた。」と指摘している。同文献には、ゴムブッシュ23bが巻設された左右一対のアッパーマウント部23と、ロアーハウジング22と一体成形されて、前側フランジ部24aと、左右一対の後側フランジ部24bとを有するロアーマウント部24が開示されている。
【先行技術文献】
【特許文献】
【0007】
特開2005-162055号公報
特開2016-37256号公報
【発明の開示】
【発明が解決しようとする課題】
【0008】
しかしながら、いずれの特許文献においても、そこに開示されているロワマウントにおいては、ステアリングシャフトを水平面内で回動可能に収容するための、スイベル部40に設けられた穴の下端には、ステアリングシャフトを下側から支える部材が見られない。そのため、電動線待機の航走中における船外機本体の荷重を支えるのは、船外機本体の上方の2箇所に固定された2本のアッパーマウントアームとなるが、この場合のアッパーマウントアームは、構造力学で言うカンチレバーの状態となっており、航走中の船外機本体の上下運動による繰り返し荷重による強度劣化の問題が内在する。
【0009】
特許文献2のアッパーマウントには、「ボルト穴23aの周囲にはゴムブッシュ23bが嵌合している」とされるが、かかるアッパーマウントを受けるスペースには制約があるので、ゴムブッシュ23b(防振ゴム部材)の厚さはそれほど大きくはできないので、それによる縦方向の防振効果は余り期待できない。更に、特許文献2のロワマウントの場合、スイベル部40に設けられた穴には、そこに回動可能に収容するステアリングシャフトとの間に制振材(vibration isolator)が間挿されているとは見られない。
【0010】
以上の観点から総合的に見ると、特許文献1のマウントシステムを改良した特許文献2においても、マウントシステムを全体としてみると、耐久性、防振効果、更には、操舵の容易性等々の観点において、改良/改善の余地があると言える。
(【0011】以降は省略されています)
この特許をJ-PlatPat(特許庁公式サイト)で参照する
関連特許
トーハツ株式会社
電動船外機
3か月前
個人
水上遊具
5か月前
個人
川下り用船
12か月前
個人
洋上研究所
4か月前
個人
補助機構
8か月前
個人
津波防災ウエア
3か月前
個人
船用横揺防止具
9か月前
個人
コンパクトシティ船
8か月前
個人
渦流動力推進構造
8か月前
個人
セールのバテンガイド装置
4か月前
石田造船株式会社
内航船
16日前
炎重工株式会社
浮標
10か月前
個人
水質浄化・集熱昇温システム
5か月前
炎重工株式会社
浮標
10か月前
住友重機械工業株式会社
船舶
5か月前
株式会社フルトン
水中捕捉装置
8か月前
個人
船舶
10か月前
個人
スクリュープロペラ
8か月前
株式会社ラフティ
サーフボード
4か月前
ペアリ株式会社
海の環境改善装置
27日前
個人
回転式による流体流出防止タンカー
8か月前
オーケー工業株式会社
係留フック
9か月前
朝日電装株式会社
船外機用照明装置
3か月前
スズキ株式会社
船外機
6か月前
ヤマハ発動機株式会社
船外機
10か月前
株式会社アカデミー出版
船舶
4か月前
スズキ株式会社
船外機
6か月前
スズキ株式会社
船外機
8か月前
スズキ株式会社
船外機
8か月前
常石造船株式会社
メタノール燃料船
11か月前
炎重工株式会社
自律航行浮遊体
10か月前
ナブテスコ株式会社
主機制御システム
1か月前
株式会社ユピテル
システム及びプログラム等
7か月前
藤倉コンポジット株式会社
架台
11か月前
株式会社神戸タフ興産
船舶の甲板構造
12か月前
ヤマハ発動機株式会社
船外機および船舶
10か月前
続きを見る
他の特許を見る