TOP
|
特許
|
意匠
|
商標
特許ウォッチ
Twitter
他の特許を見る
公開番号
2025123083
公報種別
公開特許公報(A)
公開日
2025-08-22
出願番号
2024018950
出願日
2024-02-09
発明の名称
電動船外機
出願人
トーハツ株式会社
代理人
個人
,
個人
,
個人
主分類
B63H
20/00 20060101AFI20250815BHJP(船舶またはその他の水上浮揚構造物;関連艤装品)
要約
【課題】電源外付式の電動船外機において、航走時に電動船外機本体が左右上下に大きく揺れたときに、電動船外機の本体側から引き出された接続ケーブルが、左右上下、四方八方に飛び跳ねることを抑制又は防止でき、かつ、部品点数が少なく、低コストの電動船外機を提供する。
【解決手段】電源外付け式の電動船外機であって、前記電動船外機の本体を船体に着脱自在に固定する2つのクランプブラケット62a、62bを、その間に配設されたステアリングブラケットと共に、相互に緊結するクランプブラケットボルトの中央部分に、上下に回動可能に軸支されたキャリングハンドル80を有することを特徴とする電動船外機。
【選択図】図4
特許請求の範囲
【請求項1】
電源外付け式の電動船外機であって、
前記電動船外機の本体を船体に着脱自在に固定する2つのクランプブラケットを、その間に配設されたステアリングブラケットと共に、相互に緊結するクランプブラケットボルトの中央部分に、上下に回動可能に軸支されたキャリングハンドルを有する
ことを特徴とする電動船外機。
続きを表示(約 1,600 文字)
【請求項2】
前記キャリングハンドルは、略矩形状ブロック部分、略U字形状フレーム部分、および略矩形U字形状フレーム部分を有し、これらの部分は、全て一体化されて連続体フレームから成る閉じたループを形成し、略矩形状ブロック部分が、前記クランプブラケットボルトの中央部分に、上下に回動可能に軸支されている
ことを特徴とする請求項1に記載の電動船外機。
【請求項3】
前記キャリングハンドルは、連続体フレームから成る閉じたループを有し、
前記連続体フレームから成る閉じたループの閉じたループが開放スペースを提供し、
a)前記キャリングハンドルを下方に回動して静止させた状態において、船体側接続ケーブルとその先端の船体側接続カプラが、前記開放スペースの中を自由に垂れ下がり、該船体側接続カプラが、外部電源側接続ケーブルの先端の電源側接続カプラと着脱自在に接続した状態を維持することができ、
b)前記キャリングハンドルを上方に回動して静止させた状態において、前記電源側接続カプラが前記船体側カプラから外されて、船体側接続ケーブルとその先端の船体側接続カプラが、前記開放スペースの中を自由に垂れ下がった状態で、前記連続体フレームの一部を把持することができる
ことを特徴とする請求項2に記載の電動船外機。
【請求項4】
前記略矩形状ブロック部分は、その上面に同じ形状の複数の三角形の突起を有し、
前記略矩形状ブロック部分の上面の大部分は、前記略U字形状フレーム部分の上面と、前記略矩形状ブロック部分と前記略U字形状フレーム部分との間に挿入された第1の遷移部分の上面の滑らかな曲面を介して連続面を構成し、
前記曲面の曲率半径の中心が、前記第1の遷移部分の底面側に位置している
ことを特徴とする請求項3に記載の電動船外機。
【請求項5】
前記略矩形状ブロック部分は、その下面に同じ形状の複数の円弧状の突起を有し、
前記円弧状の突起は、相互に平行で、上記折り畳み式 キャリングハンドルの前後方向に沿って配設されている
ことを特徴とする請求項4に記載の電動船外機。
【請求項6】
前記略矩形状ブロック部分は、その底面が、前記略U字形状フレーム部分の底面と、第1の遷移部分の底面の滑らかな曲面を介して連続面を構成し、
前記曲面の曲率半径の中心が、前記第1の遷移部分の底面側に位置している
ことを特徴とする請求項5に記載の電動船外機。
【請求項7】
前記略U字形状フレーム部分の下面は、前記略矩形U字形状フレーム部分の下面と、前記略U字形状フレーム部分と前記略矩形U字形状フレーム部分との間に挿入された第1の遷移部分の底面の滑らかな曲面を介して連続面を構成し、
前記曲面の曲率半径の中心が、前記第1の遷移部分の下面側に位置している
ことを特徴とする請求項6に記載の電動船外機。
【請求項8】
前記略U字形状フレーム部分の上面は、一方の端が前記第1の遷移部分の上面の対応する端と滑らかな曲面を介して連続面を構成し、他方の端が第2の遷移部分の上面の対応する端と滑らかな曲面を介して連続面を構成している
ことを特徴とする請求項7に記載の電動船外機。
【請求項9】
前記略矩形状ブロック部分の上面を通る第1の平面が、略矩形状ブロック部分の下面を通る第2の平面と平行である
ことを特徴とする請求項8に記載の電動船外機。
【請求項10】
前記略矩形状ブロック部分が、前記略U字形状フレーム部分の反対側の一辺の全長に沿って貫通する丸い穴を有している
ことを特徴とする請求項9に記載の電動船外機。
(【請求項11】以降は省略されています)
発明の詳細な説明
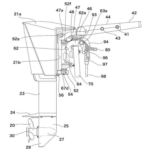
【技術分野】
【0001】
本発明は、電源外付式の電動船外機に関する。具体的には、電動船外機の本体の前方側に折り畳み式のキャリングハンドルを有する電動船外機に関する。
続きを表示(約 2,300 文字)
【背景技術】
【0002】
近年における環境問題のクローズアップと共に、ガソリンや潤滑オイルの漏れ、排気ガスの水中への排出など、ガソリンエンジン式の船外機に特有の問題点を根本的に解消すべく、動力源に電動モータを備えた電動船外機が提案され実際に各地で運用されている。
【0003】
電動船外機は、その電源の配置位置により、2種類に大別され、電動船外機の本体部に電源を内蔵するタイプ(電源内蔵タイプ)と、電動船外機の外部(一般的には、電動船外機を取り付けた船体の中)に配置するタイプ(電源外付けタイプ)とがある。近年になって水素燃料電池を搭載するものも見かけるが、この場合も、この2種類のタイプに分けられる。これらのうち、本発明が対象とするのは、電源外付けタイプの電動船外機である。
【0004】
電動船外機の馬力の観点から見ると、小型のものは電源内蔵タイプが主流を占めるが、中型から大型のものになると電源外付けタイプが主流となる。このような電源外付けタイプの場合は(電源と電動船外機がセパレート型の場合は)、船内に電源を配置し、そこから電源側接続ケーブルを使って、電動船外機の本体に電力を引くことになるが、その途中に、電源側カプラと電動船外機側カプラとを接続して、外部電源からの電力を電動船外機に供給することが一般的である。
【0005】
この場合、電動船外機側カプラを、電動船外機の本体のいずれかの箇所から外部に露出した形態で配設するタイプと、この電動船外機側カプラ(以下、「接続カプラ」)を先端に有する電動船外機側接続ケーブル(以下、「接続ケーブル」と呼称する)を、電動船外機の本体のいずれかの箇所から引き出した後しかるべく配策するタイプとがある。この後者のタイプにおいても、更に、ケーブル配策において、接続ケーブルを、電動船外機の本体のいずれかの箇所に固定する(直接又は何らかの硬いプラスチック製配管を介して)タイプと、自由に垂れ下がるタイプとに分かれる。以下詳述する本発明は、この後者のタイプの電動船外機に特有に顕在化する、あるいは、表出する特有の課題を解決するものである。
【0006】
そこで、電動船外機の本体のいずれかの箇所から引き出した後の接続ケーブル及びその先端に具備された接続カプラが自由に垂れ下がるような電動船外機において、本発明者が初めて認識した特有の課題を解決する発明を開示した先行特許文献があるかどうかを調べるべく、「電動船外機」「ケーブル」「キャリングハンドル」のキーワードで、特許庁の特許情報プラットフォーム、J-PlatPatで検索したところ18件ヒットした。そのうち、電動船外機側の接続ケーブルの配策に関係していそうなものとして、以下の11件があった。
【先行技術文献】
【特許文献】
【0007】
特開2011-213217号公報
特開2011-213220号公報
特開2011-213239号公報
特開2011-213240号公報
特開2011-213241号公報
特開2013-39887号公報
特開2013-39888号公報
特開2013-39890号公報
特開2013-86589号公報
特開2014-172481号公報
特開2014-184824号公報
【発明の開示】
【発明が解決しようとする課題】
【0008】
しかし、いずれも、電動船外機本体から引き出された後は自由に垂れ下がることになる接続ケーブルの先端に接続カプラを有し、この接続カプラが、外部電源側カプラと接続されるタイプの、電源外付式電動船外機に関するものではない。
【0009】
なお、その代表的な特許文献6あるいは特許文献11を見ると図面上では船外機の近くに電源ユニットが配置されているように見えるので、電動船外機本体と外付式電源との間の電源ケーブルの長さは短いようにも見える。しかしながら、船外機も電源ユニットも共に重量物であるので、これらを相互に近づけて船に載せることは、船の重量バランスの観点からして好ましくない。この観点からすると、電源ユニットは、船外機から出来るだけ離れた船内箇所に配置することが好ましいと言える。しかしながら、電源カプラが、船外機本体に接続された電源ケーブルの端にしか無い場合には、それだけ、電源ケーブルの長さが長くなり、船外機を船体から取り外して保管するようなときに、その長い電源ケーブルの存在のために取り扱いが煩雑になると言う潜在的な問題を抱えることとなる。
【0010】
このように考えると、船外機本体に繋がる電源ケーブルの電源カプラをできるだけ船外機本体に近づけて電源ケーブルを配策することが好ましいことが理解できる。そして、船の操舵者の体の自然な動きを阻害しない工夫の観点、見栄えの観点、船外機を船体から取り外したときのハンドリングの容易性確保の観点、及び安全性に配慮しつつ電源ケーブルの配策をシンプルにして部品点数を少なくすることでコスト低減を図る観点等々の多面的な観点から、船外機本体と電源側カプラとの間の距離を短くしつつも(即ち、接続ケーブルを短くしつつも)、電源側カプラと接続される接続カプラの位置が、海水の飛沫の影響を比較的受け難い船体内(トランサムボードの前方側)に来るようにして、電源カプラは敢えて船体や船外機本体の露出側面に固定しない配策を採用することが好ましいとの結論に達した。
(【0011】以降は省略されています)
この特許をJ-PlatPat(特許庁公式サイト)で参照する
関連特許
トーハツ株式会社
電動船外機
3か月前
個人
水上遊具
5か月前
個人
川下り用船
12か月前
個人
洋上研究所
4か月前
個人
補助機構
8か月前
個人
津波防災ウエア
3か月前
個人
船用横揺防止具
9か月前
個人
コンパクトシティ船
8か月前
個人
渦流動力推進構造
8か月前
個人
セールのバテンガイド装置
4か月前
石田造船株式会社
内航船
16日前
炎重工株式会社
浮標
10か月前
個人
水質浄化・集熱昇温システム
5か月前
炎重工株式会社
浮標
10か月前
住友重機械工業株式会社
船舶
5か月前
株式会社フルトン
水中捕捉装置
8か月前
個人
船舶
10か月前
個人
スクリュープロペラ
8か月前
株式会社ラフティ
サーフボード
4か月前
ペアリ株式会社
海の環境改善装置
27日前
個人
回転式による流体流出防止タンカー
8か月前
オーケー工業株式会社
係留フック
9か月前
朝日電装株式会社
船外機用照明装置
3か月前
スズキ株式会社
船外機
6か月前
ヤマハ発動機株式会社
船外機
10か月前
株式会社アカデミー出版
船舶
4か月前
スズキ株式会社
船外機
6か月前
スズキ株式会社
船外機
8か月前
スズキ株式会社
船外機
8か月前
常石造船株式会社
メタノール燃料船
11か月前
炎重工株式会社
自律航行浮遊体
10か月前
ナブテスコ株式会社
主機制御システム
1か月前
株式会社ユピテル
システム及びプログラム等
7か月前
藤倉コンポジット株式会社
架台
11か月前
株式会社神戸タフ興産
船舶の甲板構造
12か月前
ヤマハ発動機株式会社
船外機および船舶
10か月前
続きを見る
他の特許を見る