TOP
|
特許
|
意匠
|
商標
特許ウォッチ
Twitter
他の特許を見る
10個以上の画像は省略されています。
公開番号
2025122160
公報種別
公開特許公報(A)
公開日
2025-08-20
出願番号
2025088515,2023517860
出願日
2025-05-28,2021-09-20
発明の名称
衝撃緩和構造体
出願人
ヘクサー リミテッド
代理人
個人
主分類
A42B
3/06 20060101AFI20250813BHJP(頭部に着用するもの)
要約
【課題】複数の層を有する衝撃緩和構造体を提供する。
【解決手段】ヘルメットは、衝撃緩和構造体(100)を含む。前記衝撃緩和構造体は、第1の内層(102)と、第2の外層(104)と、前記第1の内層と前記第2の外層との間に配置された反応層(105)とを含む。前記反応層は、前記第1の内層と前記第2の外層との間に保持される複数の要素(106)を含む。前記第2の層が衝撃を受ける際に、前記第1の内層と前記第2の外層の互いに対する運動を促進するために、前記反応層の複数の要素が転動するように構成されるように、前記反応層は配置されている。
【選択図】図1
特許請求の範囲
【請求項1】
衝撃緩和構造体を備えるヘルメットであって、前記衝撃緩和構造体は:
第1の内層;
第2の外層;及び
前記第1の内層と前記第2の外層との間に配置された反応層であり、前記第1の内層と前記第2の外層との間に保持される複数の要素を備える、前記反応層;
を備え、
前記第2の外層が衝撃を受ける際に、前記第1の内層と前記第2の外層との互いに対する運動を促進するために、前記反応層の複数の要素が転動するように構成されるように、前記反応層は配置されている、
前記ヘルメット。
続きを表示(約 1,000 文字)
【請求項2】
前記衝撃緩和構造体が衝撃を受ける際に、前記反応層、前記第1の内層、及び/又は前記第2の外層は、互いに対して実質的に自由に移動するように構成されている、請求項1に記載のヘルメット。
【請求項3】
前記第1の内層、前記第2の外層、及び/又は前記反応層は、前記衝撃緩和構造体が衝撃を受ける際に、その衝撃の回転エネルギーの大部分が前記反応層に伝わるように構成されている、請求項1又は2に記載のヘルメット。
【請求項4】
前記第1の内層、前記第2の外層、及び/又は前記反応層は、前記第1の内層を前記第2の外層から実質的に分断、及び/又は隔離するように構成されている、請求項1、2、又は3に記載のヘルメット。
【請求項5】
前記衝撃緩和構造体が衝撃を受ける際に、前記第1の内層と前記第2の外層とが分離するように配置されている、請求項1~4のいずれか一項に記載のヘルメット。
【請求項6】
前記衝撃緩和構造体が衝撃を受ける際に、前記第2の外層が前記衝撃緩和構造体の残部から剥離するように構成されるように、前記第2の外層は前記衝撃緩和構造体の残部に取り付けられている、請求項1~5のいずれか一項に記載のヘルメット。
【請求項7】
前記衝撃緩和構造体が少なくとも特定の力を有する衝撃を受ける際に、前記反応層は、前記複数の要素の転動を可能にするように配置されている、請求項1~6のいずれか一項に記載のヘルメット。
【請求項8】
前記反応層は、前記衝撃緩和構造体が衝撃を受ける際に、前記複数の要素が実質的に拘束されず、かつ自由に移動することができるように構成されている、請求項1~7のいずれか一項に記載のヘルメット。
【請求項9】
前記反応層は、前記衝撃緩和構造体が衝撃を受ける際に、前記複数の要素が実質的に無作為かつ無秩序な自由運動を行うように構成されている、請求項1~8のいずれか一項に記載のヘルメット。
【請求項10】
前記反応層は、前記衝撃緩和構造体が衝撃を受ける際に、前記複数の要素が前記衝撃によって解放されると、前記複数の要素が3次元に自由に移動するように構成されている、請求項1~9のいずれか一項に記載のヘルメット。
(【請求項11】以降は省略されています)
発明の詳細な説明
【技術分野】
【0001】
本発明は、衝撃緩和構造体に関するものであり、特に複数の層を有する衝撃緩和構造体に関するものである。
続きを表示(約 3,500 文字)
【背景技術】
【0002】
人又は物体が十分に大きい衝撃を受けると、人への傷害又は物体への損傷が発生する可能性がある。損傷又は傷害を与える可能性のある衝撃からの保護を提供する衝撃緩和構造体、特にヘルメット及びボディアーマーを製造するために多大の開発努力が費やされてきた。
【0003】
自転車、乗馬、又はロッククライミングなどのスポーツをすることにより負う可能性のある頭部外傷は、重大な脳損傷の一般的な原因となる。脳外傷は、頭部への局所的な衝撃、頭蓋内での急激な加速又は減速、又は衝撃と運動との両方の組み合わせのいずれかの結果として発生する可能性がある。したがって、衝撃保護具は、頭部への衝撃による脳損傷を防ぐ上で重要である。
【0004】
ヘルメットの形態の頭部保護具は、衝撃時にユーザーの頭部にかかる力を軽減するように設計されている。一般に、ヘルメットは、衝撃時にヘルメットが受ける力の一部を吸収するように設計された少なくとも1層の衝撃吸収層を備える。ボディアーマーも同様に、他の身体の部分を保護するものである。
【発明の概要】
【発明が解決しようとする課題】
【0005】
しかしながら、ヘルメット及びボディアーマーは、衝撃時に直線力と接線力との両方に対して適切な保護をもたらさないことが多い。斜めの衝撃が一般的であるため、衝撃は多くの場合、直線成分と接線成分との両方が含まれる。接線力は特に脳の回転加速をもたらし、これは架橋静脈の破裂に関連している。次いでこれは硬膜下血腫及びびまん性軸索損傷の原因となる可能性がある。また、衝撃時の接線力もまた、頚椎損傷の原因となり得る。
【課題を解決するための手段】
【0006】
本発明の目的は、改良された衝撃緩和構造体を提供することである。
【図面の簡単な説明】
【0007】
図1は、本発明の一実施形態による衝撃緩和構造体を示す模式断面図である。
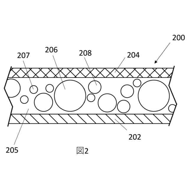
図2は、本発明の別の実施形態による衝撃緩和構造体を示す模式断面図である。
図3は、本発明の別の実施形態による衝撃緩和構造体を示す模式断面図である。
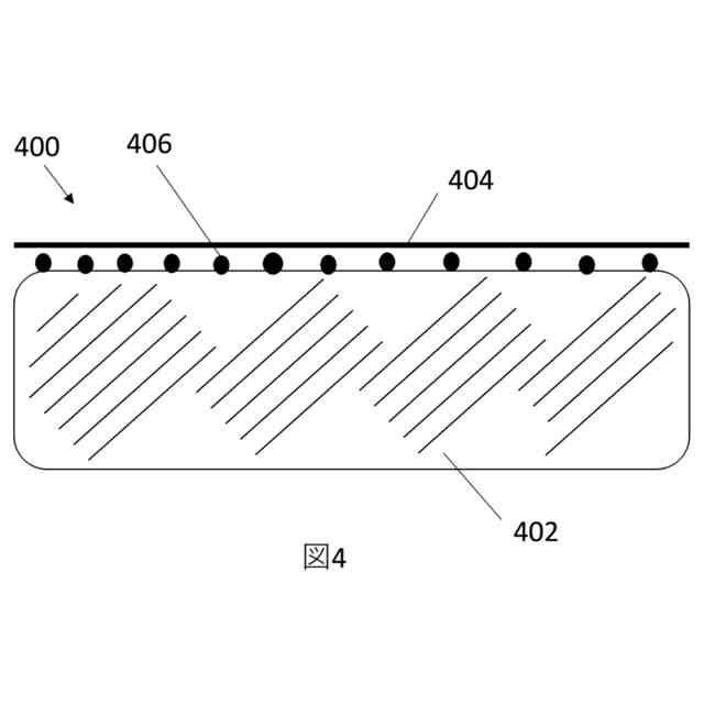
図4は、本発明の別の実施形態による衝撃緩和構造体を示す模式断面図である。
図5は、本発明の別の実施形態による衝撃緩和構造体を示す模式断面図である。
図6Aは、本発明の別の実施形態による衝撃緩和構造体を示す模式断面図である。
図6Bは、本発明の別の実施形態による衝撃緩和構造体を示す模式断面図である。
図7は、本発明の一実施形態による衝撃緩和構造体を示す模式図である。
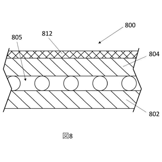
図8は、本発明の別の実施形態による衝撃緩和構造体を示す模式断面図である。
図9は、本発明の別の実施形態による衝撃緩和構造体を示す模式図である。
図10は、本発明の別の実施形態による衝撃緩和構造体を示す模式図である。
図11は、本発明の一実施形態による衝撃緩和構造体の様々な構成要素の運動を示す図である。
図12は、本発明の別の実施形態による衝撃緩和構造体の様々な構成要素の運動を示す図である。
図13は、本発明の別の実施形態による衝撃緩和構造体を示す模式図である。
図14、図15及び図16は、本発明の実施形態により反応層の接続部がどのように配置され得るかを模式的に示す。
図14、図15及び図16は、本発明の実施形態により反応層の接続部がどのように配置され得るかを模式的に示す。
図14、図15及び図16は、本発明の実施形態により反応層の接続部がどのように配置され得るかを模式的に示す。
図17は、本発明の別の実施形態による衝撃緩和構造体を示す模式図である。
図18、図19及び図20は、本発明の実施形態により反応層の円柱形要素がどのように配置され得るかを模式的に示す。
図18、図19及び図20は、本発明の実施形態により反応層の円柱形要素がどのように配置され得るかを模式的に示す。
図18、図19及び図20は、本発明の実施形態により反応層の円柱形要素がどのように配置され得るかを模式的に示す。
図21は、本発明の別の実施形態による衝撃緩和構造体を示す模式図である。
図22は、本発明の別の実施形態による衝撃緩和構造体を示す模式断面図である。
図23は、本発明の別の実施形態による衝撃緩和構造体を示す模式断面図である。
図24A及び図24Bは、本発明の別の実施形態による衝撃緩和構造体を示す模式断面図である。
図25は、本発明の別の実施形態による衝撃緩和構造体を示す模式断面図である。
図26は、本発明の別の実施形態による衝撃緩和構造体を示す模式断面図である。
図27は、本発明の別の実施形態による衝撃緩和構造体を示す模式断面図である。
図28は、本発明の別の実施形態による衝撃緩和構造体を示す模式断面図である。
図29は、本発明の別の実施形態による衝撃緩和構造体を示す模式断面図である。
図30A及び図30Bは、本発明の別の実施形態による衝撃緩和構造体を示す模式図である。
図31は、本発明の別の実施形態による衝撃緩和構造体を示す模式断面図である。
図32A及び図32Bは、本発明の別の実施形態による衝撃緩和構造体を示す模式断面図である。
図33A及び図33Bは、本発明の別の実施形態による衝撃緩和構造体を示す模式断面図である。
図34は、本発明の別の実施形態による衝撃緩和構造体を示す模式断面図である。
図35A及び図35Bは、本発明の別の実施形態による衝撃緩和構造体を示す模式断面図である。
図36は、本発明の別の実施形態による衝撃緩和構造体を示す模式分解図である。
図37は、本発明の別の実施形態による衝撃緩和構造体を示す模式分解図である。
図38及び図39は、本発明の一実施形態による衝撃緩和構造体から形成されたヘルメットを示す模式図である。
図38及び図39は、本発明の一実施形態による衝撃緩和構造体から形成されたヘルメットを示す模式図である。
【発明を実施するための形態】
【0008】
第1の態様から見ると、本発明は、衝撃緩和構造体を備えるヘルメットを提供し、前記衝撃緩和構造体は、
第1の内層;
第2の外層;及び
前記第1の内層と前記第2の外層との間に配置された反応層であって、前記第1の内層と前記第2の外層との間に保持される複数の要素を備える、前記反応層;
を備え、
前記第2の層が衝撃を受ける際に、前記第1の内層と前記第2の外層との互いに対する運動を促進するために前記反応層の複数の要素が転動するように構成されるように、前記反応層が配置されている。
【0009】
したがって、本発明は、衝撃緩和構造体を含むヘルメットを提供する。衝撃緩和構造体は、複数の層から形成されており(反応層は内側(第1)の層と外側(第2)の層との間に挟まれている)、前記反応層は、他の(例えば衝撃吸収)層の互いに対する運動を促進する(容易にする)。ヘルメット、特に衝撃緩和構造体の第2の(外)層が(例えば閾値を超える)衝撃を受ける際に、衝撃からの力の少なくとも一部が反応層に伝わる。これにより、複数の(例えば離散的な)要素の転動が引き起こされる。この反応層の複数の要素の転動運動により、第2の層が第1の(内)層に対して、及び/又はその逆で、移動(例えば、スライド又は回転)することができる。これらの層の運動は、衝撃時及び衝撃後に起こり得る。
【0010】
当業者は、衝撃緩和構造体内の反応層の提供が、第1の層と第2の層との間の複数の要素の転動により、第1の層と第2の層の互いに対する運動を促進し、互いに対する層の運動へ衝撃からのエネルギーの一部を移動するのに役立つことを理解するであろう。これは、ヘルメットが保護している頭部に移動するエネルギーの量が減少するように、衝撃からエネルギーを(例えば、反応層に)移動させるのに役立つ。
(【0011】以降は省略されています)
この特許をJ-PlatPat(特許庁公式サイト)で参照する
関連特許
個人
帽子
4か月前
個人
フレーム
8か月前
個人
瞬間日陰
6か月前
個人
頭部装着具
6か月前
個人
雨除け帽子
10か月前
個人
通気性帽子
10か月前
個人
健康帽子
10か月前
個人
かぶり物
8か月前
個人
熱中症対策帽子
5か月前
株式会社K設計
サウナハット
9か月前
株式会社TAT
冷却具
8か月前
株式会社コカジ
帽子の製造方法
11か月前
株式会社スペースシーファイブ
帽子
4か月前
個人
制振機能を有する疲労軽減ヘルメット
5か月前
有限会社トラッド
冷却装置付きヘルメット
3か月前
有限会社トップエンタープライズ
帽子
2か月前
東洋物産工業株式会社
分割ヘルメット
3か月前
株式会社トーヨーセーフティ
ヘルメット
1か月前
パイオニア株式会社
通信装置
23日前
パイオニア株式会社
通信装置
23日前
ミドリ安全株式会社
帽体、ヘルメット
6か月前
株式会社イエロー
頭部保護具用内装材
5か月前
ミドリ安全株式会社
インナーキャップ
5か月前
個人
スマートあご紐を有するヘルメット
2か月前
ミドリ安全株式会社
保護帽
6か月前
株式会社日曜発明ギャラリー
帽子等に用いる冷却構造
3か月前
ミドリ安全株式会社
保護帽
7か月前
株式会社アーテック
折り畳み式ヘルメット
11か月前
株式会社ダイセル
保護装置
2か月前
株式会社サンロード
帽子
10か月前
補装具工房スタンス株式会社
頭蓋形状誘導ヘルメット
4か月前
株式会社谷沢製作所
ヘルメット
2か月前
株式会社谷沢製作所
ヘルメット
2か月前
パイオニア株式会社
通信装置、ヘルメット
23日前
株式会社セフト研究所
スペーサ及びスペーサ付帽子
8か月前
株式会社谷沢製作所
産業用安全帽
10か月前
続きを見る
他の特許を見る