TOP
|
特許
|
意匠
|
商標
特許ウォッチ
Twitter
他の特許を見る
10個以上の画像は省略されています。
公開番号
2025121068
公報種別
公開特許公報(A)
公開日
2025-08-19
出願番号
2024016260
出願日
2024-02-06
発明の名称
コネクタ及びコネクタ装置
出願人
住友電装株式会社
代理人
弁理士法人暁合同特許事務所
主分類
H01R
13/64 20060101AFI20250812BHJP(基本的電気素子)
要約
【課題】小型化しやすいコネクタを提供する。
【解決手段】コネクタ10は、相手コネクタ60と嵌合可能なコネクタ10であって、第1方向に延びるキャビティ22を有するハウジング20と、キャビティ22内に配される端子11と、ハウジング20に対して待機位置と検知位置との間で移動可能に組み付けられる検知部材40と、を備え、ハウジング20には、キャビティ22内に配され且つ第1方向に直交する第2方向に弾性変形可能とされるランス24が形成され、ランス24は、検知部材40と第2方向に対向し、検知部材40は、ハウジング20と相手コネクタ60との嵌合が完了していない場合に待機位置から検知位置への移動を規制され、ハウジング20と相手コネクタ60との嵌合が完了している場合に待機位置から検知位置への移動を許容され、検知部材40は、検知部材40が待機位置にある場合に、ランス24が第2方向の一方側に弾性変形するときにランス24の撓み量を一定範囲に抑える過度撓み規制部42Bを備える。
【選択図】図5
特許請求の範囲
【請求項1】
相手コネクタと嵌合可能なコネクタであって、
第1方向に延びるキャビティを有するハウジングと、
前記キャビティ内に配される端子と、
前記ハウジングに対して待機位置と検知位置との間で移動可能に組み付けられる検知部材と、を備え、
前記ハウジングには、前記キャビティ内に配され且つ前記第1方向に直交する第2方向に弾性変形可能とされるランスが形成され、
前記ランスは、前記検知部材と前記第2方向に対向し、
前記検知部材は、前記ハウジングと前記相手コネクタとの嵌合が完了していない場合に前記待機位置から前記検知位置への移動を規制され、前記ハウジングと前記相手コネクタとの嵌合が完了している場合に前記待機位置から前記検知位置への移動を許容され、
前記検知部材は、前記検知部材が前記待機位置にある場合に、前記ランスが前記第2方向の一方側に弾性変形するときに前記ランスの撓み量を一定範囲に抑える過度撓み規制部を備える、コネクタ。
続きを表示(約 580 文字)
【請求項2】
前記ハウジングは、前記ランスが延出される第1壁部と、前記第1壁部から延びるロックアームと、を備える、請求項1に記載のコネクタ。
【請求項3】
前記ハウジングは、前記ランスが延出される第1壁部を備え、
前記第1壁部には、前記ランスの先端部を前記第1方向に露出する凹部が形成されている、請求項1または請求項2に記載のコネクタ。
【請求項4】
前記ハウジングは、前記ランスが延出される第1壁部を備え、
前記第1壁部は、前記検知部材と摺接する摺接面を有し、
前記ランスは、前記検知部材と対向し且つ前記摺接面より前記第2方向の他方側に配される対向面を有する、請求項1または請求項2に記載のコネクタ。
【請求項5】
前記ハウジングは、前記ランスが延出される第1壁部を備え、
前記検知部材は、前記第1壁部に摺接する本体部と、前記本体部から前記第1方向に延びるアーム部と、を備え、
前記過度撓み規制部は、前記アーム部に形成され、前記第1壁部より前記第2方向の一方側に配されている、請求項1または請求項2に記載のコネクタ。
【請求項6】
請求項1または請求項2に記載のコネクタと、
前記ハウジングに嵌合可能な相手コネクタと、を備える、コネクタ装置。
発明の詳細な説明
【技術分野】
【0001】
本開示は、コネクタ及びコネクタ装置に関する。
続きを表示(約 2,300 文字)
【背景技術】
【0002】
特許文献1には、ハウジングと、ハウジングのキャビティに収容される端子金具と、を備えたコネクタが開示されている。キャビティを構成する周壁部には、弾性変形可能なランスが形成されている。キャビティに挿入された端子金具は、ランスによって抜け止めされている。端子金具をキャビティから抜き取る際には、治具を用いてランスを撓ませ、端子金具に対するランスの係止を解除する。ハウジングには、ランスに対して、ランスの撓み許容空間を空けて対向する支持板が形成されている。治具を用いてランスを撓ませたときに、ランスが支持板に当たることによって、ランスの過度の撓みが防止される。
【先行技術文献】
【特許文献】
【0003】
特開2003-115345号公報
【発明の概要】
【発明が解決しようとする課題】
【0004】
上記のコネクタは、ランスの過度撓みを規制するための支持板が、撓み許容空間を空け
てランスと対向し、周壁部を覆うように配置されている。そのため、ハウジングに支持板を設けることによって、コネクタの全体が大型化する場合がある。
【0005】
本開示は上記のような事情に基づいて完成されたものであって、小型化しやすいコネクタを提供することを目的とする。
【課題を解決するための手段】
【0006】
本開示のコネクタは、相手コネクタと嵌合可能なコネクタであって、第1方向に延びるキャビティを有するハウジングと、前記キャビティ内に配される端子と、前記ハウジングに対して待機位置と検知位置との間で移動可能に組み付けられる検知部材と、を備え、前記ハウジングには、前記キャビティ内に配され且つ前記第1方向に直交する第2方向に弾性変形可能とされるランスが形成され、前記ランスは、前記検知部材と前記第2方向に対向し、前記検知部材は、前記ハウジングと前記相手コネクタとの嵌合が完了していない場合に前記待機位置から前記検知位置への移動を規制され、前記ハウジングと前記相手コネクタとの嵌合が完了している場合に前記待機位置から前記検知位置への移動を許容され、前記検知部材は、前記検知部材が前記待機位置にある場合に、前記ランスが前記第2方向の一方側に弾性変形するときに前記ランスの撓み量を一定範囲に抑える過度撓み規制部を備える、コネクタである。
【0007】
また、本開示のコネクタ装置は、上記のコネクタと、前記ハウジングに嵌合可能な相手コネクタと、を備える、コネクタ装置である。
【発明の効果】
【0008】
本開示によれば、小型化しやすいコネクタを提供することができる。
【図面の簡単な説明】
【0009】
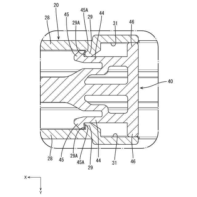
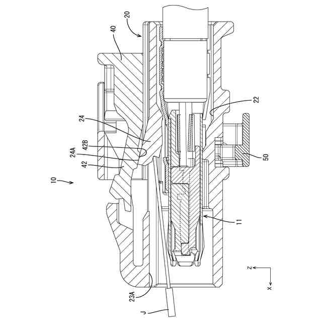
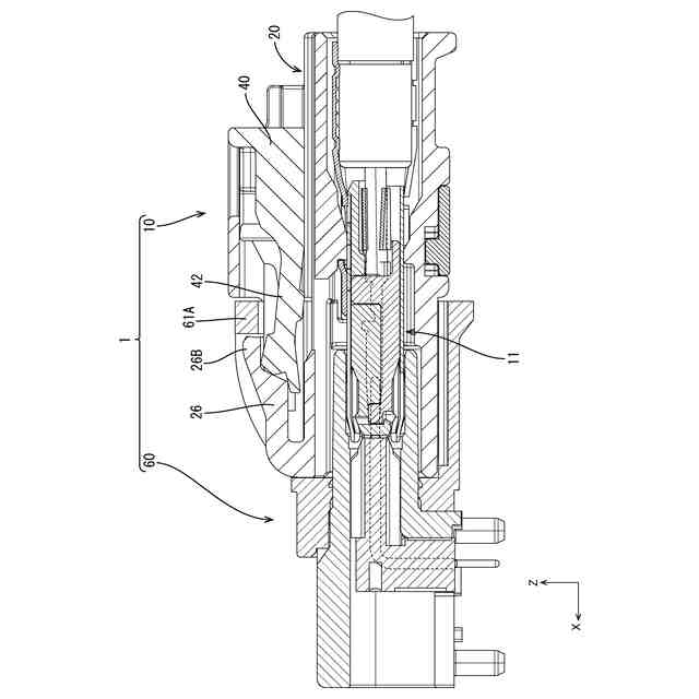
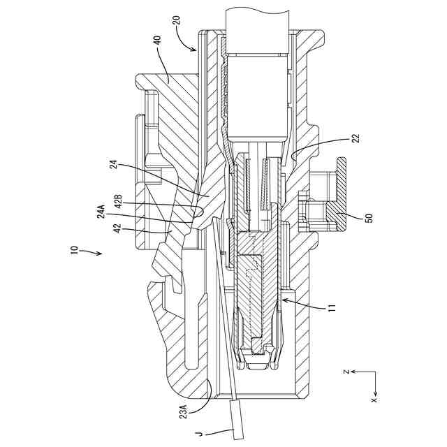
図1は、実施形態にかかるコネクタの正面図である。
図2は、図1のA-A断面において、検知部材が待機位置にある状態を示す図である。
図3は、図1のA-A断面において、検知部材が待機位置にあり、コネクタと相手コネクタとが嵌合完了した状態を示す図である。
図4は、図1のA-A断面において、検知部材が検知位置にある状態を示す図である。
図5は、図1のA-A断面において、端子のリペアを行う様子を示す図である。
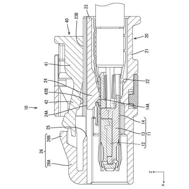
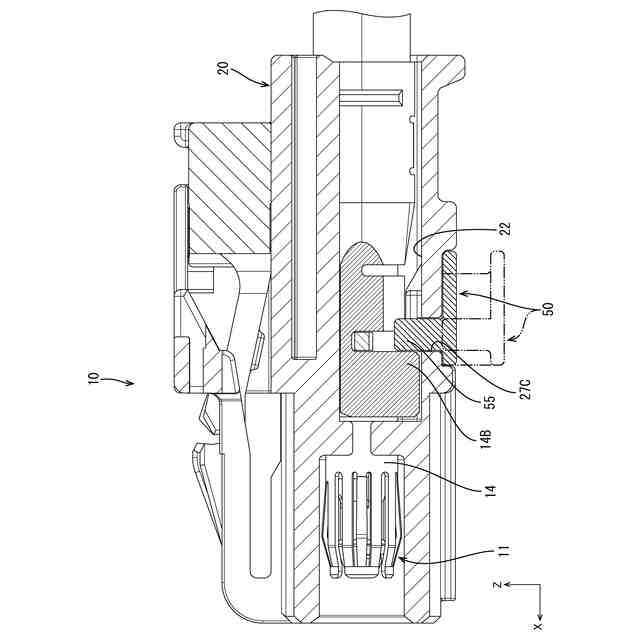
図6は、図1のB-B断面図である。
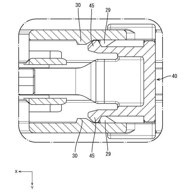
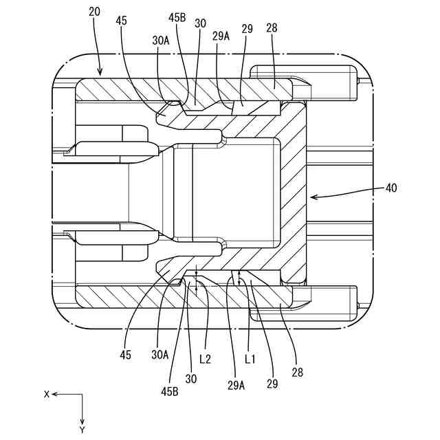
図7は、図1のC-C断面において、検知部材が待機位置にある状態を示す図である。
図8は、図1のD-D断面において、検知部材が待機位置にある状態を示す図である。
図9は、図1のD-D断面において、検知部材が検知位置にある状態を示す図である。
図10は、コネクタの側面図である。
図11は、図10のE-E断面図である。
図12は、図10のF-F断面において、リテーナが仮係止位置にある状態を示す図である。
図13は、図10のE-E断面において、リテーナが仮係止位置にある状態を示す図である。
図14は、ハウジングの斜視図である。
図15は、図1のC-C断面において、ハウジングを示す図である。
図16は、リテーナの斜視図である。
図17は、検知部材の後方斜視図である。
図18は、検知部材の前方斜視図である。
【発明を実施するための形態】
【0010】
[本開示の実施形態の説明]
最初に本開示の実施態様を列挙して説明する。
[1]本開示のコネクタは、相手コネクタと嵌合可能なコネクタであって、第1方向に延びるキャビティを有するハウジングと、前記キャビティ内に配される端子と、前記ハウジングに対して待機位置と検知位置との間で移動可能に組み付けられる検知部材と、を備え、前記ハウジングには、前記キャビティ内に配され且つ前記第1方向に直交する第2方向に弾性変形可能とされるランスが形成され、前記ランスは、前記検知部材と前記第2方向に対向し、前記検知部材は、前記ハウジングと前記相手コネクタとの嵌合が完了していない場合に前記待機位置から前記検知位置への移動を規制され、前記ハウジングと前記相手コネクタとの嵌合が完了している場合に前記待機位置から前記検知位置への移動を許容され、前記検知部材は、前記検知部材が前記待機位置にある場合に、前記ランスが前記第2方向の一方側に弾性変形するときに前記ランスの撓み量を一定範囲に抑える過度撓み規制部を備える。
(【0011】以降は省略されています)
この特許をJ-PlatPat(特許庁公式サイト)で参照する
関連特許
住友電装株式会社
端子台
13日前
住友電装株式会社
コネクタ
2日前
住友電装株式会社
コネクタ
13日前
住友電装株式会社
コネクタ
13日前
住友電装株式会社
コネクタ
23日前
住友電装株式会社
コネクタ
16日前
住友電装株式会社
コネクタ
13日前
住友電装株式会社
コネクタ
13日前
住友電装株式会社
コネクタ
9日前
住友電装株式会社
コネクタ
13日前
住友電装株式会社
コネクタ
13日前
住友電装株式会社
コネクタ
24日前
住友電装株式会社
コネクタ
9日前
住友電装株式会社
プロテクタ
3日前
住友電装株式会社
ワイヤハーネス
16日前
住友電装株式会社
コネクタユニット
24日前
住友電装株式会社
コネクタアセンブリ
11日前
住友電装株式会社
ダミー栓およびコネクタ
11日前
住友電装株式会社
ブラケット付きコネクタ
5日前
住友電装株式会社
電気接続箱および制御ユニット
4日前
住友電装株式会社
圧着端子、および端子付き電線
17日前
住友電装株式会社
端子台、及び端子台の製造方法
4日前
住友電装株式会社
ワイヤハーネス、及びグロメット
23日前
住友電装株式会社
絶縁構造体、及びワイヤハーネス
9日前
住友電装株式会社
プロテクタ、及びワイヤハーネス
9日前
住友電装株式会社
コネクタ及びコネクタアセンブリ
11日前
住友電装株式会社
コネクタおよびコネクタアセンブリ
24日前
住友電装株式会社
電線固定部材、及びワイヤハーネス
23日前
トヨタ自動車株式会社
車両の制御装置
10日前
株式会社オートネットワーク技術研究所
端子台
23日前
株式会社オートネットワーク技術研究所
コネクタ
5日前
株式会社オートネットワーク技術研究所
コネクタ
5日前
株式会社オートネットワーク技術研究所
コネクタ
5日前
株式会社オートネットワーク技術研究所
車載装置
3日前
株式会社オートネットワーク技術研究所
コネクタ
3日前
株式会社オートネットワーク技術研究所
基板装置
13日前
続きを見る
他の特許を見る