TOP
|
特許
|
意匠
|
商標
特許ウォッチ
Twitter
他の特許を見る
公開番号
2025119927
公報種別
公開特許公報(A)
公開日
2025-08-15
出願番号
2024015062
出願日
2024-02-02
発明の名称
粒子体検出装置、粒子体検出方法及び粒子体検出プログラム
出願人
国立大学法人千葉大学
,
株式会社オプトゲート
代理人
個人
,
個人
主分類
G01N
15/06 20240101AFI20250807BHJP(測定;試験)
要約
【課題】注目粒子体の局所的な位置を特定する粒子体検出装置を提供する。
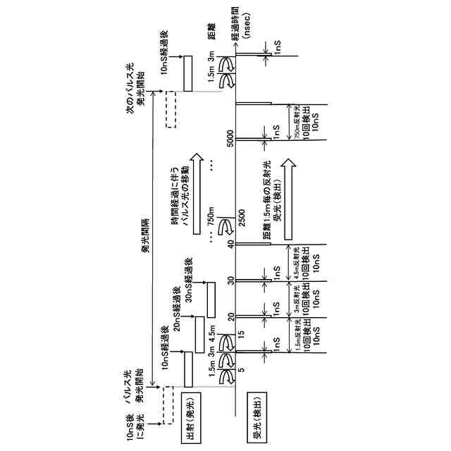
【解決手段】所定空間においてパルス光を出射する出射手段2と、所定空間に漂う粒子体Sで反射したパルス光を受光する受光手段3と、粒子体Sとして注目粒子体がパルス光の出射方向で局所的な位置に高密度で存在することを検出する検出部4と、検出部4の出力を記憶する記憶部5とを有する。検出部4は、パルス光の出射から受光手段3での受光までの時間差に基づき、粒子体Sまでの距離を換算して、距離に応じた受光手段3による反射光強度に基づく計数値を線グラフ化し、注目粒子体が存在しない場合の記憶部5で記憶している基準線グラフ5aである第1の線グラフと逐次に比較し、第1の線グラフに対して局所的な位置で凸状の増加面積が基準値を超える場合に、注目粒子体が局所的な位置に高密度で存在することを検出する。
【選択図】図1
特許請求の範囲
【請求項1】
所定空間においてパルス光を所定間隔で出射する出射手段と、
前記所定空間に漂う注目粒子体で反射した前記パルス光を受光する受光手段と、
前記注目粒子体が前記パルス光の出射方向で局所的な位置に高密度で存在することを検出する検出部とを有する粒子体検出装置であって、
前記検出部は、基準となる第1の線グラフを記憶し、前記パルス光の出射から前記受光手段の受光までの時間差に基づき、前記注目粒子体までの距離を換算して、前記距離に応じた前記受光手段の反射光強度に基づく計数値に対して線グラフ化し、
該線グラフ化した最新線グラフと、前記第1の線グラフと逐次に比較し、前記第1の線グラフに対して前記局所的な位置での増加面積が基準値を超えた場合に、前記注目粒子体が前記局所的な位置に高密度で存在する異常状態であると判定することを特徴とする粒子体検出装置。
続きを表示(約 1,400 文字)
【請求項2】
前記第1の線グラフは、多数回分の前記パルス光を含む集計時間の前記パルス光の受光に基づいて、曲線となる距離に応じた校正前計数閾値に対して、距離の2乗に比例する係数を乗じて距離に対して一定となる直線の閾値である校正後透過率閾値を有し、
前記検出部は、前記集計時間の前記パルス光の受光を集計した前記計数値に対して、前記係数を乗じて透過率を表した前記最新線グラフと、前記第1の線グラフとを逐次に比較し、該線グラフにおける前記校正後透過率閾値を底辺とする凸状の前記増加面積が前記基準値を超えた場合に、前記異常状態であると判定することを特徴とする請求項1に記載の粒子体検出装置。
【請求項3】
前記検出部は、前記集計時間の所定回数に渡って前記増加面積が前記基準値を超えた場合に、火災発生と判定することを特徴とする請求項2に記載の粒子体検出装置。
【請求項4】
前記検出部は、凸状の前記増加面積の形状から前記注目粒子体の周囲の雰囲気に対する状態を判別することを特徴とする請求項2又は3に記載の粒子体検出装置。
【請求項5】
凸状の前記増加面積が急峻な形状の場合は、前記注目粒子体が周囲の雰囲気に対して軽い状態であり、凸状の前記増加面積が平面状に拡がる緩慢な形状の場合は、前記注目粒子体が周囲の雰囲気に対して重い状態であることを特徴とする請求項4に記載の粒子体検出装置。
【請求項6】
前記パルス光は、水平方向に出射されるレーザー光、又は水平面内に走査されるレーザーライダー光であることを特徴とする請求項2又は3に記載の粒子体検出装置。
【請求項7】
基準となる第1の線グラフを記憶するサーバを備え、所定空間においてパルス光を所定間隔で出射し、前記所定空間に漂う粒子体で反射した前記パルス光を受光し、前記粒子体として注目粒子体が前記パルス光の出射方向で局所的な位置に高密度で存在することを検出する粒子体検出方法であって、
前記サーバは、前記パルス光の出射から受光までの時間差に基づき、前記注目粒子体が存在しない場合の前記粒子体までの距離を換算して、前記距離に応じた反射光強度に基づく計数値を線グラフ化した最新線グラフを記憶するステップと、
前記第1の線グラフに対して、前記最新線グラフにおける前記局所的な位置での増加面積が基準値を超える場合に、前記注目粒子体が前記局所的な位置に高密度で存在する異常状態であると判定するステップと、
を備えることを特徴とする粒子体検出方法。
【請求項8】
基準となる第1の線グラフを記憶するサーバを備え、所定空間においてパルス光を所定間隔で出射し、前記所定空間に漂う粒子体で反射した前記パルス光を受光し、前記粒子体として注目粒子体が前記パルス光の出射方向で局所的な位置に高密度で存在することを検出するに際し、
前記サーバに、前記パルス光の出射から受光までの時間差に基づき、注目粒子体が存在しない場合の前記粒子体までの距離を換算して、前記距離に応じた反射光強度に基づく計数値を線グラフ化した最新線グラフを記憶するステップと、
前記第1の線グラフに対して、前記最新線グラフにおける前記局所的な位置での増加面積が基準値を超える場合に、前記注目粒子体が前記局所的な位置に高密度で存在することを検出するステップと、
を少なくとも実行させることを特徴とする粒子体検出プログラム。
発明の詳細な説明
【技術分野】
【0001】
本発明は、例えば火災に由来する煙に係る粒子体として、粒子径が通常の粒子体である埃よりも小さい注目粒子体を局所的に高密度で存在位置を特定できる粒子体検出装置、粒子体検出方法及び粒子体検出プログラムに関するものである。
続きを表示(約 1,700 文字)
【背景技術】
【0002】
特許文献1には、例えば閉空間としての室内に漂う注目粒子体を検出する火災検出器として、天井の真中位置を定点とする所定空間に設けられる火災検出器が開示されている。また、特許文献2には光学式火災検出器が開示されている。
【先行技術文献】
【特許文献】
【0003】
実開昭57-188213号公報
特開2020-038203号公報
【発明の概要】
【発明が解決しようとする課題】
【0004】
しかし、特許文献1では、特定の定点位置に設けられた火災検出器から離れた位置での早期火災による小さな粒子による煙を検出することが困難である。
【0005】
また、特許文献2では、光源からの光の出射方向に注目粒子体が発生している局所的な位置を特定することが困難であり、線上又は面上での位置を含んだ検出はできない。
【0006】
本発明の目的は、上述の課題を解決し、パルス光の出射方向において注目粒子体を生じている局所的な位置を特定できる粒子体検出装置、粒子体検出方法及び粒子体検出プログラムを提供することにある。
【0007】
更には、新規な粒子体検出装置としての産業用小型ライダーを提供することにある。
【課題を解決するための手段】
【0008】
上記目的を達成するための、本発明に係る粒子体検出装置は、所定空間においてパルス光を所定間隔で出射する出射手段と、前記所定空間に漂う注目粒子体で反射した前記パルス光を受光する受光手段と、前記注目粒子体が前記パルス光の出射方向で局所的な位置に高密度で存在することを検出する検出部とを有する粒子体検出装置であって、前記検出部は、基準となる第1の線グラフを記憶し、前記パルス光の出射から前記受光手段の受光までの時間差に基づき、前記注目粒子体までの距離を換算して、前記距離に応じた前記受光手段の反射光強度に基づく計数値に対して線グラフ化し、該線グラフ化した最新線グラフと、前記第1の線グラフと逐次に比較し、前記第1の線グラフに対して前記局所的な位置での増加面積が基準値を超えた場合に、前記注目粒子体が前記局所的な位置に高密度で存在する異常状態であると判定することを特徴とする。
【0009】
また、本発明に係る粒子体検出方法は、基準となる第1の線グラフを記憶するサーバを備え、所定空間においてパルス光を所定間隔で出射し、前記所定空間に漂う粒子体で反射した前記パルス光を受光し、前記粒子体として注目粒子体が前記パルス光の出射方向で局所的な位置に高密度で存在することを検出する粒子体検出方法であって、前記サーバは、前記パルス光の出射から受光までの時間差に基づき、前記注目粒子体が存在しない場合の前記粒子体までの距離を換算して、前記距離に応じた反射光強度に基づく計数値を線グラフ化した最新線グラフを記憶するステップと、前記第1の線グラフに対して、前記最新線グラフにおける前記局所的な位置での増加面積が基準値を超える場合に、前記注目粒子体が前記局所的な位置に高密度で存在する異常状態であると判定するステップと、
を備えることを特徴とする。
【0010】
更に、本発明に係る粒子体検出プログラムは、基準となる第1の線グラフを記憶するサーバを備え、所定空間においてパルス光を所定間隔で出射し、前記所定空間に漂う粒子体で反射した前記パルス光を受光し、前記粒子体として注目粒子体が前記パルス光の出射方向で局所的な位置に高密度で存在することを検出するに際し、前記サーバに、前記パルス光の出射から受光までの時間差に基づき、注目粒子体が存在しない場合の前記粒子体までの距離を換算して、前記距離に応じた反射光強度に基づく計数値を線グラフ化した最新線グラフを記憶するステップと、前記第1の線グラフに対して、前記最新線グラフにおける前記局所的な位置での増加面積が基準値を超える場合に、前記注目粒子体が前記局所的な位置に高密度で存在することを検出するステップと、を少なくとも実行させることを特徴とする。
【発明の効果】
(【0011】以降は省略されています)
この特許をJ-PlatPat(特許庁公式サイト)で参照する
関連特許
国立大学法人千葉大学
抗真菌剤
7か月前
国立大学法人千葉大学
表示素子
5か月前
国立大学法人千葉大学
フルコンバータ
2か月前
国立大学法人千葉大学
副室式エンジン
2か月前
国立大学法人千葉大学
アンモニア吸蔵材
7か月前
国立大学法人千葉大学
照明器具及びフィルタ
1か月前
国立大学法人千葉大学
成膜装置及び成膜方法
2か月前
国立大学法人千葉大学
自由エネルギーの計算方法
4か月前
国立大学法人千葉大学
設計支援装置および設計支援方法
7か月前
スタンレー電気株式会社
観測装置
5か月前
スタンレー電気株式会社
観測装置
2か月前
個人
光渦を用いた神経性疾患の治療装置
1か月前
キッコーマン株式会社
酪酸菌の生育促進剤
6か月前
国立大学法人千葉大学
樹脂用可塑剤として有用な新規イソソルビド誘導体
2か月前
国立大学法人千葉大学
架橋構造を有する脂肪族ポリカーボネートの製造方法
2か月前
キッコーマン株式会社
酪酸又は乳酸の産生量増強剤
6か月前
国立大学法人千葉大学
エポキシド類製造用触媒、及び、エポキシド類の製造方法
1か月前
国立大学法人千葉大学
画像処理装置、画像機器、画像処理方法、及びプログラム
3か月前
国立大学法人千葉大学
粒子体検出装置、粒子体検出方法及び粒子体検出プログラム
3か月前
国立大学法人千葉大学
画像処理装置、画像処理システム、画像処理方法及びプログラム
2か月前
日清紡ホールディングス株式会社
培養液、イチゴ栽培施設およびイチゴ栽培方法
5か月前
国立大学法人千葉大学
アンジオテンシン変換酵素II(ACE2)に対する高親和性モノクローナル抗体
7か月前
国立大学法人千葉大学
炭素繊維強化樹脂とガラス繊維強化樹脂とを含む材料組成物から炭素繊維を回収する方法
2か月前
岡本化学工業株式会社
カチオン重合開始剤およびそれを用いた光学的立体造形用組成物
2か月前
国立大学法人千葉大学
水素発生触媒、水素発生触媒の活性化用組成物、水素発生装置および水素発生触媒の活性化方法
2か月前
国立大学法人千葉大学
R-ケタミンおよびその塩の医薬品としての応用
7か月前
国立大学法人千葉大学
副作用情報検索システム、副作用情報検索装置、副作用情報検索方法、及びコンピュータプログラム
2か月前
国立大学法人千葉大学
水素発生合金、水素発生合金の使用方法、マグネシウム電池用負極材、発電用水素発生剤、水素吸蔵合金及びポーラス金属材
3か月前
国立大学法人千葉大学
コロイド結晶構造の作製方法、コロイド結晶構造の転写方法、転写物、コロイド粒子、コロイド結晶構造、コロイド結晶膜およびコロイド結晶構造を作製するための組成物
6か月前
日本精機株式会社
検出装置
13日前
個人
採尿及び採便具
19日前
個人
高精度同時多点測定装置
1か月前
個人
計量機能付き容器
8日前
個人
アクセサリー型テスター
1か月前
甲神電機株式会社
電流検出装置
13日前
株式会社ミツトヨ
測定器
25日前
続きを見る
他の特許を見る