TOP
|
特許
|
意匠
|
商標
特許ウォッチ
Twitter
他の特許を見る
公開番号
2025115337
公報種別
公開特許公報(A)
公開日
2025-08-06
出願番号
2024009839
出願日
2024-01-25
発明の名称
封止装置及び封止方法
出願人
株式会社KY7
代理人
主分類
B65B
51/14 20060101AFI20250730BHJP(運搬;包装;貯蔵;薄板状または線条材料の取扱い)
要約
【課題】全体的に小型化及び軽量化した、装置全体の構成がシンプルで製造コストを低減することのできる封止装置を提供する。
【解決手段】容器を載せ置くための載置部15と、蓋体で容器を封止するためのエネルギーを付与するための封止力付与部と、封止力付与部と載置部に置かれた容器との間に所定距離の間隔が形成される位置である第1位置と、封止力付与部と容器に載置された蓋体に対して所定量の力を付与する位置である第2位置との間で封止力付与部及び/又は容器を移動させる移動機構と、を備え、移動機構は、封止力付与部を第1位置と第2位置との間の移動を案内する案内部材と、封止力付与部に設けられ案内部材に沿って封止力付与部を第1位置と第2位置との間を移動する移動体とを備え、案内部材は、封止力付与部を平面視した時に、封止力付与部の中心から所定離離れた位置であって、且つ互いに点対称となる位置からずれた位置に設けられている。
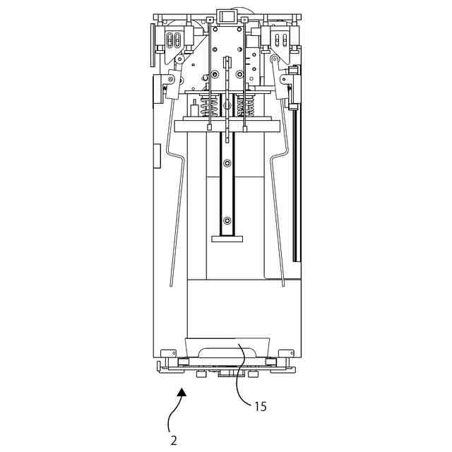
【選択図】図1
特許請求の範囲
【請求項1】
容器の開口部を蓋体で封止することができるように構成されており、
前記容器を載せ置くための載置部と、
前記蓋体で容器を封止するためのエネルギーを付与するための封止力付与部と、
前記封止力付与部と前記載置部に置かれた前記容器との間に所定距離の間隔が形成される位置である第1位置と、前記封止力付与部と前記容器に載置された前記蓋体に対して所定量の力を付与する位置である第2位置との間で前記封止力付与部及び/又は前記容器を移動させる移動機構と、を備え、
前記移動機構は、前記封止力付与部を前記第1位置と前記第2位置との間の移動を案内する案内部材と、前記封止力付与部に設けられ前記案内部材に沿って前記封止力付与部を前記第1位置と前記第2位置との間を移動する移動体とを備え、
前記案内部材は、前記封止力付与部を平面視した時に、該封止力付与部の中心から所定離離れた位置であって、且つ互いに点対称となる位置からずれた位置に設けられている、封止装置。
続きを表示(約 1,500 文字)
【請求項2】
容器の開口部を蓋体で封止することができるように構成されており、
前記容器を載せ置くための載置部と、
前記蓋体で容器を封止するためのエネルギーを付与するための封止力付与部と、
前記封止力付与部と前記載置部に置かれた前記容器との間に所定距離の間隔が形成される位置である第1位置と、前記封止力付与部と前記容器に載置された前記蓋体に対して所定量の力を付与する位置である第2位置との間で前記封止力付与部及び/又は前記容器を移動させる移動機構と、
前記封止力付与部及び/又は前記容器を前記移動機構に沿って移動させるための駆動力を付与する駆動力付与部と、を備え、
前記駆動力付与部は、駆動力を発生させる駆動力発生部と、前記駆動力発生部から発生した前記駆動力を前記封止力付与部に伝える伝達部材とを備え、
前記封止力付与部は、連結部材を有しており、
前記連結部材は、前記伝達部材の所定箇所と連結されている、
封止装置。
【請求項3】
前記封止力付与部及び/又は前記容器を前記移動機構に沿って移動させるための駆動力を付与する駆動力付与部を備え、
前記駆動力付与部は、駆動力を発生させる駆動力発生部と、前記駆動力発生部から発生した前記駆動力を前記封止力付与部に伝える伝達部材とを備え、
前記封止力付与部は、連結部材を有しており、
前記連結部材は、前記伝達部材の所定箇所と連結されている、
請求項1に記載の封止装置。
【請求項4】
前記封止装置の外郭を確定するための筐体と、
前記筐体の内部に形成されている前記容器を載置するための載置空間とを備え、
前記載置部は、前記容器を前記載置空間に位置させる第1の位置と、前記容器を前記載置空間外に位置させる第2の位置との間で移動することができるように構成されている、請求項1又は2に記載の封止装置。
【請求項5】
前記筐体は幅方向に一対の側板を備えており、
前記載置部は、前記一対の側板に対して前記第1の位置と前記第2の位置との間でスライド移動することができるように構成されている、
請求項4に記載の封止装置。
【請求項6】
前記載置部は、載置された前記容器を所定位置に位置決めするための容器位置決め部を有する、請求項1又は2に記載の封止装置。
【請求項7】
前記容器位置決め部は、前記容器を載置する領域を囲むように形成された壁体と、前記壁体の内側に向けて、前記載置部に載置された前記容器を押圧する押圧体を有し、
前記押圧体は、一端部と、前記一端部と反対側に位置する他端部と、前記一端部及び前記他端部の間に形成された折り曲げ部とを有し、前記一端部が前記壁体に取り付けられており、前記折り曲げ部が前記他端部を前記壁体の内側へ向くように折り曲げ形成されている、請求項5に記載の封止装置。
【請求項8】
前記載置部は、前記第1の位置と前記第2の位置との間で移動するための移動力を付与するための移動力付与部を備えた、請求項4に記載の封止装置。
【請求項9】
前記移動力付与部は、前記載置部が前記第1の位置と前記第2の位置との間において所定量移動した後に前記移動力を付与する、請求項8に記載の封止装置。
【請求項10】
前記載置部は、前記移動力付与部に加えて、前記第1の位置及び/又は前記第2の位置にダンパー部材が設けられている、請求項8に記載の封止装置。
(【請求項11】以降は省略されています)
発明の詳細な説明
【技術分野】
【0001】
本発明は、容器に蓋体を接合することにより容器を封止するための封止装置、及び当該封止装置による封止方法に関する発明である。
続きを表示(約 4,800 文字)
【0002】
封止装置は、容器の開口部に蓋体を封止することを目的として広く利用されている。例えば、スーパーマーケット等の店舗は、飲料や総菜等の飲食料品(以下、「商品」、「内容物」と言うことがある。)を提供している。店舗は、商品を提供する場合には、商品をそのまま購入者に手渡しするのではなく、商品を容器に入れ、容器の開口部を蓋体で封止した状態で提供する。店舗において従来から行われている商品の提供方法は、すでに容器の中に入れられている状態の商品を棚当に予め陳列しておき、購入者がその陳列された商品を選んで購入するという方法である。この提供方法は、商品を容器の中に入れることと、その容器の開口部を蓋体で封止する作業を店舗の従業員が行っている。近年は、このような商品の提供方法に加えて、商品を容器の中に入れることと、その容器の開口部を蓋体で封止することを購入者が行うという、新たな提供方法が広まっている。この提供方法は、現在では、例えばコンビニエンスストアにおいてコーヒーなどの飲料物を提供する場合に行われていることが多い。
【0003】
容器の開口部に蓋をする態様は種々存在する。その中の一つの態様は、容器の開口部の周縁に形成された縁部に蓋体を接合する態様である。この態様の場合、蓋体は容器の縁部に接合される。そのため、容器は、内部が密封された状態になる。蓋体を接合するための方法は、例えば、容器と蓋体に熱を加えて、これら容器と蓋体とを接合するヒートシール法や、容器と蓋体に超音波を加えて、これら容器と蓋体とを接合する超音波溶着法などがある。以下においては、この容器に蓋体を接合することを、「容器に蓋体をシールする」と言うことがある。
【0004】
容器に蓋体をシールするために従来から知られている方法は、シール装置(封止装置とも言う。)を用いる方法である。シール装置は、その設置場所や容器に蓋体をシールする頻度等、複数の要求に応じて様々な態様のものが存在する。そのようなシール装置の一つの態様として開示されているのが、下記の特許文献1において開示されているシール装置である。このシール装置は、容器を支持する容器支持座を備えている。容器支持座は、容器を収納することができるように構成されている。このシール装置は移動機構を備えており、シール装置よりも外側の位置とシール装置の内側の位置との間で容器支持座を移動することができるように構成されている。また、このシール装置は、容器支持座が内側の位置にある場合に、該容器支持座よりも上方の位置にフィルム押し圧機構と呼ばれるヒーターが設けられている。ヒーターは、通常は容器支持座よりも上方に位置しており、容器にフィルムを熱シールするときに下方へ動作し、所定時間だけフィルムを容器に押し当てるとともに熱を与えて、容器に蓋を接合する。フィルムを容器に押し当てる動作は所定時間経過すると終了し、所定時間経過した後は容器支持座よりも上方の位置まで動作する。
【先行技術文献】
【特許文献】
【0005】
実用新案登録第3152023号公報
【発明の概要】
【発明が解決しようとする課題】
【0006】
上記した特許文献1に記載されているシール装置は、上記したヒーターが上下動するための動作を行うにあたり、モーターの回転力を用いている。具体的には、モーターは回転軸を有しており、この回転軸には偏心ブロックの一端が取り付けられている。そして、偏心ブロックの他端には、連結稈の一端が連結され、この連結稈の他端がヒーターと連結している電動ブロックに連結されている。特許文献1に記載されているシール機は、モーターの回転軸が回転すると、該回転軸の回転動作によって、偏心ブロックが一端を中心として回動動作を開始する。この偏心ブロックが回動すると、該偏心ブロックの他端に連結されている連結稈を介してヒーターを押し下げる方向へと動作する。すなわち、特許文献1に記載されているシール機は、「てこの原理」を用いてモーターの回転力をヒーターによる押圧力へと変換することにより、蓋体をシールすることを実現している。
【0007】
従来のシール機は、容器に対して蓋体をシールする場合には、熱を加えることと、大きな力を加えることが必要とされていた。そのため、特許文献1に記載されているシール機にも示されている通り、ヒーターを上下動させるためのモーター等の各種部材は、ヒーターの上方に設けられていることが多かった。また、従来のシール装置は、ヒーターによって容器に付与する力の大きさが大きかったため、その付与するための力を発生させるモーターもかなり大型のものを用いることが多かった。そのため、従来のシール装置の場合には、シール機の上部に重量のある部品を搭載することが多く、装置全体の重心の位置が高くなりがちで、設置した時にシール装置が全体的に不安定なるおそれが生じていた。また、従来のシール装置は、容器に蓋体をシールする際に付与する押圧力を大きくすることが求められていため、容器支持座などもヒータにより付与される力に対する耐久性を持たせる必要があった。そのため、シール装置全体が大型化するとともに重量化し、さらには部品点数が増大することに伴って製造コストも大幅に上昇しがちであるといった課題を含んでおり、これらの課題を解決し、小型化及び軽量化しつつ、部品点数を減らして製造コストも低減することが要請されていた。また、従来のシール装置では、ヒーターを上下動させる際に案内レール等を用いることにより、上下動するヒーターの位置のブレが低減されるように構成されていた。一般的に、従来のシール装置においては、この案内レール等を配置するのはヒーターを平面視した場合における中心を中心としたときに、左右方向(幅方向)の側方部分にそれぞれ点対象の位置に案内レールを設けることが多かった。しかし、このように、案内レールを上記した点対象の位置に設けると、ヒーターの特に前後方向における意図しない傾きが生じるおそれがあり、ヒートシールした時の容器と蓋と接合力にバラつきが生じやすいといった問題もあった。
【0008】
本発明は、このような従来のシール機が有する課題を解決するためになされたものであり、全体的に小型化及び軽量化することができ、且つ装置全体の構成をシンプルなものにすることにより製造コストを低減することのできる封止装置を提供することを目的とする。
【課題を解決するための手段】
【0009】
本発明は、下記に(1)から(11)までを要旨とする。
(1)容器の開口部を蓋体で封止することができるように構成されており、前記容器を載せ置くための載置部と、前記蓋体で容器を封止するためのエネルギーを付与するための封止力付与部と、前記封止力付与部と前記載置部に置かれた前記容器との間に所定距離の間隔が形成される位置である第1位置と、前記封止力付与部と前記容器に載置された前記蓋体に対して所定量の力を付与する位置である第2位置との間で前記封止力付与部及び/又は前記容器を移動させる移動機構と、を備え、前記移動機構は、前記封止力付与部を前記第1位置と前記第2位置との間の移動を案内する案内部材と、前記封止力付与部に設けられ前記案内部材に沿って前記封止力付与部を前記第1位置と前記第2位置との間を移動する移動体とを備え、前記案内部材は、前記封止力付与部を平面視した時に、該封止力付与部の中心から所定離離れた位置であって、且つ互いに点対称となる位置からずれた位置に設けられている、封止装置。
(2)容器の開口部を蓋体で封止することができるように構成されており、前記容器を載せ置くための載置部と、前記蓋体で容器を封止するためのエネルギーを付与するための封止力付与部と、前記封止力付与部と前記載置部に置かれた前記容器との間に所定距離の間隔が形成される位置である第1位置と、前記封止力付与部と前記容器に載置された前記蓋体に対して所定量の力を付与する位置である第2位置との間で前記封止力付与部及び/又は前記容器を移動させる移動機構と、前記封止力付与部及び/又は前記容器を前記移動機構に沿って移動させるための駆動力を付与する駆動力付与部と、を備え、前記駆動力付与部は、駆動力を発生させる駆動力発生部と、前記駆動力発生部から発生した前記駆動力を前記封止力付与部に伝える伝達部材とを備え、前記封止力付与部は、連結部材を有しており、前記連結部材は、前記伝達部材の所定箇所と連結されている、封止装置。
(3)前記封止力付与部及び/又は前記容器を前記移動機構に沿って移動させるための駆動力を付与する駆動力付与部を備え、前記駆動力付与部は、駆動力を発生させる駆動力発生部と、前記駆動力発生部から発生した前記駆動力を前記封止力付与部に伝える伝達部材とを備え、前記封止力付与部は、連結部材を有しており、前記連結部材は、前記伝達部材の所定箇所と連結されている、上記(1)に記載の封止装置。
(4)前記封止装置の外郭を確定するための筐体と、前記筐体の内部に形成されている前記容器を載置するための載置空間とを備え、前記載置部は、前記容器を前記載置空間に位置させる第1の位置と、前記容器を前記載置空間外に位置させる第2の位置との間で移動することができるように構成されている、上記(1)又は(2)に記載の封止装置。
(5)前記筐体は幅方向に一対の側板を備えており、前記載置部は、前記一対の側板に対して前記第1の位置と前記第2の位置との間でスライド移動することができるように構成されている、上記(4)に記載の封止装置。
(6)前記載置部は、載置された前記容器を所定位置に位置決めするための容器位置決め部を有する、上記(1)又は(2)に記載の封止装置。
(7)前記容器位置決め部は、前記容器を載置する領域を囲むように形成された壁体と、前記壁体の内側に向けて、前記載置部に載置された前記容器を押圧する押圧体を有し、前記押圧体は、一端部と、前記一端部と反対側に位置する他端部と、前記一端部及び前記他端部の間に形成された折り曲げ部とを有し、前記一端部が前記壁体に取り付けられており、前記折り曲げ部が前記他端部を前記壁体の内側へ向くように折り曲げ形成されている、上記(5)に記載の封止装置。
(8)前記載置部は、前記第1の位置と前記第2の位置との間で移動するための移動力を付与するための移動力付与部を備えた、上記(4)に記載の封止装置。
(9)前記移動力付与部は、前記載置部が前記第1の位置と前記第2の位置との間において所定量移動した後に前記移動力を付与する、上記(8)に記載の封止装置。
(10)前記載置部は、前記移動力付与部に加えて、前記第1の位置及び/又は前記第2の位置にダンパー部材が設けられている、上記(8)に記載の封止装置。
(11)前記容器に対して蓋体を所定の位置に載置する蓋体位置決め部が設けられている、上記(1)又は(2)に記載の封止装置。
【発明の効果】
【0010】
本発明によれば、従来よりも小さな封止力で容器に蓋体をシールすることができる。また、本発明によれば、封止装置全体の小型化及び軽量化を図ることも可能になる。
【図面の簡単な説明】
(【0011】以降は省略されています)
この特許をJ-PlatPat(特許庁公式サイト)で参照する
関連特許
個人
収容箱
2か月前
個人
コンベア
4か月前
個人
段ボール箱
6か月前
個人
ゴミ収集器
6か月前
個人
段ボール箱
6か月前
個人
宅配システム
6か月前
個人
楽ちんハンド
4か月前
個人
角筒状構造体
5か月前
個人
バンド
1か月前
個人
土嚢運搬器具
8か月前
個人
コード類収納具
7か月前
個人
お薬の締結装置
5か月前
個人
包装容器
23日前
個人
廃棄物収容容器
2か月前
個人
ゴミ処理機
8か月前
個人
把手付米袋
4か月前
株式会社コロナ
梱包材
5か月前
株式会社バンダイ
物品
4日前
個人
貯蔵サイロ
6か月前
株式会社和気
包装用箱
8か月前
個人
積み重ね用補助具
2か月前
個人
蓋閉止構造
3か月前
個人
蓋閉止構造
3か月前
個人
袋入り即席麺
6か月前
株式会社KY7
封止装置
2か月前
株式会社新弘
容器
2か月前
株式会社イシダ
搬送装置
5か月前
個人
搬送システム
6か月前
三甲株式会社
容器
5か月前
三甲株式会社
容器
1か月前
個人
コード折り畳み器具
3か月前
三甲株式会社
蓋体
7か月前
個人
介護用コップ
1か月前
個人
輸送積荷用動吸振器
5か月前
三甲株式会社
容器
5か月前
個人
袋の自立保持具
4か月前
続きを見る
他の特許を見る