TOP
|
特許
|
意匠
|
商標
特許ウォッチ
Twitter
他の特許を見る
10個以上の画像は省略されています。
公開番号
2025113838
公報種別
公開特許公報(A)
公開日
2025-08-04
出願番号
2024008211
出願日
2024-01-23
発明の名称
コンバイン
出願人
井関農機株式会社
代理人
弁理士法人新大阪国際特許事務所
主分類
A01F
12/54 20060101AFI20250728BHJP(農業;林業;畜産;狩猟;捕獲;漁業)
要約
【課題】扱胴の右側方に設けた2番処理胴の後側に排塵処理胴を設け、扱胴の後方に排塵ファンを設け、揺動選別棚や排塵処理胴の後方に排藁処理装置を設けたコンバインがある。然しながら、排藁処理装置にて細断された藁屑の一部が排塵処理胴の処理胴出口付近に溜まり、穀粒が揺動選別棚に戻ることを妨げることがある。そこで、排藁処理装置にて細断された藁屑を機外に適正に落下させ、排藁の詰まりにより穀粒の移動が妨げられないコンバインを提供する。
【解決手段】脱穀装置6の脱穀処理された穀粒と夾雑物を選別する揺動選別棚36にて選別された穀粒と夾雑物の混合物を処理して穀粒を揺動選別棚36に戻し、夾雑物を機外に排出する排塵処理胴45を設け、該排塵処理胴45の穀粒を揺動選別棚36に戻す処理胴出口45aに排藁処理装置9で細断された排藁の移動を規制して機外に落下させる規制板50を設ける。
【選択図】図9
特許請求の範囲
【請求項1】
走行装置(4)、刈取装置(15)、脱穀装置(6)及び排藁処理装置(9)を装備するコンバインにおいて、脱穀装置(6)の脱穀処理された穀粒と夾雑物を選別する揺動選別棚(36)にて選別された穀粒と夾雑物の混合物を処理して穀粒を揺動選別棚(36)に戻し、夾雑物を機外に排出する排塵処理胴(45)を設け、該排塵処理胴(45)の穀粒を揺動選別棚(36)に戻す処理胴出口(45a)に排藁処理装置(9)で細断された排藁の移動を規制して機外に落下させる規制板(50)を設けたことを特徴とするコンバイン。
続きを表示(約 500 文字)
【請求項2】
規制板(50)の下端部が揺動選別棚(36)の後部より機体後側で、扱胴(31)の後方に設けた排塵ファン(46)の排風を案内する下部ガイド(46a)よりも機体前側に位置し、規制板(50)の下端部が揺動選別棚(36)の上端部よりも機体上側で、排塵処理胴(45)の処理胴出口(45a)の下端部よりも機体下側に位置し、且つ、規制板(50)の扱胴(31)側の左右一側端部が背面視で排塵ファン(46)の下部ガイド(46a)と重複する位置に配置したことを特徴とする請求項1に記載のコンバイン。
【請求項3】
規制板(50)を着脱自在、且つ、上下位置変更自在に設けたことを特徴とする請求項2に記載のコンバイン。
【請求項4】
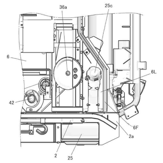
脱穀装置(6)の後側下部に燃料タンク(25)を設け、脱穀装置(6)の左右側板(6L,6R)の下部側から燃料タンク(25)を左右側方に突出し、左側板(6L)の外側に燃料タンク(25)と一体形成した給油口(25c)を設け、右側板(6R)の外側にエアブリーザ(25b)を設けたことを特徴とする請求項1~請求項3の何れか1項に記載のコンバイン。
発明の詳細な説明
【技術分野】
【0001】
本発明は、刈取装置によって刈取られた穀桿を脱穀する脱穀装置を装備したコンバインに関するものである。
続きを表示(約 1,200 文字)
【背景技術】
【0002】
従来、扱胴の右側方に設けた2番処理胴の後側に排塵処理胴を設け、扱胴の後方に排塵ファンを設け、揺動選別棚や排塵処理胴の後方に排藁処理装置を設けたコンバインがある(特許文献1参照)。
【先行技術文献】
【特許文献】
【0003】
特開2020-120609号公報
【発明の概要】
【発明が解決しようとする課題】
【0004】
従来のコンバインによると、機外に排出される排藁に穀粒が混ざりにくくなり収量ロスが抑えられ、揺動選別棚や排塵処理胴の後方に設けた排藁処理装置にて排藁を裁断して排出することができる。然しながら、排藁処理装置にて細断された藁屑の一部が排塵処理胴の処理胴出口付近に溜まり、穀粒が揺動選別棚に戻ることを妨げるような事態が発生する恐れがある。
【0005】
そこで、本発明は、排藁処理装置にて細断された藁屑を機外に適正に落下させ、排藁の詰まりにより穀粒の移動が妨げられないコンバインを提供する。
【課題を解決するための手段】
【0006】
請求項1記載の発明は、走行装置4、刈取装置15、脱穀装置6及び排藁処理装置9を装備するコンバインにおいて、脱穀装置6の脱穀処理された穀粒と夾雑物を選別する揺動選別棚36にて選別された穀粒と夾雑物の混合物を処理して穀粒を揺動選別棚36に戻し、夾雑物を機外に排出する排塵処理胴45を設け、該排塵処理胴45の穀粒を揺動選別棚36に戻す処理胴出口45aに排藁処理装置9で細断された排藁の移動を規制して機外に落下させる規制板50を設けたコンバインである。
【0007】
請求項1記載の発明によれば、排塵処理胴45の処理胴出口45aを塞ぐ排藁を取り除く作業が不要となり、収穫作業が中断されず、作業能率の向上が図れる。
【0008】
請求項2記載の発明は、規制板50の下端部が揺動選別棚36の後部より機体後側で、扱胴31の後方に設けた排塵ファン46の排風を案内する下部ガイド46aよりも機体前側に位置し、規制板50の下端部が揺動選別棚36の上端部よりも機体上側で、排塵処理胴45の処理胴出口45aの下端部よりも機体下側に位置し、且つ、規制板50の扱胴31側の左右一側端部が背面視で排塵ファン46の下部ガイド46aと重複する位置に配置した請求項1に記載のコンバインである。
【0009】
請求項2記載の発明によれば、規制板50が排塵処理胴45の処理胴出口45aを塞がない位置に配置されることで、揺動選別棚36に穀粒が確実に戻されて、穀粒が脱穀装置6内に留まることを防止できる。
【0010】
請求項3記載の発明は、規制板50を着脱自在、且つ、上下位置変更自在に設けた請求項2に記載のコンバインである。
(【0011】以降は省略されています)
この特許をJ-PlatPat(特許庁公式サイト)で参照する
関連特許
井関農機株式会社
作業車両
1か月前
井関農機株式会社
苗移植機
21日前
井関農機株式会社
作業車両
1か月前
井関農機株式会社
作業車両
29日前
井関農機株式会社
作業車両
29日前
井関農機株式会社
作業車両
21日前
井関農機株式会社
作業車両
21日前
井関農機株式会社
作業車両
21日前
井関農機株式会社
作業車両
2日前
井関農機株式会社
作業車両
21日前
井関農機株式会社
エンジン
21日前
井関農機株式会社
作業車両
14日前
井関農機株式会社
農作業機
13日前
井関農機株式会社
苗移植機
2日前
井関農機株式会社
コンバイン
今日
井関農機株式会社
電動芝刈機
15日前
井関農機株式会社
圃場作業機
1か月前
井関農機株式会社
圃場作業機
6日前
井関農機株式会社
屋外作業車
27日前
井関農機株式会社
野菜収穫機
13日前
井関農機株式会社
収穫作業車両
7日前
井関農機株式会社
乗用型苗植機
1か月前
井関農機株式会社
自動精米洗米炊飯機
1か月前
井関農機株式会社
乗用作業車の操縦装置
1か月前
井関農機株式会社
エンドエフェクターおよび作業車両
22日前
井関農機株式会社
作業車両
8日前
井関農機株式会社
コンバイン
6日前
井関農機株式会社
営農管理システム
21日前
個人
産卵床
13日前
個人
平板植栽
14日前
個人
釣り用錘
1か月前
個人
果実袋
13日前
個人
噴霧器ノズル
29日前
個人
蜜蜂保護装置
1か月前
個人
養殖器具
13日前
個人
移動体草刈り機
13日前
続きを見る
他の特許を見る