TOP
|
特許
|
意匠
|
商標
特許ウォッチ
Twitter
他の特許を見る
10個以上の画像は省略されています。
公開番号
2025112658
公報種別
公開特許公報(A)
公開日
2025-08-01
出願番号
2024007019
出願日
2024-01-19
発明の名称
斜張橋のケーブル用移動足場装置及びこれを用いたケーブル用足場移動方法
出願人
株式会社IHIインフラ建設
,
テクノファーム株式会社
代理人
弁理士法人アテンダ国際特許事務所
主分類
E01D
22/00 20060101AFI20250725BHJP(道路,鉄道または橋りょうの建設)
要約
【課題】高所作業車の作業可能高さを超える高さ位置のケーブルであっても、専門の作業者による点検及び補修作業を行うことのできる斜張橋のケーブル用移動足場装置及びケーブル用足場移動方法を提供する。
【解決手段】作業者Aを乗せる作業足場10と、主塔2と橋桁4との間に張り渡たされた支持ワイヤ20と、主塔2と作業足場10とを連結する駆動ワイヤ30とを備え、支持ワイヤ20により作業足場10をケーブル3に沿って移動自在に支持するとともに、駆動ワイヤ30によって作業足場10をケーブル3に沿って移動させるようにしたので、高所作業車の作業可能高さを超える高さ位置であっても、作業足場10をケーブル3の上端側まで移動させることができ、専門の作業者Aを作業足場10に乗せてケーブル3の点検及び補修作業を行うことができる。
【選択図】図5
特許請求の範囲
【請求項1】
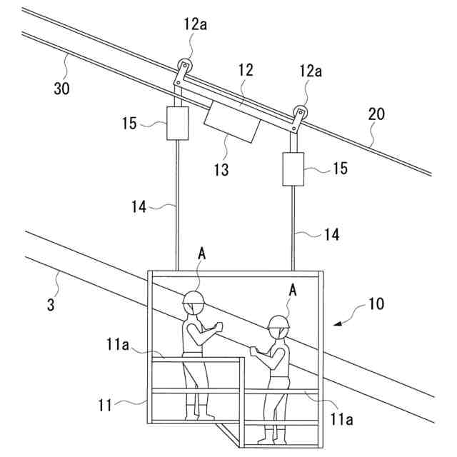
斜張橋の主塔から橋桁に向かって斜めに延びるケーブルに設置される斜張橋のケーブル用移動足場装置において、
作業者を乗せる作業足場と、
作業足場を前記ケーブルに沿って移動可能に支持する支持手段と、
支持手段によって支持された作業足場をケーブルに沿って移動させる駆動手段とを備えた
ことを特徴とする斜張橋のケーブル用移動足場装置。
続きを表示(約 1,100 文字)
【請求項2】
前記支持手段は、前記ケーブルの上方に位置するように前記主塔と橋桁との間に張り渡された支持ワイヤと、支持ワイヤに移動自在に係合する支持部材と、支持部材から前記作業足場を吊り下げる吊下部材とを備える
ことを特徴とする請求項1記載の斜張橋のケーブル用移動足場装置。
【請求項3】
前記支持手段によって支持された作業足場を昇降させる昇降手段を備えた
ことを特徴とする請求項2記載の斜張橋のケーブル用移動足場装置。
【請求項4】
前記昇降手段は、作業足場のケーブル長さ方向両端をそれぞれ独立して昇降可能に構成されている
ことを特徴とする請求項3記載の斜張橋のケーブル用移動足場装置。
【請求項5】
前記作業足場を複数備え、
各作業足場を前記ケーブルの幅方向両側に配置した
ことを特徴とする請求項2記載の斜張橋のケーブル用移動足場装置。
【請求項6】
前記作業足場を複数備え、
各作業足場を互いにケーブル長さ方向に間隔をおいて配置した
ことを特徴とする請求項1記載の斜張橋のケーブル用移動足場装置。
【請求項7】
前記支持手段は、ケーブルに移動自在に係合する支持部材を備える
ことを特徴とする請求項1記載の斜張橋のケーブル用移動足場装置。
【請求項8】
前記駆動手段は、前記主塔側に連結された駆動ワイヤを備え、駆動ワイヤを前記作業足場側に巻き取りまたは巻き出すことにより作業足場を移動させるように構成されている
ことを特徴とする請求項1乃至7の何れか一項記載の斜張橋のケーブル用移動足場装置。
【請求項9】
斜張橋の主塔から橋桁に向かって互いに上下方向に間隔をおいて斜めに延びる複数のケーブルに沿って作業足場を移動させる斜張橋のケーブル用足場移動方法において、
作業者を乗せる作業足場と、作業足場を前記ケーブルに沿って移動可能に支持する支持手段と、支持手段によって支持された作業足場をケーブルに沿って移動させる駆動手段と、支持手段によって支持された作業足場を上下方向に移動させる昇降手段とを備えたケーブル用移動足場装置を用い、
上下方向任意の位置のケーブルに沿って作業足場を一方に向かって移動させた後、
作業足場を上下方向他のケーブルの位置に上昇または下降させ、
上下方向他のケーブルに沿って作業足場を他方に向かって移動させる
ことを特徴とする斜張橋のケーブル用足場移動方法。
発明の詳細な説明
【技術分野】
【0001】
本発明は、斜張橋の主塔から橋桁に向かって延びるケーブルの点検、補修等を行うためのケーブル用移動足場装置及びこれを用いたケーブル用足場移動方法に関するものである。
続きを表示(約 1,600 文字)
【背景技術】
【0002】
斜張橋は主塔からケーブルで橋桁を支える橋梁であり、主に支間の長い橋梁に利用されている。現在、多くの斜張橋は完成から30年以上が経過しており、主要部材の一つであるケーブルの定期的な点検や補修が必要となっている。この場合、専門の技術者により、ケーブルの外観や損傷、劣化具合等を目視や検査機器を用いて検査することによりケーブルの状態を評価し、ケーブルにき裂や腐食、変形等が発見された場合はその補修を行うようにしている。
【0003】
このような点検や補修作業を行う場合、高所作業車を用いて専門の技術者が直接行う方法や、ロープアクセスによる調査、或いはケーブルを這う無人の点検装置によって行う点検方法(例えば、特許文献1参照。)が知られている。
【先行技術文献】
【特許文献】
【0004】
特開2018-100576号公報
【発明の概要】
【発明が解決しようとする課題】
【0005】
しかしながら、高所作業車を用いる場合、斜張橋のケーブルの高さが高所作業車の作業可能高さ(例えば45m)を超える場合は点検を行うことができないという問題がある。一方、ロープアクセスや無人の点検装置では、高所作業車のアクセス可能高さを超える高所での点検も可能であるが、ロープアクセスを行う作業者や無人の点検装置では、ケーブル専門の技術者がケーブルに近接して直接目視することができないため、詳細な点検が不十分になるとともに、点検のみで補修作業を行うことができないという問題点があった。
【0006】
本発明は前記問題点に鑑みてなされたものであり、その目的とするところは、高所作業車の作業可能高さを超える高さ位置のケーブルであっても、専門の技術者による点検及び補修作業を行うことのできる斜張橋のケーブル用移動足場装置及びケーブル用足場移動方法を提供することにある。
【課題を解決するための手段】
【0007】
本発明は前記目的を達成するために、斜張橋の主塔から橋桁に向かって斜めに延びるケーブルに設置される斜張橋のケーブル用移動足場装置において、作業者を乗せる作業足場と、作業足場を前記ケーブルに沿って移動可能に支持する支持手段と、支持手段によって支持された作業足場をケーブルに沿って移動させる駆動手段とを備えている。
【0008】
これにより、作業足場が支持手段及び駆動手段によってケーブルに沿って移動することから、高所作業車の作業可能高さを超える高さ位置であっても、作業足場をケーブルの上端側まで移動させることが可能となる。
【0009】
また、本発明は前記目的を達成するために、斜張橋の主塔から橋桁に向かって互いに上下方向に間隔をおいて斜めに延びる複数のケーブルに沿って作業足場を移動させる斜張橋のケーブル用足場移動方法において、作業者を乗せる作業足場と、作業足場を前記ケーブルに沿って移動可能に支持する支持手段と、支持手段によって支持された作業足場をケーブルに沿って移動させる駆動手段と、支持手段によって支持された作業足場を上下方向に移動させる昇降手段とを備えたケーブル用移動足場装置を用い、上下方向任意の位置のケーブルに沿って作業足場を一方に向かって移動させた後、作業足場を上下方向他のケーブルの位置に上昇または下降させ、上下方向他のケーブルに沿って作業足場を他方に向かって移動させるようにしている。
【0010】
これにより、前記作用に加え、上下方向任意の位置のケーブルに沿って一方に向かって移動した作業足場が上下方向他のケーブルの位置に上昇または下降し、上下方向他のケーブルに沿って他方に向かって移動することから、各ケーブルに沿った作業足場の移動距離を最短にすることが可能となる。
【発明の効果】
(【0011】以降は省略されています)
この特許をJ-PlatPat(特許庁公式サイト)で参照する
関連特許
株式会社熊谷組
床版
3日前
株式会社熊谷組
床版
3日前
個人
折り畳み式標識具
10日前
北越消雪機械工業株式会社
消雪装置
10日前
株式会社熊谷組
床版接合構造
13日前
白出商事株式会社
縁石銘板(名板)
5日前
GX株式会社
昇降式仮設防護体
23日前
株式会社ササキコーポレーション
作業機
2日前
株式会社NIPPO
斜面用ローラ
4日前
株式会社NIPPO
斜面用ローラ
4日前
株式会社NIPPO
距離補正装置
3日前
株式会社NIPPO
切削用制御装置
3日前
前田工繊株式会社
防護柵
25日前
三信工業株式会社
床版架設装置
2日前
株式会社熊谷組
床版継手装置、及び、床版
13日前
桑名金属工業株式会社
融雪マットおよび融雪方法
2日前
浅香工業株式会社
レーキ
20日前
中井商工株式会社
橋梁の桁端止水工法
13日前
東亜グラウト工業株式会社
防護柵の支柱構造
3日前
株式会社NIPPO
アスファルトスタッカ制御装置
4日前
日鉄神鋼建材株式会社
補強金具、及び支柱取付構造
3日前
株式会社NIPPO
バンク用建設機械サポータ装置
4日前
日鉄建材株式会社
吊り材で支持された足場用床パネル
2日前
日立建機株式会社
転圧機械
3日前
株式会社日本コンポジット工業
壁用構造体
2日前
三井住友建設株式会社
床版拡幅工法
4日前
株式会社NIPPO
法面機械
23日前
株式会社NIPPO
コンクリートスタッカ
9日前
東日本旅客鉄道株式会社
横取り方法
9日前
株式会社NIPPO
法面作業装置
23日前
株式会社NIPPO
法面作業装置
23日前
株式会社NIPPO
スコップ加熱器
2日前
株式会社NIPPO
コンクリート舗装の施工方法
13日前
株式会社NIPPO
土壌改質材及びそれを含む土壌
3日前
大成建設株式会社
床版接合部の設計方法
13日前
株式会社NIPPO
コンクリート舗装及びその施工方法
13日前
続きを見る
他の特許を見る