TOP
|
特許
|
意匠
|
商標
特許ウォッチ
Twitter
他の特許を見る
10個以上の画像は省略されています。
公開番号
2025111601
公報種別
公開特許公報(A)
公開日
2025-07-30
出願番号
2025070134,2023103913
出願日
2025-04-22,2019-02-18
発明の名称
火災報知設備及び受信機
出願人
ホーチキ株式会社
代理人
個人
,
個人
主分類
G08B
17/00 20060101AFI20250723BHJP(信号)
要約
【課題】受信機からの信号回線に接続した光電式煙感知器による煙の識別機能と非火災防止機能を生かして火災を含む事象を識別して適切な火災監視を可能とする。
【解決手段】火災報知設備の受信機は、光電式煙感知器を接続して所定の警戒区域の事象として白煙火災、黒煙火災及び非火災を識別し、識別された事象を報知する警報画面と警戒区域の地図を表示する地図画面を切替表示可能な表示部を備え、地図画面に表示される警戒区域の地図において、当該識別された事象が発生した場所に当該識別された事象に対応したシンボルマークを表示し、地図画面に表示されるシンボルマークは、警報画面に表示される当該識別された事象に対応したシンボルマークと同じシンボルマークである。
【選択図】図6
特許請求の範囲
【請求項1】
所定の端末機器を受信機に接続して所定の警戒区域で発生した火災を含む複数種類の所定の事象を識別する火災報知設備であって、
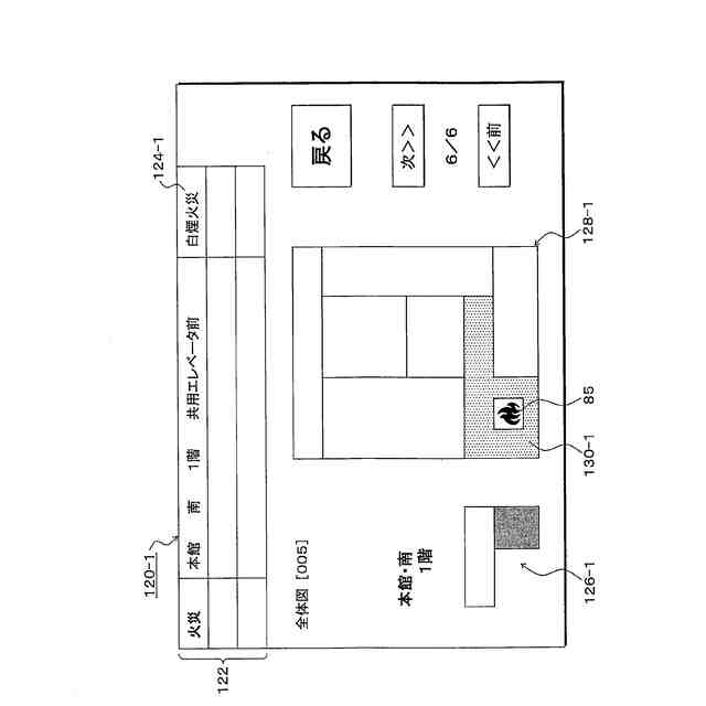
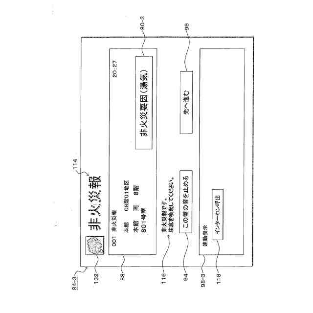
識別された事象を報知する警報画面と前記警戒区域の地図を表示する地図画面を切替表示可能な表示部を備え、
前記地図画面に表示される前記警戒区域の地図において、当該識別された事象が発生した場所に当該識別された事象に対応したシンボルマークを表示し、
前記地図画面に表示されるシンボルマークは、前記警報画面に表示される当該識別された事象に対応したシンボルマークと同じシンボルマークであることを特徴とする火災報知設備。
続きを表示(約 590 文字)
【請求項2】
請求項1記載の火災報知設備であって、
前記地図画面に表示される前記警戒区域の地図は、前記警戒区域の全体を示す全体地図と当該識別された事象が発生した場所付近の警戒区域の一部を示す詳細地図を含み、
前記シンボルマークは、前記詳細地図に表示されることを特徴とする火災報知設備。
【請求項3】
所定の端末機器を接続して所定の警戒区域で発生した火災を含む複数種類の所定の事象を識別する受信機であって、
識別された事象を報知する警報画面と前記警戒区域の地図を表示する地図画面を切替表示可能な表示部を備え、
前記地図画面に表示される前記警戒区域の地図において、当該識別された事象が発生した場所に当該識別された事象に対応したシンボルマークを表示し、
前記地図画面に表示されるシンボルマークは、前記警報画面に表示される当該識別された事象に対応したシンボルマークと同じシンボルマークであることを特徴とする受信機。
【請求項4】
請求項3記載の受信機であって、
前記地図画面に表示される前記警戒区域の地図は、前記警戒区域の全体を示す全体地図と当該識別された事象が発生した場所付近の警戒区域の一部を示す詳細地図を含み、
前記シンボルマークは、前記詳細地図に表示されることを特徴とする受信機。
発明の詳細な説明
【技術分野】
【0001】
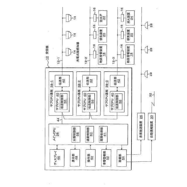
本発明は、所定の端末機器を受信機に接続して所定の警戒区域で発生した火災を含む複数種類の所定の事象を識別する火災報知設備及び受信機に関する。
続きを表示(約 2,000 文字)
【背景技術】
【0002】
従来、R型として知られた火災報知設備にあっては、受信機から引き出された信号回線に、固有のアドレスが設定された伝送機能を有する火災感知器を接続し、通常監視状態では、感知器アドレスを順次指定した火災感知器の呼出しにより煙濃度や温度等の検出値を収集して監視しており、火災時には、火災感知器からの火災割込み信号に基づき、受信機から検索コマンドを発行して発報した火災感知器のアドレスを特定して検出値を収集し、検出値が所定の火報発報閾値を超えた場合に火災と判断して火災警報を出力させ、更に、排気装置、防火戸、消火装置、消防機関への自動通報等の連動制御を行うようにしている。
【0003】
また、従来の火災報知設備にあっては、火災感知器として、火災による煙を検知する光電式煙感知器が使用されており、従来の光電式煙感知器は、火災による煙に限らず、調理の煙やバスルームの湯気等により非火災報を発してしまうことがある。
【0004】
このような火災以外の原因による非火災報を防止するため、2種類の波長の光を検煙空間に照射し、煙による散乱光について異なる波長の光強度の比を求めて煙の種類を判定し、煙識別の確度を高めて非火災報防止を確実なものとする所謂2波長方式の光電式煙感知器が提案されている(特許文献2)。
【先行技術文献】
【特許文献】
【0005】
特開2007-265353号公報
特開2004-325211号公報
特開平08-016947号公報
特開2001-273570号公報
特開平10-172086号公報
特開2005-115797号公報
特開2020-135263号公報
特開2004-005137号公報
特開2009-037449号公報
特開2016-071581号公報
【発明の概要】
【発明が解決しようとする課題】
【0006】
しかしながら、このような従来の2波長方式の光電式煙感知器にあっては、火災による煙の種類を識別して非火災報防止を確実なものとすることは言及されているが、実際に受信機に接続して火災を監視する場合、光電式煙感知器による火災による煙の識別機能と非火災防止機能を利用して、どのような火災監視制御や連動制御を行うか、また、受信機と2波長式の光電式煙感知器とのあいだでどのような信号の送受により非火災報を防止した火災の監視制御を行うかについては言及されておらず、受信機からの信号回線に2波長方式の光電式煙感知器を接続した新たな火災報知設備の構築が新たな課題として残されている。
【0007】
本発明は、受信機からの信号回線に接続した光電式煙感知器による煙の識別機能と非火災防止機能を生かして火災を含む事象を識別して適切な火災監視を可能とする火災報知設備及び受信機を提供することを目的とする。
【課題を解決するための手段】
【0008】
(火災報知設備)
本発明は、所定の端末機器を受信機に接続して所定の警戒区域で発生した火災を含む複数種類の所定の事象を識別する火災報知設備であって、
識別された事象を報知する警報画面と警戒区域の地図を表示する地図画面を切替表示可能な表示部を備え、
地図画面に表示される警戒区域の地図において、当該識別された事象が発生した場所に当該識別された事象に対応したシンボルマークを表示し、
地図画面に表示されるシンボルマークは、警報画面に表示される当該識別された事象に対応したシンボルマークと同じシンボルマークであることを特徴とする。
【0009】
(詳細地図に表示するシンボルマーク)
地図画面に表示される警戒区域の地図は、警戒区域の全体を示す全体地図と当該識別された事象が発生した場所付近の警戒区域の一部を示す詳細地図を含み、
シンボルマークは、詳細地図に表示される。
【0010】
(受信機)
本発明は、所定の端末機器を接続して所定の警戒区域で発生した火災を含む複数種類の所定の事象を識別する受信機であって、
識別された事象を報知する警報画面と警戒区域の地図を表示する地図画面を切り替え可能な表示部を備え、
地図画面に表示される前記警戒区域の地図において、当該識別された事象が発生した場所に当該識別された事象に対応したシンボルマークを表示し、
地図画面に表示されるシンボルマークは、警報画面に表示される当該識別された事象に対応したシンボルマークと同じシンボルマークであることを特徴とする。
【発明の効果】
(【0011】以降は省略されています)
この特許をJ-PlatPat(特許庁公式サイト)で参照する
関連特許
ホーチキ株式会社
消火栓装置
3日前
ホーチキ株式会社
消火栓装置
25日前
ホーチキ株式会社
消火栓装置
1か月前
ホーチキ株式会社
避難誘導システム
1日前
ホーチキ株式会社
火災検出システム
1か月前
国立大学法人 筑波大学
火災検出システム
1か月前
国立大学法人 筑波大学
火災検出システム
1か月前
国立大学法人 筑波大学
火災検出システム
1か月前
国立大学法人 筑波大学
火災検出システム
1か月前
ホーチキ株式会社
カードリーダー及びカードリーダーの組立方法
1か月前
ホーチキ株式会社
防災設備
1か月前
ホーチキ株式会社
消火栓装置
1か月前
ホーチキ株式会社
炎検出装置
2か月前
ホーチキ株式会社
火災報知方法
2か月前
ホーチキ株式会社
防災システム
1か月前
ホーチキ株式会社
消火器収納装置
1か月前
ホーチキ株式会社
火災監視システム
1か月前
ホーチキ株式会社
消臭装置及び消臭方法
1か月前
ホーチキ株式会社
消火栓装置及び消火器箱
2か月前
ホーチキ株式会社
火災検知器の信頼性判断方法
11日前
ホーチキ株式会社
火災検出装置、防災設備及び火災検出方法
1か月前
ホーチキ株式会社
処置情報提供システム及びその処置情報提供方法
3日前
個人
安全支援装置
24日前
株式会社SUBARU
車両
1か月前
ニッタン株式会社
検知器
1か月前
日本無線株式会社
船舶システム
25日前
個人
磁気路上での車両の路線離脱防御
2か月前
株式会社SUBARU
運転支援装置
1か月前
大阪瓦斯株式会社
音声出力システム
1か月前
ダイハツ工業株式会社
移動支援装置
1か月前
トヨタ自動車株式会社
サーバ
1か月前
株式会社デンソー
運航管理装置
1か月前
株式会社CCT
通信装置及び表示方法
1か月前
三菱自動車工業株式会社
制御システム
1か月前
株式会社SUBARU
事故情報収集装置
1か月前
株式会社 ミックウェア
車内環境制御システム
1か月前
続きを見る
他の特許を見る