TOP
|
特許
|
意匠
|
商標
特許ウォッチ
Twitter
他の特許を見る
公開番号
2025089293
公報種別
公開特許公報(A)
公開日
2025-06-12
出願番号
2024209568
出願日
2024-12-02
発明の名称
熱音響装置
出願人
学校法人東海大学
代理人
個人
,
個人
,
個人
,
個人
,
個人
,
個人
主分類
F25B
9/00 20060101AFI20250605BHJP(冷凍または冷却;加熱と冷凍との組み合わせシステム;ヒートポンプシステム;氷の製造または貯蔵;気体の液化または固体化)
要約
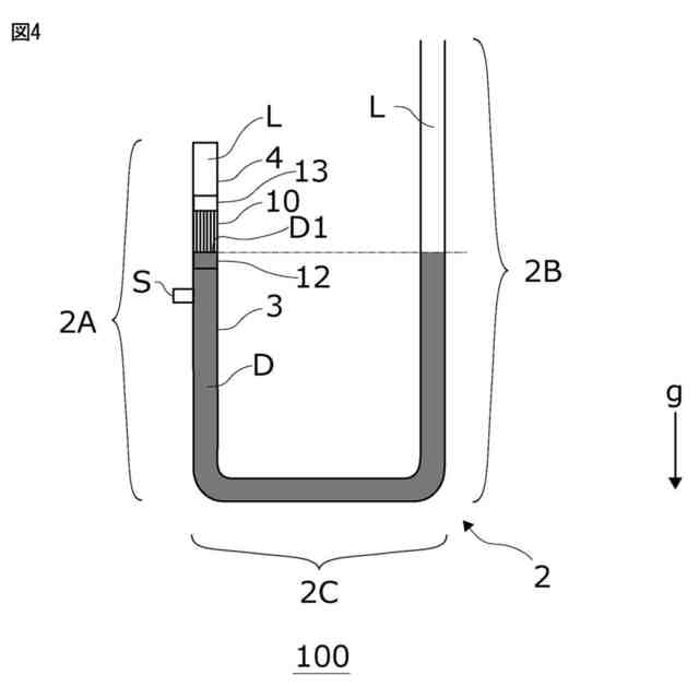
【課題】熱音響現象に基づいて発生する流体振動を増加させ、体積当たりの出力を向上させる。
【解決手段】熱音響現象を発生する蓄熱器10と、第1流路3と第2流路4との間に蓄熱器10が設けられ、第1流路に液体が流通する流路2と、を備え、蓄熱器は、一端側を第1温度領域に冷却した低温部と、他端側を第1温度領域に比して高い第2温度領域に加熱した高温部との間に温度勾配が形成されており、一端側に接続された第1流路から液体Dが供給された際に、液体が低温部側から高温部側に移動する際に、熱流と音響パワーのエネルギー変換を行うと同時に、液体の装置内部圧力に依存した沸点の温度以上の第2温度領域に液体を加熱し、液体を相変化に基づいて気化させ、他端側に接続された第2流路側に気体の膨張に基づく流体振動を発生させ、液体が高温部と低温部との間を往復した場合、流体振動を発生させ、または流体振動を増幅させる、熱音響装置1である。
【選択図】図1
特許請求の範囲
【請求項1】
熱音響現象を発生する蓄熱器と、
第1流路と第2流路との間に前記蓄熱器が設けられ、前記第1流路に液体が流通する流路と、を備え、
前記蓄熱器は、
一端側を第1温度領域に冷却した低温部と、他端側を前記第1温度領域に比して高い第2温度領域に加熱した高温部との間に温度勾配が形成されており、
前記一端側に接続された前記第1流路から前記液体が供給された際に、前記液体が前記低温部側から前記高温部側に移動する際に、熱流と音響パワーのエネルギー変換を行うと同時に、
前記液体の装置内部圧力に依存した沸点の温度以上の前記第2温度領域に前記液体を加熱し、
前記液体を相変化に基づいて気化させ、前記他端側に接続された第2流路側に気体の膨張に基づく流体振動を発生させ、
前記液体が前記高温部と前記低温部との間を往復した場合、流体振動を発生させ、または前記流体振動を増幅させる、
熱音響装置。
続きを表示(約 200 文字)
【請求項2】
前記蓄熱器は、前記流体振動の反力に基づいて前記液体を前記高温部側から前記低温部側に移動させる、
請求項1に記載の熱音響装置。
【請求項3】
前記蓄熱器は、
U状に形成された前記第1流路において、前記流体振動に基づいて前記液体に自励振動を発生させ、前記液体を前記高温部と前記低温部との間において往復させる、
請求項2に記載の熱音響装置。
発明の詳細な説明
【技術分野】
【0001】
本発明は、流体振動を発生させる熱音響装置に関する。
続きを表示(約 1,800 文字)
【背景技術】
【0002】
熱音響装置は、熱流と仕事流(音響パワー)とを相互にエネルギー変換可能とする熱音響現象を利用し、熱エネルギー或いは音響エネルギーを取り出す装置である。熱音響装置は、熱音響現象を発生させる蓄熱器を備えている。蓄熱器には、例えば、音響を伝搬可能な作動流体が流通するように両端を貫通する多数の細管流路が形成されている。
【0003】
例えば、蓄熱器の一端側に低温熱交換器を設け、他端側に高温熱交換器を設けることで、蓄熱器に入熱して温度勾配を与えると、熱エネルギーを音響エネルギーに変換し、仕事流を生成し、或いは増幅する熱音響原動機を構成することができる。蓄熱器における熱エネルギーと音響エネルギーとの変換は、可逆反応であるため、蓄熱器に仕事流を入力することで、ヒートポンプ効果によって熱エネルギーを出力させる熱音響ヒートポンプを構成することができる。即ち、熱音響装置によれば、仕事流の入力に基づいて、高温の熱を出力する熱音響昇温機を構成することも可能であるし、低温の熱を出力する熱音響冷却機を構成することも可能である。
【0004】
熱音響装置によれば、出力部として音響などの振動流に基づいて動作する発電機を設けることにより、熱エネルギーの入力に基づいて電力を出力する熱音響発電機を構成することも可能である。熱音響装置によれば、熱音響装置に振動流を発生させる音響ドライバーを設けることにより、振動流の入力に基づいて熱エネルギーを出力する音響駆動熱音響ヒートポンプを構成することもできる。また、熱音響装置によれば、熱音響原動機と熱音響ヒートポンプとを組み合わせることも可能であり、熱エネルギーの入力に基づいて動作する熱音響ヒートポンプを構成することもできる。
【0005】
熱音響原動機に入熱するための熱源には、工場や船舶などからの廃熱や太陽光からの集熱など多様な熱源を利用できる。そのため、熱音響装置は、廃熱回生装置として利用されることを期待されている。熱音響ヒートポンプは、作動気体に空気やアルゴン、ヘリウムといった温暖化係数がない気体等を使用できることから、エコフレンドリーなヒートポンプを構成し得る。
【0006】
従来、作動流体に気柱と液柱を併用した熱音響装置では、液体の相変化を利用することで作動流体に大きな圧力の振幅が得られることが知られている。例えば、特許文献1には、凝縮性流体(液体)と非凝縮性流体(気体)との混合物を含む作動流体が封入された管状の流路と、流路設けられた蓄熱器とを備える熱音響装置が記載されている。特許文献1は、混合物に基づく作動流体を利用することで液体の相変化の高い熱伝達率を利用して作動流体の高い圧力の振幅を得ることを提案している。
【0007】
特許文献2には、凝縮性流体(液体)と非凝縮性流体(気体)とを含む作動流体が封入されたループ管と、ループ管に設けられた蓄熱器と、ループ管から分岐した分岐管に設けられた出力部と、分岐管を加熱する加熱部とを備える熱音響装置が記載されている。特許文献1は、凝縮性流体により濡れた状態の蓄熱器において蓄熱器の高温部において凝縮性流体に気液相変化を生じさせると共に、加熱部により凝縮性流体が凝縮することを防止して音響パワーの低下を防止することを提案している。
【0008】
特許文献3には、作動流体である凝縮性流体が封入されたループ管と、ループ管に設けられた蓄熱器と、を備える熱音響装置が記載されている。特許文献2は、作動流体を蓄熱器の半分以下の高さとなるように液面の位置を調整することにより、作動流体により蓄熱器内の細管流路が閉塞されることを防止し、動作を安定させることを提案している。
【先行技術文献】
【特許文献】
【0009】
特開2009-074722号公報
特開2019-211129号公報
特開2020-118307号公報
【発明の概要】
【発明が解決しようとする課題】
【0010】
しかしながら、従来の熱音響現象に関する研究では、湿潤状態の蓄熱器を用いる場合、沸点以下の相変化現象をエネルギー変換に用いることが提案されているが、蓄熱器で液体の沸点を超える相変化現象をエネルギー変換に用いることについてはまだ提案されていなかった。
(【0011】以降は省略されています)
この特許をJ-PlatPat(特許庁公式サイト)で参照する
関連特許
学校法人東海大学
試験装置
1か月前
学校法人東海大学
熱音響装置
4か月前
学校法人東海大学
流れ制御装置
6か月前
学校法人東海大学
樹脂担持環状テルル化合物
3か月前
中央精機株式会社
熱音響装置
4か月前
ニデック株式会社
モータユニット
1か月前
学校法人東海大学
軟骨修復用細胞シートおよびその製造方法
3か月前
日本臓器製薬株式会社
髄核細胞の培養方法
7か月前
学校法人東海大学
熱音響装置及び熱音響装置を用いた質量流の抑制方法
4か月前
学校法人東海大学
トランスフェリンレセプターを認識する物質の薬効予測マーカー
4日前
富士電機株式会社
回転発熱機、電熱変換装置及び蓄熱システム
1か月前
大学共同利用機関法人自然科学研究機構
光学部材とその製造方法
5か月前
学校法人東海大学
トランスフェリンレセプターを認識する物質を含む治療剤の用法用量
3日前
富士通株式会社
機械学習プログラム、機械学習方法、推論プログラム、推論方法及び情報処理装置
4か月前
学校法人東海大学
ハイドロフォーミングによる加工方法、金型、金型モジュールおよびハイドロフォーミングの加工装置。
2か月前
株式会社DNAチップ研究所
軟骨細胞シートのマーカー遺伝子探索方法及び軟骨細胞シートのマーカー遺伝子探索装置、並びに軟骨細胞シートの評価方法及び軟骨細胞シートの評価装置、並びに軟骨細胞シート、軟骨細胞シートの製造方法及び軟骨細胞シートを用いた軟骨再生方法
2か月前
株式会社不二工機
膨張弁
5日前
株式会社不二工機
膨張弁
5日前
ホシザキ株式会社
製氷機
1か月前
個人
ヒートポンプ型空気調和機
1か月前
富士電機株式会社
冷却装置
1か月前
ホシザキ株式会社
冷凍装置
10日前
フクシマガリレイ株式会社
断熱扉
6日前
富士電機株式会社
自動販売機
4日前
富士ベンダーサービス株式会社
保管庫
1か月前
フクシマガリレイ株式会社
冷却貯蔵庫
10日前
ダイキン工業株式会社
冷凍装置
17日前
フクシマガリレイ株式会社
ショーケース
19日前
三菱重工冷熱株式会社
低温冷水供給装置
1か月前
アクア株式会社
冷蔵庫
25日前
ダイキン工業株式会社
冷媒充填方法
17日前
シャープ株式会社
冷蔵庫
1か月前
フクシマガリレイ株式会社
商品販売システム
12日前
島田工業株式会社
製氷装置及び製氷方法
25日前
株式会社アイシン
冷暖房システム
24日前
株式会社富士通ゼネラル
冷凍サイクル装置
11日前
続きを見る
他の特許を見る