TOP
|
特許
|
意匠
|
商標
特許ウォッチ
Twitter
他の特許を見る
10個以上の画像は省略されています。
公開番号
2025085624
公報種別
公開特許公報(A)
公開日
2025-06-05
出願番号
2024202809
出願日
2024-11-20
発明の名称
固体電解質
出願人
セイコーエプソン株式会社
,
国立大学法人信州大学
代理人
個人
,
個人
,
個人
主分類
H01B
1/06 20060101AFI20250529BHJP(基本的電気素子)
要約
【課題】粒界抵抗が好適に制御された固体電解質を提供すること。
【解決手段】本発明の固体電解質は、下記組成式(1)で示される。
(Li
7-3x
Ga
x+a
)(La
3-y-z-w
Nd
y
Y
z
M
w
)Zr
2
O
12
・・・(1)
(式(1)中、Mは、Ca、SrおよびRbよりなる群から選択される少なくとも1種であり、0.10≦x<1.00、0.01≦y≦0.20、0.01≦z≦0.15、0.01≦w≦0.20を満たす。aは、Mの価数が2+のCa、Srの場合、1種で0.05/3、2種で(0.05×2)/3、3種で(0.05×3)/3、価数が1+のRbの場合、1種で(0.05×2)/3とする。)
【選択図】なし
特許請求の範囲
【請求項1】
下記組成式(1)で示される固体電解質。
(Li
7-3x
Ga
x+a
)(La
3-y-z-w
Nd
y
Y
z
M
w
)Zr
2
O
12
・・・(1)
(式(1)中、Mは、Ca、SrおよびRbよりなる群から選択される少なくとも1種であり、0.10≦x<1.00、0.01≦y≦0.20、0.01≦z≦0.15、0.01≦w≦0.20を満たす。aは、Mの価数が2+のCa、Srの場合、1種で0.05/3、2種で(0.05×2)/3、3種で(0.05×3)/3、価数が1+のRbの場合、1種で(0.05×2)/3とする。)
続きを表示(約 120 文字)
【請求項2】
前記Mは、Ca、SrおよびRbよりなる群から選択される1種である請求項1に記載の固体電解質。
【請求項3】
前記Mは、Ca、SrおよびRbよりなる群から選択される2種以上である請求項1に記載の固体電解質。
発明の詳細な説明
【技術分野】
【0001】
本発明は、固体電解質に関する。
続きを表示(約 2,100 文字)
【背景技術】
【0002】
携帯型情報機器をはじめとする多くの電気機器の電源として、リチウムイオン電池(一次電池および二次電池を含む)が利用されている。中でも、高エネルギー密度と安全性を両立したリチウムイオン電池として、正・負極間のリチウムの伝導に固体電解質を用いた全固体型リチウムイオン電池が提案されている(例えば、特許文献1参照)。
【0003】
固体電解質は、有機電解液を用いることなくリチウムイオンを伝導することができ、電解液漏れや駆動発熱による電解液の揮発等が生じないため、安全性が高い材料として注目されている。
【0004】
このような全固体型リチウムイオン電池に用いられる固体電解質として、リチウムイオン伝導性が高く、絶縁性に優れ、また化学的安定性の高い酸化物系の固体電解質が広く知られている。このような酸化物として、ジルコン酸ランタンリチウム系の材料が特筆すべき高いリチウムイオン伝導率を有しており、電池への適用が期待されている。
【先行技術文献】
【特許文献】
【0005】
特開2009-215130号公報
【発明の概要】
【発明が解決しようとする課題】
【0006】
しかしながら、このような固体電解質は、リチウムイオン伝導性が高いがために、ドライルーム中の作業下でも微量な水分や二酸化炭素の存在等により、容易に炭酸リチウムが生成し、界面・粒界のリチウムイオン伝導率が維持できず低下しやすいという問題があった。
【課題を解決するための手段】
【0007】
本発明は、上述の課題を解決するためになされたものであり、以下の適用例として実現することができる。
【0008】
本発明の適用例に係る固体電解質は、下記組成式(1)で示される。
(Li
7-3x
Ga
x+a
)(La
3-y-z-w
Nd
y
Y
z
M
w
)Zr
2
O
12
・・・(1)
(式(1)中、Mは、Ca、SrおよびRbよりなる群から選択される少なくとも1種であり、0.10≦x<1.00、0.01≦y≦0.20、0.01≦z≦0.15、0.01≦w≦0.20を満たす。aは、Mの価数が2+のCa、Srの場合、1種で0.05/3、2種で(0.05×2)/3、3種で(0.05×3)/3、価数が1+のRbの場合、1種で(0.05×2)/3とする。)
【図面の簡単な説明】
【0009】
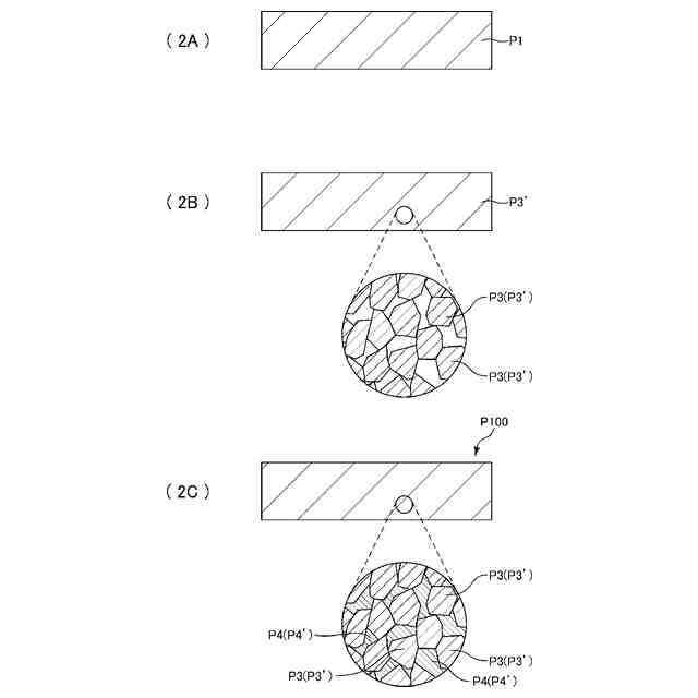
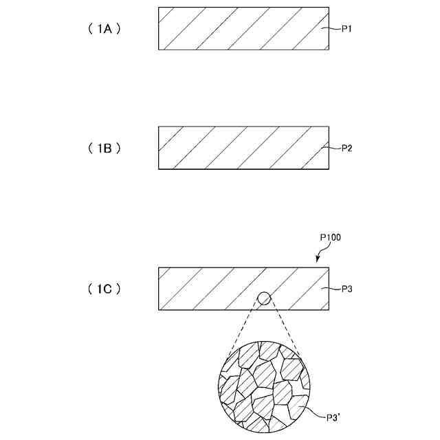
図1は、第1実施形態の固体電解質の製造方法を模式的に示す縦断面図である。
図2は、第2実施形態の固体電解質の製造方法を模式的に示す縦断面図である。
図3は、好適な実施形態の電池としてのリチウムイオン電池の構成を模式的に示す概略斜視図である。
図4は、第1実施形態の電池の製造方法を示すフローチャートである。
図5は、第1実施形態の電池の製造方法を模式的に示す縦断面図である。
図6は、第1実施形態の電池の製造方法を模式的に示す縦断面図である。
図7は、第2実施形態の電池の製造方法を示すフローチャートである。
図8は、第2実施形態の電池の製造方法を模式的に示す縦断面図である。
図9は、第2実施形態の電池の製造方法を模式的に示す縦断面図である。
図10は、第3実施形態の電池の製造方法を示すフローチャートである。
図11は、第3実施形態の電池の製造方法を模式的に示す縦断面図である。
図12は、第3実施形態の電池の製造方法を模式的に示す縦断面図である。
図13は、第3実施形態の電池の製造方法を模式的に示す縦断面図である。
図14は、第4実施形態の電池の製造方法を示すフローチャートである。
図15は、第4実施形態の電池の製造方法を模式的に示す縦断面図である。
図16は、第4実施形態の電池の製造方法を模式的に示す縦断面図である。
図17は、第4実施形態の電池の製造方法を模式的に示す縦断面図である。
図18は、電子機器としてのウェアラブル機器の構成を示す斜視図である。
図19は、実施例1~7および比較例1~4の固体電解質の組成および結晶相をまとめて示す表である。
図20は、実施例1~7および比較例1~4の評価結果をまとめて示す表である。
図21は、実施例8~14および比較例5~10の固体電解質の組成および結晶相をまとめて示す表である。
図22は、実施例8~14および比較例5~10の評価結果をまとめて示す表である。
【発明を実施するための形態】
【0010】
以下、本発明の好適な実施形態について詳細に説明する。
[1]固体電解質
まず、本発明の固体電解質について説明する。
(【0011】以降は省略されています)
特許ウォッチbot のツイートを見る
この特許をJ-PlatPat(特許庁公式サイト)で参照する
関連特許
東ソー株式会社
絶縁電線
29日前
APB株式会社
蓄電セル
27日前
個人
フレキシブル電気化学素子
1か月前
マクセル株式会社
電源装置
21日前
ローム株式会社
半導体装置
28日前
株式会社ユーシン
操作装置
1か月前
株式会社東芝
端子台
21日前
日新イオン機器株式会社
イオン源
1か月前
富士電機株式会社
電磁接触器
今日
株式会社GSユアサ
蓄電装置
14日前
株式会社ホロン
冷陰極電子源
1か月前
株式会社GSユアサ
蓄電装置
今日
株式会社GSユアサ
蓄電装置
22日前
太陽誘電株式会社
コイル部品
1か月前
株式会社GSユアサ
蓄電設備
1か月前
株式会社GSユアサ
蓄電設備
1か月前
三菱電機株式会社
回路遮断器
8日前
株式会社GSユアサ
蓄電装置
22日前
北道電設株式会社
配電具カバー
27日前
トヨタ自動車株式会社
冷却構造
29日前
日本特殊陶業株式会社
保持装置
13日前
サクサ株式会社
電池の固定構造
1か月前
トヨタ自動車株式会社
バッテリ
27日前
日本特殊陶業株式会社
保持装置
1か月前
日新イオン機器株式会社
基板処理装置
24日前
トヨタ自動車株式会社
蓄電装置
22日前
ノリタケ株式会社
熱伝導シート
1か月前
トヨタ自動車株式会社
蓄電装置
1か月前
甲神電機株式会社
変流器及び零相変流器
15日前
住友電装株式会社
コネクタ
今日
矢崎総業株式会社
コネクタ
今日
ヒロセ電機株式会社
電気コネクタ
今日
ベストテック株式会社
装置支持具
1か月前
株式会社レゾナック
冷却器
8日前
株式会社ダイヘン
搬送装置
1か月前
株式会社トクヤマ
シリコンエッチング液
1か月前
続きを見る
他の特許を見る