TOP
|
特許
|
意匠
|
商標
特許ウォッチ
Twitter
他の特許を見る
10個以上の画像は省略されています。
公開番号
2025080918
公報種別
公開特許公報(A)
公開日
2025-05-27
出願番号
2023194303
出願日
2023-11-15
発明の名称
船舶推進機
出願人
スズキ株式会社
代理人
個人
,
個人
,
個人
主分類
B63H
20/14 20060101AFI20250520BHJP(船舶またはその他の水上浮揚構造物;関連艤装品)
要約
【課題】船舶推進機が大幅に大型化することを防ぎつつも、船舶の推進力を生成するモータが航行中に故障した場合に船舶の移動が困難化する可能性を低くする。
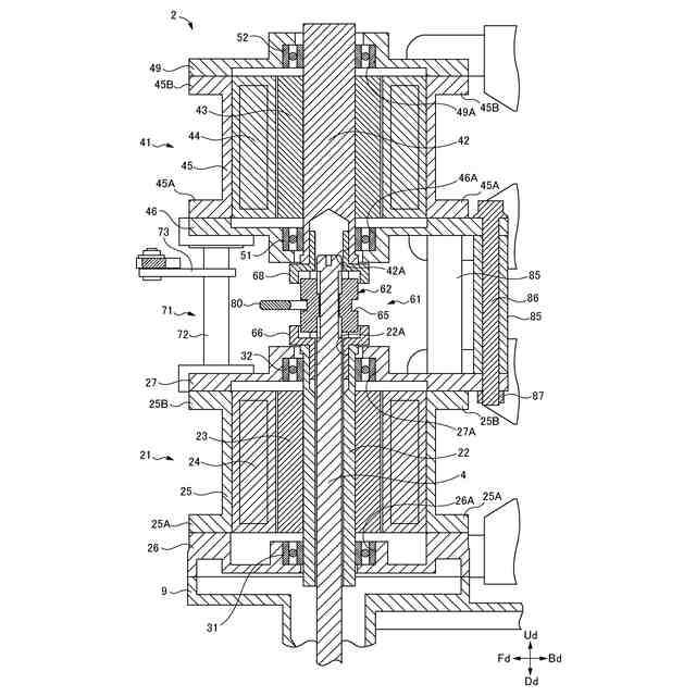
【解決手段】船外機のパワーユニット2は、下側モータ21、上側モータ41および動力伝達装置61を備え、動力伝達装置61は、下側モータ21の動力および上側モータ41の動力のうちの双方またはいずれか一方を切替可能にドライブシャフト4に伝達する。下側モータ21および上側モータ41は船外機の上部に配置され、各モータのモータシャフト22、42およびドライブシャフト4は上下方向に伸長し、上側モータ41は下側モータ21の上方に配置され、ドライブシャフト4の上部は下側モータ21のモータシャフト22とは独立に回転可能にモータシャフト22内を通って下側モータ21と上側モータ41との間に達し、動力伝達装置61は下側モータ21と上側モータ41との間に配置されている。
【選択図】図5
特許請求の範囲
【請求項1】
動力を生成するパワーユニットと、プロペラと、前記パワーユニットにより生成された動力を前記プロペラに伝達するためのドライブシャフトとを備えた船舶推進機であって、
前記パワーユニットは、第1のモータシャフトを有する第1のモータと、第2のモータシャフトを有する第2のモータと、前記第1のモータシャフトから出力された第1の動力および前記第2のモータシャフトから出力された第2の動力のうちのいずれか一方を前記ドライブシャフトに伝達し、前記ドライブシャフトに伝達する動力を前記第1の動力と前記第2の動力との間で切り替える動力伝達装置とを備え、
前記第1のモータおよび前記第2のモータは当該船舶推進機の上部に配置され、
前記第1のモータシャフト、前記第2のモータシャフトおよび前記ドライブシャフトはそれぞれ上下方向に伸長し、
前記第2のモータは前記第1のモータの上方に配置され、
前記ドライブシャフトの上部は前記第1のモータシャフトとは独立に回転可能に前記第1のモータシャフト内を通って前記第1のモータと前記第2のモータとの間に達し、
前記動力伝達装置は前記第1のモータと前記第2のモータとの間に配置されていることを特徴とする船舶推進機。
続きを表示(約 1,100 文字)
【請求項2】
前記動力伝達装置は、前記第1の動力および前記第2の動力のうちの双方またはいずれか一方を前記ドライブシャフトに伝達し、前記ドライブシャフトに伝達する動力を、(a)前記第1の動力および前記第2の動力の双方と、(b)前記第1の動力と、(c)前記第2の動力との間で切り替えることを特徴とする請求項1に記載の船舶推進機。
【請求項3】
前記動力伝達装置はドッグクラッチを備え、
前記ドッグクラッチは、前記ドライブシャフトに対して回転不能でありかつ前記ドライブシャフトに対して上下方向に移動可能であるように前記ドライブシャフトの上部に取り付けられ、
前記ドッグクラッチの下部には第1の嵌合部が設けられ、
前記ドッグクラッチの上部には第2の嵌合部が設けられ、
前記第1のモータシャフトの上部には第1の被嵌合部が設けられ、
前記第2のモータシャフトの下部には第2の被嵌合部が設けられ、
前記ドッグクラッチが下に移動したとき前記第1の嵌合部が前記第1の被嵌合部と嵌合しかつ前記第2の嵌合部と前記第2の被嵌合部との嵌合が解除され、前記ドッグクラッチが上に移動したとき前記第2の嵌合部が前記第2の被嵌合部と嵌合しかつ前記第1の嵌合部と前記第1の被嵌合部との嵌合が解除されることを特徴とする請求項1に記載の船舶推進機。
【請求項4】
前記動力伝達装置はドッグクラッチを備え、
前記ドッグクラッチは、前記ドライブシャフトに対して回転不能でありかつ前記ドライブシャフトに対して上下方向に所定の移動範囲内において移動可能であるように前記ドライブシャフトの上部に取り付けられ、
前記ドッグクラッチの下部には第1の嵌合部が設けられ、
前記ドッグクラッチの上部には第2の嵌合部が設けられ、
前記第1のモータシャフトの上部には第1の被嵌合部が設けられ、
前記第2のモータシャフトの下部には第2の被嵌合部が設けられ、
前記ドッグクラッチが前記移動範囲内における下部に移動したとき前記第1の嵌合部が前記第1の被嵌合部と嵌合しかつ前記第2の嵌合部と前記第2の被嵌合部との嵌合が解除され、前記ドッグクラッチが前記移動範囲内における上部に移動したとき前記第2の嵌合部が前記第2の被嵌合部と嵌合しかつ前記第1の嵌合部と前記第1の被嵌合部との嵌合が解除され、前記ドッグクラッチが前記移動範囲内における中間部に移動したとき前記第1の嵌合部が前記第1の被嵌合部と嵌合しかつ前記第2の嵌合部が前記第2の被嵌合部との嵌合することを特徴とする請求項2に記載の船舶推進機。
発明の詳細な説明
【技術分野】
【0001】
本発明は、船舶の推進力を生成する動力源にモータ(電動機)を用いた船舶推進機に関する。
続きを表示(約 2,000 文字)
【背景技術】
【0002】
船外機において、船体に取り付けた状態で水面下に位置する部分、すなわち船外機の下部にモータを設け、モータから後方に伸長するシャフトの後端部にプロペラを取り付けたものが知られている。この種の船外機は、船外機の下部にモータが配置されているため、大型のモータを採用した場合には、船外機の下部が大きくなり、航走時の水の抵抗が増大するおそれがある。そのため、この種の船外機においては、大型のモータを採用することが難しい。
【0003】
一方、特開2005-153727号公報(特許文献1)に記載されているように、船外機において、船体に取り付けた状態で水面よりも上方に位置する部分、すなわち船外機の上部にモータを設けたものが知られている。この種の船外機は、モータと、船外機の下部に設けられたプロペラシャフトとの間を上下方向に伸長するドライブシャフトを有し、このドライブシャフトにより、モータの出力をプロペラシャフトに伝達するように構成されている。この種の船外機においては、モータが船外機の上部に設けられているので、大型のモータを採用した場合でも、船外機の下部が大きくなることを抑制することができる。したがって、大型のモータを採用し易い。
【先行技術文献】
【特許文献】
【0004】
特開2005-153727号公報
【発明の概要】
【発明が解決しようとする課題】
【0005】
ところで、船舶の推進力を生成する動力源にモータを用いた船舶推進機において、航行中にモータが故障した場合、船舶を移動させることが困難になる。
【0006】
この点、船舶推進機に2機のモータを設け、一方のモータが故障した場合には、もう一方のモータで船舶を移動させる方法が考えられる。この方法は、例えば、第1のモータ、第2のモータ、および動力伝達機構を船舶推進機に設け、動力伝達機構により、第1のモータの出力がプロペラに伝達される状態から、第2のモータの出力がプロペラに伝達される状態に切り替えるようにすることで実現することができる。
【0007】
しかしながら、第1のモータ、第2のモータおよび動力伝達機構を船舶推進機に設けた場合、船舶の推進力を生成する動力源として1機のモータのみが設けられた船舶推進機と比較して、船舶推進機が大幅に大型化してしまうおそれがある。例えば、第1のモータ、第2のモータおよび動力伝達機構を船外機の下部に設けた場合には、船外機の下部が大幅に大きくなり、航走時の水の抵抗が増大するおそれがある。また、第1のモータ、第2のモータおよび動力伝達機構を船外機の上部に設けた場合でも、船外機の上部が大幅に大きくなり、航走時の空気抵抗が増大し、船外機の船体への取付の安定性が低下し、または船外機の外観が悪化してしまうおそれがある。
【0008】
本発明は例えば上述したような問題に鑑みなされたものであり、本発明の課題は、船舶推進機が大幅に大型化することを防ぎつつも、船舶の推進力を生成するモータが航行中に故障した場合に船舶の移動が困難化する可能性を低くすることができる船舶推進機を提供することにある。
【課題を解決するための手段】
【0009】
上記課題を解決するために、本発明は、動力を生成するパワーユニットと、プロペラと、前記パワーユニットにより生成された動力を前記プロペラに伝達するためのドライブシャフトとを備えた船舶推進機であって、前記パワーユニットは、第1のモータシャフトを有する第1のモータと、第2のモータシャフトを有する第2のモータと、前記第1のモータシャフトから出力された第1の動力および前記第2のモータシャフトから出力された第2の動力のうちのいずれか一方を前記ドライブシャフトに伝達し、前記ドライブシャフトに伝達する動力を前記第1の動力と前記第2の動力との間で切り替える動力伝達装置とを備え、前記第1のモータおよび前記第2のモータは当該船舶推進機の上部に配置され、前記第1のモータシャフト、前記第2のモータシャフトおよび前記ドライブシャフトはそれぞれ上下方向に伸長し、前記第2のモータは前記第1のモータの上方に配置され、前記ドライブシャフトの上部は前記第1のモータシャフトとは独立に回転可能に前記第1のモータシャフト内を通って前記第1のモータと前記第2のモータとの間に達し、前記動力伝達装置は前記第1のモータと前記第2のモータとの間に配置されていることを特徴とする。
【発明の効果】
【0010】
本発明によれば、船舶推進機が大幅に大型化することを防ぎつつも、船舶の推進力を生成するモータが航行中に故障した場合に船舶の移動が困難化する可能性を低くすることができる。
【図面の簡単な説明】
(【0011】以降は省略されています)
この特許をJ-PlatPat(特許庁公式サイト)で参照する
関連特許
スズキ株式会社
開閉機構
21日前
スズキ株式会社
車室構造
1か月前
スズキ株式会社
車両構造
1か月前
スズキ株式会社
車両構造
1か月前
スズキ株式会社
車室構造
1か月前
スズキ株式会社
車室構造
1か月前
スズキ株式会社
車両構造
1か月前
スズキ株式会社
車両構造
1か月前
スズキ株式会社
車両構造
1か月前
スズキ株式会社
車両構造
1か月前
スズキ株式会社
車両構造
1か月前
スズキ株式会社
車両構造
1か月前
スズキ株式会社
シート構造
21日前
スズキ株式会社
シート構造
21日前
スズキ株式会社
燃料電池車両
1か月前
スズキ株式会社
燃料電池車両
1か月前
スズキ株式会社
車両側部構造
29日前
スズキ株式会社
動力伝達装置
19日前
スズキ株式会社
車両制御装置
19日前
スズキ株式会社
車両検査装置
1か月前
スズキ株式会社
車両後部構造
1か月前
スズキ株式会社
運転支援装置
6日前
スズキ株式会社
車体ルーフ構造
1か月前
スズキ株式会社
車両の制御装置
1か月前
スズキ株式会社
車両の制御装置
今日
スズキ株式会社
車両用制御装置
1か月前
スズキ株式会社
車両用荷室構造
1か月前
スズキ株式会社
車両用制御装置
1か月前
スズキ株式会社
パーツボックス
6日前
スズキ株式会社
パーツボックス
6日前
スズキ株式会社
車両の制御装置
1か月前
スズキ株式会社
衝突被害軽減装置
1か月前
スズキ株式会社
車両の可動ゲート
1か月前
スズキ株式会社
車両用ルーフ構造
19日前
スズキ株式会社
電動車両の後部構造
1か月前
スズキ株式会社
電動車両の後部構造
1か月前
続きを見る
他の特許を見る