TOP
|
特許
|
意匠
|
商標
特許ウォッチ
Twitter
他の特許を見る
10個以上の画像は省略されています。
公開番号
2025073067
公報種別
公開特許公報(A)
公開日
2025-05-12
出願番号
2024144167
出願日
2024-08-26
発明の名称
時計の複数の機能を操作するための装置
出願人
オメガ・エス アー
代理人
個人
,
個人
,
個人
主分類
G04B
27/00 20060101AFI20250501BHJP(時計)
要約
【課題】作動ツールを必要とせずにこの時計の機能を操作することを可能にする操作装置を提供する。
【解決手段】時計のための操作装置1であって、装置1の支持片3内に移動可能に取り付けられた制御部材2を備え、支持片3は、時計の時計ムーブメントに対して動かないように意図され、制御部材2は、把持要素7と、把持要素7に剛接合されるように取り付けられた駆動要素8と、駆動要素8によって回転可能な伝達部材31とを備え、伝達部材31は、時計の第1の機能を操作するために、機械的エネルギーを蓄積することができる、装置1の手動巻き上げ機構を作動させるための部材と協働するように、かつ時計の第2の機能を制御するために装置1の針設定部材と協働するように構成され、駆動要素8は、前記時計の第3の機能及び第4の機能を操作するために装置1の操作部材4と協働するように構成される。
【選択図】図3
特許請求の範囲
【請求項1】
時計のための操作装置(1)であって、この装置(1)の支持片(3)内に移動可能に取り付けられた制御部材(2)を備え、前記片(2)は、前記時計の時計ムーブメントに対して動かないように意図され、前記制御部材(2)は、把持要素(7)と、前記把持要素(7)に剛接合されるように取り付けられた駆動要素(8)と、前記駆動要素(8)によって回転可能な伝達部材(31)とを備え、前記伝達部材(31)は、前記時計の第1の機能を操作するために、機械的エネルギーを蓄積することができる、前記装置(1)の手動巻き上げ機構を作動させるための部材と協働するように、かつ前記時計の第2の機能を制御するために前記装置(1)の針設定部材と協働するように構成され、前記駆動要素(8)は、前記時計の第3の機能及び第4の機能を操作するために前記装置(1)の操作部材(4)と協働するように構成される、操作装置(1)。
続きを表示(約 2,000 文字)
【請求項2】
前記制御部材(2)は、前記時計の第1、第2、第3及び第4の機能を実行するための第1、第2及び第3の制御位置の間でその縦軸(A)に対して軸方向に移動するように構成される、請求項1に記載の装置(1)。
【請求項3】
前記制御部材(2)は、前記時計の第1の機能を実行するために前記伝達部材(31)の一端と前記作動部材との間に前記制御部材(2)の回転運動を前記作動部材に伝達するための機械的リンクが確立される、第1の制御位置に配置される、請求項1に記載の装置(1)。
【請求項4】
前記制御部材(2)は、前記時計の第2の機能を実行するために前記伝達部材(31)の一端と前記針設定部材との間に前記制御部材(2)の回転運動を前記針設定部材に伝達するための機械的リンクが確立される、第2の制御位置に配置される、請求項1に記載の装置(1)。
【請求項5】
前記制御部材(2)は、前記時計の第1、第2、第3及び第4の機能を実行するための第1、第2及び第3の制御位置の間でその縦軸(A)に対して軸方向に移動するように構成され、前記制御部材(2)が前記第1の制御位置及び前記第2の制御位置に配置されたときに、前記駆動要素(8)及び前記伝達部材(31)の駆動ゾーン(33、34)がそれぞれ、前記把持要素(7)から前記伝達部材(31)に回転運動を伝達するように互いに結合される、請求項1に記載の装置(1)。
【請求項6】
前記制御部材(2)は、前記時計の第3の機能又は第4の機能を実行するために前記制御部材(2)の駆動要素(8)の自由端と前記装置(1)の操作部材(4)のケーシングリング(29)内に移動可能に取り付けられたリング(10)との間に前記制御部材(2)の回転運動を前記リング(10)に伝達するための機械的リンクが確立される、第3の制御位置に配置される、請求項1に記載の装置(1)。
【請求項7】
前記制御部材(2)は、前記時計の第3の機能又は第4の機能を実行するために前記制御部材(2)の駆動要素(8)の自由端と前記装置(1)の操作部材(4)のケーシングリング(29)内に移動可能に取り付けられたリング(10)との間に前記制御部材(2)の回転運動を前記リング(10)に伝達するための機械的リンクが確立される、第3の制御位置に配置され、前記制御部材(2)が前記第3の制御位置に配置されたときに、前記駆動要素(8)及び前記伝達部材(31)の駆動ゾーン(33、34)がそれぞれ、前記把持要素(7)から前記伝達部材(31)に回転運動を伝達するように互いに分離される、請求項1に記載の装置(1)。
【請求項8】
前記制御部材(2)は、前記時計の第3の機能又は第4の機能を実行するために前記制御部材(2)の駆動要素(8)の自由端と前記装置(1)の操作部材(4)のケーシングリング(29)内に移動可能に取り付けられたリング(10)との間に前記制御部材(2)の回転運動を前記リング(10)に伝達するための機械的リンクが確立される、第3の制御位置に配置され、前記制御部材(4)のリング(10)は、前記第3の機能及び第4の機能を実行する前記時計の時計ムーブメントの機構を作動させるように構成される、請求項1に記載の装置(1)。
【請求項9】
前記制御部材(2)は、前記時計の第3の機能又は第4の機能を実行するために前記制御部材(2)の駆動要素(8)の自由端と前記装置(1)の操作部材(4)のケーシングリング(29)内に移動可能に取り付けられたリング(10)との間に前記制御部材(2)の回転運動を前記リング(10)に伝達するための機械的リンクが確立される、第3の制御位置に配置され、前記ケーシングリング(29)は、その内周壁(15b)に、前記リング(10)と前記駆動要素(8)の自由端との協働のための協働ゾーン(11)を備え、前記ゾーン(11)は、前記ケーシングリング(29)内に移動可能に取り付けられたこのリング(10)の移動経路を画定する停止要素(28)を備える、請求項1に記載の装置(1)。
【請求項10】
前記制御部材(2)は、前記時計の第3の機能又は第4の機能を実行するために前記制御部材(2)の駆動要素(8)の自由端と前記装置(1)の操作部材(4)のケーシングリング(29)内に移動可能に取り付けられたリング(10)との間に前記制御部材(2)の回転運動を前記リング(10)に伝達するための機械的リンクが確立される、第3の制御位置に配置され、前記ケーシングリング(29)は、前記ケーシングリング(29)の内周壁及び外周壁(15a、15b)を互いに接続する貫通穴(12)を備え、前記穴(12)は、前記駆動要素(8)の作動部(9b)を通過させるためのゾーン(24a、24b)を含む。請求項1に記載の装置(1)。
(【請求項11】以降は省略されています)
発明の詳細な説明
【技術分野】
【0001】
本発明は、時計製造の分野に関し、特に、竜頭などの単一の制御部材を用いて時計の複数の機能を操作するための装置に関する。
続きを表示(約 3,200 文字)
【背景技術】
【0002】
従来技術において、押しボタンなどの操作装置が、特定の時計、特に多数の機能を含み得る多数の複雑機構を有すると言われる時計に取り付けられることが知られている。これらの押しボタンは、典型的には時計のミドル部に埋め込まれる小型の押しボタンを含む様々なタイプのものである。
【0003】
この種の小型の押しボタンは、通常は非常に小さく、特にこれらの時計の場合、スペースを節約する。さらに、それらはミドル部から突出していないため、意図せずに作動する可能性が低い。
【0004】
しかしながら、このような押しボタンの欠点の1つは、時刻、日付、月相、又は月の特定の日の設定などの時計機能を操作するための操作を行う際に、必ず先の尖った作動ツールの使用を必要とすることである。より具体的には、このような使用は、時計ケースに損傷を与え、その結果その美的外観を変えてしまうというかなりのリスクを伴う。
【0005】
このような状況において、従来技術のこれらの欠点を克服するための解決策を見出す必要があることは明らかである。
【発明の概要】
【発明が解決しようとする課題】
【0006】
本発明の目的の1つは、時計のための操作装置であって、作動ツールを必要とせずにこの時計の機能を操作することを可能にする操作装置を提供することである。
【課題を解決するための手段】
【0007】
本発明は、時計のための操作装置であって、この装置の支持片内に移動可能に取り付けられた制御部材を備え、前記支持片は、時計の時計ムーブメントに対して動かないように意図され、前記制御部材は、把持要素と、前記把持要素に剛接合されるように取り付けられた駆動要素と、前記駆動要素によって回転可能な伝達部材とを備え、前記伝達部材は、時計の第1の機能を操作するために、機械的エネルギーを蓄積することができる、装置の手動巻き上げ機構を作動させるための部材と協働するように、かつ時計の第2の機能を制御するために装置の針設定部材と協働するように構成され、前記駆動要素は、時計の第3の機能及び第4の機能を操作するために前記装置の操作部材と協働するように構成される、操作装置に関する。
【0008】
他の実施形態において、
・制御部材は、時計の第1、第2、第3及び第4の機能を実行するための第1、第2及び第3の制御位置の間でその縦軸に対して軸方向に移動するように構成される。
・制御部材は、時計の第1の機能を実行するために制御部材の回転運動を前記作動部材に伝達するための機械的リンクが伝達部材の一端と作動部材との間に確立される第1の制御位置に配置される。
・制御部材は、時計の第2の機能を実行するために制御部材の回転運動を前記針設定部材に伝達するための機械的リンクが伝達部材の一端と針設定部材との間に確立される第2の制御位置に配置される。
・駆動要素及び伝達部材の駆動ゾーンはそれぞれ、制御部材が第1の制御位置及び第2の制御位置に配置されたときに把持要素から伝達部材に回転運動を伝達するように互いに結合される。
・制御部材は、制御部材の駆動要素の自由端と、前記装置の操作部材のケーシングリング内に移動可能に取り付けられたリングとの間に、時計の第3の機能又は第4の機能を実行するために制御部材の回転運動を前記リングに伝達するための機械的リンクが確立される、第3の制御位置に配置される。
・駆動要素及び伝達部材の駆動ゾーンはそれぞれ、制御部材が第3の制御位置に配置されたときに把持要素から伝達部材への回転運動の伝達を防止するために互いに分離される。
・制御部材のリングは、前記第3の機能及び第4の機能を実行する時計の時計ムーブメントの機構を作動させるように構成される。
・ケーシングリングは、その内周壁に、リングと駆動要素の自由端との協働のための協働ゾーンを備え、前記協働ゾーンは、ケーシングリング内に移動可能に取り付けられたこのリングの移動経路を画定する停止要素を備える。
・ケーシングリングは、前記ケーシングリングの内周壁と外周壁とを接続する貫通穴を備え、貫通穴は、駆動要素の作動部を通過させるためのゾーンを含む。
・通過ゾーンは、駆動要素の作動部の主要部分を前記穴に配置するように構成された中央部と、この作動部の連結要素が前記ケーシングリングの本体を通ることを可能にする通路を形成する偏心部とを備える。
・リングは、時計の第3の機能又は第4の機能を実行する機構を作動させるように構成された制御部材の旋回要素を作動させるための要素を備える。
・制御部材は、リングを自動的に休止位置に戻すように構成された第1の弾性戻り要素を備える。
・第1の制御位置は、第2の位置と第3の位置との間にある。
・駆動ゾーンは、駆動要素の内面に形成され、駆動ゾーンは、伝達部材の外面に形成される。
【0009】
本発明はさらに、このような操作装置を備える時計に関する。
【図面の簡単な説明】
【0010】
本発明の他の特徴及び利点は、添付の図面を参照して例示目的で提供される、本発明の非限定的な特定の実施形態に関する以下の説明を読むことで、よりよく理解されるであろう。
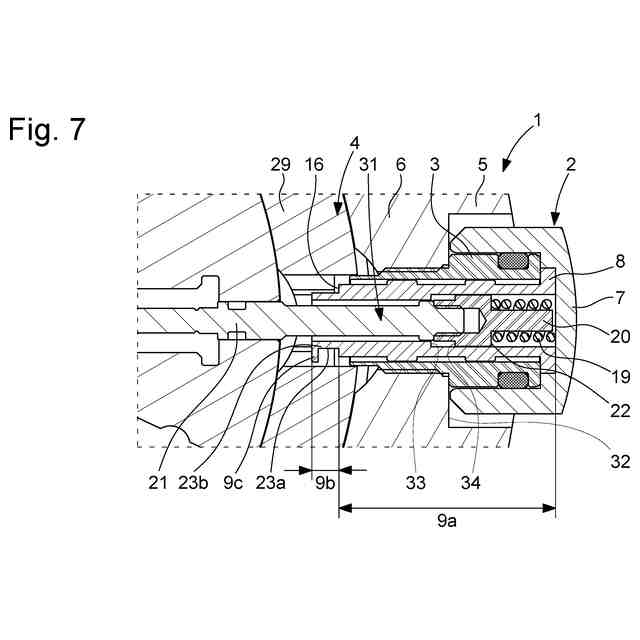
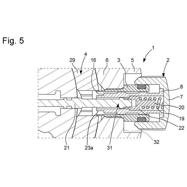
本発明の一実施形態による、時計の複数の機能を操作するための装置の異なる図を示し、装置は、制御部材と、操作部材などの少なくとも1つの機能部材とによって形成される。
本発明の一実施形態による、時計の複数の機能を操作するための装置の異なる図を示し、装置は、制御部材と、操作部材などの少なくとも1つの機能部材とによって形成される。
本発明の一実施形態による、時計の複数の機能を操作するための装置の異なる図を示し、装置は、制御部材と、操作部材などの少なくとも1つの機能部材とによって形成される。
本発明の実施形態による、時計の第1の機能を制御するための第1の軸方向位置に配置されたこの操作装置の制御部材の図を示す。
本発明の実施形態による、時計の第2の機能を制御するための第2の軸方向位置に配置されたこの操作装置の制御部材の図を示す。
本発明の実施形態による、時計の第3の機能を制御するための第3の軸方向位置に配置されたこの操作装置の制御部材の図を示す。
本発明の実施形態による、時計の第4の機能を制御するための第3の軸方向位置に配置されたこの操作装置の制御部材の図を示す。
本発明の実施形態による、操作装置の操作部材のケーシングリングの外周壁の一部分の図を示し、前記部分は、時計の第3の機能及び第4の機能を操作するための制御部材の駆動要素の自由端を通過させるための少なくとも1つのゾーンを有する貫通穴を備える。
本発明の実施形態による、時計の第3の機能及び第4の機能を操作するために回転駆動要素の自由端が貫通穴の対応する通過ゾーンに挿入されたときのケーシングリングの外周壁の一部の図を示す。
本発明の実施形態による、第3の機能を操作するために制御部材を回転させた後にこの制御部材を第3の軸方向制御位置に配置した図を示す。
本発明の実施形態による、第4の機能を操作するために制御部材が回転した後にこの制御部材を第3の軸方向制御位置に配置した図を示す。
【発明を実施するための形態】
(【0011】以降は省略されています)
この特許をJ-PlatPat(特許庁公式サイト)で参照する
関連特許
オメガ・エス アー
時計の複数の機能を操作するための装置
5か月前
オメガ・エス アー
金で作られた計時器、宝石又はジェムストーンジュエリ
2か月前
オメガ・エス アー
時計、計器、機械式ムーブメント、機械式ムーブメントまたは計器用の金属シャフト及びその製造方法
2か月前
個人
砂時計
1か月前
個人
時刻同期システム
1か月前
セイコーウオッチ株式会社
時計
18日前
セイコーエプソン株式会社
電子時計
2か月前
セイコーエプソン株式会社
電子時計
18日前
ローム株式会社
時間測定回路
19日前
株式会社村田製作所
光学的パターン表示物品
24日前
シチズン時計株式会社
腕時計
17日前
セイコーエプソン株式会社
電子制御式機械時計
26日前
シチズン時計株式会社
電子時計
1か月前
シチズン時計株式会社
機械式時計
1か月前
カシオ計算機株式会社
装飾板及び時計
25日前
セイコータイムクリエーション株式会社
からくり時計
24日前
セイコーエプソン株式会社
機械式時計
1か月前
カシオ計算機株式会社
制御装置、制御方法、及びプログラム
25日前
カシオ計算機株式会社
機器ケース及び時計
1か月前
カシオ計算機株式会社
機器ケース及び時計
2か月前
セイコーエプソン株式会社
時計および風防部材の製造方法
19日前
セイコーエプソン株式会社
インデックス、文字板、及び時計
1か月前
カシオ計算機株式会社
電子時計及び電子時計本体
1か月前
カシオ計算機株式会社
外装部品ユニット及び時計
24日前
セイコーウオッチ株式会社
時計、音声再生方法およびプログラム
1か月前
カシオ計算機株式会社
電子時計、外装部材及びバンド
1か月前
カシオ計算機株式会社
指針、時計、及び指針の製造方法
1か月前
セイコーエプソン株式会社
時計用部品、および、時計
1か月前
東邦瓦斯株式会社
ウェアラブル機器用防熱カバー
2か月前
カシオ計算機株式会社
時計、表示制御方法及びプログラム
1か月前
セイコーエプソン株式会社
時計用部品、時計および時計用部品の製造方法
2か月前
カシオ計算機株式会社
外装部品、外装部品ユニット及び時計
24日前
セイコーウオッチ株式会社
スイッチ機構、時計用ムーブメントおよび時計
18日前
カシオ計算機株式会社
電子時計、針位置検出方法及びプログラム
1か月前
ロレックス・ソシエテ・アノニム
時計制御装置
2か月前
シチズン時計株式会社
表示車、時計用ムーブメント及び時計
17日前
続きを見る
他の特許を見る